-
PH44TC耐磨陶瓷排渣止回阀SH
详细信息| 询价留言PH44TC耐磨陶瓷排渣止回阀产品说明
耐磨陶瓷排渣止回阀PH44TC产品设计制造标准符合DL/T530,上海申弘阀门有限公司主营阀门有:减压阀(气体减压阀,可调式减压阀,水减压阀《水力除灰排渣技术条件》该产品适用于火力发电 厂水除灰系统,冶金、工业炼钢、沙尘污水处理、轧钢铁皮汗水处理、煤矿渣、水渣处理和矿山工业选矿的管路上作为启闭装置,该产品具有结构合理,性能可靠操 作轻便使用寿命长等特点。启闭件靠介质流动和力量自行开启或关闭,以防止介质倒流的阀门叫止回阀。止回阀属于自动阀类,主要用于介质单向流动的管道上,只 允许介质向一个方向流动,以防止发生事故。

PH44TC耐磨陶瓷排渣止回阀使用条件:1、使用介质:灰渣水混合物,矿山、冶金、电力、化工、污水排放等行业输送矿浆、砂浆、污水。排渣止回阀应用领域:矿山电厂的选煤、排渣、食品、造纸、医药、化工等管路上。
PH44H排渣止回阀适用介质:接通或截断管路中的水泥浆、金矿粉、矿砂、炉渣、煤泥、纸浆、木浆、尾矿、纤维、粉尘、化学品处理污水、沉淀池、沥青、料仓出口等介质。
陶瓷排渣止回阀可大大的提高工业管道系统的流畅性,密封性。提高配套设备运行系统的安全性,稳定性,对环保节能,环境保护将起到积极的推进作用。结构陶瓷材料变型量少,抗拉强度、抗压强度、硬度都非常高,在化工,煤炭,石油等等恶劣环境下金属阀门已不能适应高磨损、强腐蚀等恶劣工况的需求,主要体现在金属阀易泄露、扭矩大、密封面不耐腐蚀的情况。传统的金属阀门急需从材料、设计及加工工艺等方面的彻底革新。 将陶瓷材料应用于工业阀门是一项大胆和有益的创新。 陶瓷阀使用高性能结构陶瓷,它具有良好的自洁性,超耐磨,强腐蚀,自润滑性强,使用寿命长,使用环境广,尤其适合用在化工行业。

二、排渣止回阀的性能特点:
1、采用中法兰螺栓连接,支管两端为法兰连接或对焊连接。
2、启闭件采用半密封副强制密封,性能优良。
3、密封副材料为耐磨陶瓷或耐磨合金,耐磨性强,耐磨性强、耐用冲蚀、耐擦伤、摩擦力小、密封可靠。
4、阀体出口流道结型合理,不存渣,启闭灵活,不卡阻。
5、阀杆经调质和表面氮化处理,有良好的搞腐蚀性,抗擦伤性和耐磨性。
6、中大口径设置滚动轴承,启闭轻松。
2、使用工作温度≤200℃.
3.主要适用于不超过6.4MPa
PH44TC耐磨陶瓷排渣止回阀主要零件材料 :
阀体:ASTMA216 WCB
阀瓣:铸钢+不锈钢(堆焊516)
阀盖:ASTM A216 WCB
设计制造标准:DL/T530.产品名称:排渣止回阀
PH44TC耐磨陶瓷排渣止回阀主要性能规范 Chief property and specification
型号
Type公称压力
PN/MPa
Nominal
Dressure试验压力/MPa
Test Dressure工作温度/℃
Working
tempe-
rature工作压力/MPa
Working
oressure适用介质
Appicabie
medium壳体
密封 Sealing
PH44H-10C
1.O
1.5
1.1
≤200
10
灰渣
混合物PH44H-16C
1.6
2.4
1.76
16
PH44H-25
2.5
3.8
2.8
2.5
PH44TC耐磨陶瓷排渣止回阀主要尺寸及重量:
型号
公称通径
DN(mm)主要尺寸(mm)
重量
(Kg)L
D
D1
D2
Z-φd
b
f
H
PH44H-10C
80
241
200
160
132
8-φ18
20
3
260
48
100
292
220
180
156
8-φ18
20
3
270
63
150
356
285
240
212
8-φ22
22
290
120
200
495
340
295
268
8-φ22
22
345
200
250
622
395
350
320
12-φ22
24
412
250
300
698
445
400
370
12-φ22
26
468
320
350
787
505
460
430
16-φ22
28
4
524
400
400
900
565
515
482
16-φ26
30
600
517
450
918
615
565
532
20-φ26
32
670
610
500
978
670
620
585
20-φ26
34
750
705
PH44H-16C
80
241
200
160
132
8-φ18
20
3
260
48
100
292
220
180
156
8-φ18
20
270
63
150
356
285
240
212
8-φ22
24
290
130
200
495
340
295
268
12-φ22
24
345
210
250
622
405
355
320
12-φ26
26
412
260
300
698
460
410
370
12-φ26
28
4
468
330
350
787
520
470
429
16-φ26
30
524
415
400
900
580
525
480
16-φ30
32
600
532
450
918
640
585
548
20-φ30
34
670
625
500
978
715
650
609
20-φ30
36
750
720
PH44H-25
80
318
200
160
132
8-φ18
24
3
260
48
100
356
235
190
156
8-φ22
24
270
65
150
444
300
250
212
8-φ26
28
290
140
200
535
360
310
278
8-φ26
30
4
345
230
250
622
425
370
335
8-φ26
32
412
280
300
711
485
430
390
8-φ30
34
648
350
350
838
555
490
450
8-φ33
38
524
440
400
864
620
550
505
8-φ36
40
600
550
450
978
670
600
555
8-φ36
42
670
650
500
1016
730
660
615
8-φ36
44
750
745

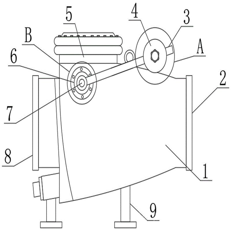
本实用新型公开了一种耐磨陶瓷排渣止回阀,包括阀体和阀盖,所述阀体和阀盖通过紧固螺丝固定连接,所述阀体和阀盖连接处设置有垫片,所述阀体和阀盖内壁均设有陶瓷壁,所述阀体的左侧为进水口,所述阀体的右侧为出水口,所述阀体内部的左侧固定连接有旋转轴,所述旋转轴上转动连接有摇杆,所述摇杆的一端固定连接有阀瓣,所述阀体内部的右侧固定连接有弹簧杆,所述弹簧杆的一端设有滚轮.该耐磨陶瓷排渣止回阀,通过密封圈为耐腐蚀橡胶密封圈,增强了止水阀耐腐蚀和不易回流的效果,通过阀体内壁和阀瓣均为结构陶瓷,避免了与介质接触而腐蚀,且使用寿命大大提高,还具有高硬度,高氧化性,高耐磨性的优点,可用于各种复杂工业.

与普通金属止回阀不同的是,陶瓷止回阀采用结构陶瓷做密封副,阀门与介质接触部分材质均采用结构陶瓷材料,避免与介质直接接触而产生腐蚀的可能陶瓷排渣 止回阀启闭件靠介质流动和力量自行开启或关闭,以防止介质倒流的阀门叫止回阀。止回阀属于自动阀类,主要用于介质单向流动的管道上,只允许介质向一个方向流动,以防止发生事故。陶瓷排渣 止回阀选用了增韧陶瓷材料作为密封材料,耐腐蚀、耐高温、耐磨损及耐冲蚀等性能更佳。陶瓷排渣 止回阀主要适用于不超过4.0MPa、工作温度≤280℃的矿山、冶金、电力、化工、污水排放等行业输送矿浆、砂浆、污水。

订货须知:
一、①产品名称与型号②口径③是否带附件以便我们的为您正确选型④使用压力⑤使用介质的温度。
二、若已经由设计单位选定公司型号,请型号直接向我司销售部订购。三、当使用的场合非常重要或环境比较复杂时,请您尽量提供设计图纸和详细参数,由我们的阀门公司专家为您审核把关。如有疑问:请来电咨询我们一定会尽心尽力为您提供优质的服务。
-
联系方式
- 联系人:申弘阀门
- 电 话:021-59260058
- 手 机:15901754341
- 传 真:86-021-31662735
- 邮 箱:494522509@qq.com
- 邮 编:201718
- 地 址:上海市青浦区金泽工业园区
- 网 址: https://bengye.cn.goepe.com/
http://www.021-fm.com
-
产品搜索





