-
H42H立式止回阀申弘
详细信息| 询价留言H42H立式止回阀产品说明
本实用新型涉及一种立式止回阀。主要解决现有立式止回阀在使用时,存在密封性较差、使用寿命短以及耐磨性低的问题。该止回阀包括阀体、阀杆、阀瓣以及阀座,所述阀体的上端固定有支架,所述支架的下端部设有通孔,所述阀杆穿过所述通孔,所述阀瓣固定于阀杆的下端部,所述阀座固定于所述阀体的内壁上,所述阀瓣位于阀座的上端面,所述阀瓣的端面设有外小内大的梯形槽,所述梯形槽内注塑有密封件,所述密封件的端面与阀座的上端面相贴合。该立式止回阀采用在阀瓣上设置橡胶或聚四氟乙烯材料制成的密封件,在使用时,密封件不易脱离,密封效果好,且还具有防腐蚀效果,具有使用寿命长的优点。

本实用新型涉及一种立式止回阀。现有技术中,为便于阀门的安装和拆卸,立式止回阀的后面需设置伸缩节来调整间隙,其弊端在于使用成本较高。 H42H立式止回阀正常处于关闭状态,由于管线中进口端介质的压力作用,而克服弹簧阻力使阀门开启。当进口端介质压力低于出口端时,弹簧将阀芯推向阀座而使阀门关闭,阻止介质逆流,故起止回作用。
【H42H立式止回阀产品特点】:
1、阀瓣围绕阀座外的销轴旋转,减少关闭时发生猛烈冲击。
2、产品设计制造按GB12236设计标准,结构合理,密封可靠,外形美观。
3、销轴与阀瓣连接采用内装式的销轴结构,减小外泄漏点,使用更可靠。
4、可采用各种配管法兰标准及法兰密封面型式,满足各种工程需要及用户要求。
5、阀瓣、阀座的密封面采用硬质合金堆焊而成,耐磨、耐高温,抗擦伤性能好、使用寿命长。
6、阀体材料品种齐全,填料、垫片根据实际工况或用户要求合理选配,能适用于各种压力、温度及介质工况。
【H42H立式止回阀产品其他参数】:
实用新型内容本实用新型的目的就是为了解决上述问题,提供一种立式止回阀。 为了实现上述目的,本实用新型采用如下技术方案一种立式止回阀,包括阀体,其具有一个出口端和一个入口端,阀体的出口端面设有螺栓以及与之配合的螺母,所述螺栓设有定位块,其特征在于,
立式止回阀:由于管线中进口端介质的压力作用,而克服弹簧阻力使阀门开启或关闭。当进口端介质压力低于出口端时,弹簧将阀芯推向阀座而使阀门关闭,阻止介质逆流,故起止回作用。立式止回阀广泛使用于化工、液化石油气、流体等行业。目前,市场上的立式止回阀随着阀瓣的升降,阀瓣与阀座之间的密封性能降低,容易出现泄漏等情况,产品的使用寿命受到影响。

H42H立式止回阀技术参数:
型号 公称 试验压力 工作温度(℃) 压力 强度 密封 低压密封 (水)Mpa (水)空气(Mpa) (空气)Mpa H42H-16C 1.6 2.4 1.8 0.6 ≤425 H42H-25C 2.5 3.8 2.8 0.6 ≤425 H42H-40C 4 6 4.4 0.6 ≤425 型号+(材质) 公称压力 PN(MPa) 试验压力P3(MPa) 适用温度(℃) 适用介质 壳体 密封 H42H-16C(碳钢) 1.6 2.4 1.76 ≤425 水、油品 H42H-16P(304) ≤200 弱腐蚀介质 H42H-25P(304) 2.5 3.75 2.75 H42H-25R(316) 腐蚀性介质 H42H-40P(304) 4 6 4.4 弱腐蚀性介质 H42H-40R(316) 腐蚀性介质 H42Y-40I(铬钼钢) ≤550 水、油品 六、H42H立式止回阀主要零部件材料:
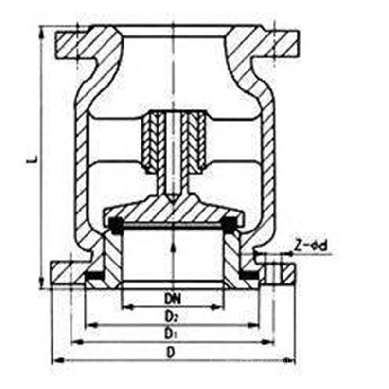
件名称 阀体、阀瓣 导向阀 密封面 H42H-16C 碳钢 碳钢 堆焊D507 H42H-16P 铬镍钛不锈钢 铬镍钛不锈钢 铬镍钛不锈钢 H42H-25P H42H-40P H42H-25R 铬镍钼钛不锈钢 铬镍钼钛不锈钢 铬镍钼钛不锈钢 H42H-40R H42Y-40I 铬钼钢 铬钼钢 堆焊硬质合金 H42H立式止回阀外形尺寸

☆1.6MPa主要连接尺寸及重量尺寸
DN
15
20
25
32
40
50
65
80
100
125
150
200
L
mm
105
105
105
150
160
170
180
200
210
275
300
380
D
mm
95
105
115
135
145
160
180
195
215
245
280
335
重量
kg
-
-
-
-
-
7.9
11
12
19.5
36
47
65
☆2.5MPa主要连接尺寸及重量
尺寸
DN
20
25
32
40
50
65
80
100
125
150
200
L
mm
105
105
150
160
170
180
200
210
275
300
380
D
mm
105
115
135
145
160
180
195
230
275
300
360
重量
kg
-
-
-
-
7.9
11
12
20
38
48
70
☆4.0MPa主要连接尺寸及重量
尺寸
DN
50
65
80
100
125
150
200
L
mm
170
180
200
210
275
300
380
D
mm
160
180
195
230
270
300
375
重量
kg
7.9
11
12
20
38
48
72
摘要本实用新型公开了一种立式止回阀,包括阀体,其具有一个出口端和一个入口端,阀体的出口端面设有螺栓以及与之配合的螺母,所述螺栓设有定位块,其特征在于,所述阀体的出口端设有伸缩套,该伸缩套一端设于阀体出口内,伸缩套与阀体出口间适配使得伸缩套能够沿阀体出口内腔前后滑动,位于阀体出口与伸缩套间设有密封圈,本实用新型的有益效果是本实用新型无需使用时再连接伸缩节,能够通过自身的伸缩套调节间隙,降低使用成本。

订货须知:
一、①产品名称与型号②口径③是否带附件以便我们的为您正确选型④的使用压力⑤的使用介质的温度。
二、若已经由设计单位选定公司的型号,请按型号直接向我司销售部订购。三、当使用的场合非常重要或环境比较复杂时,请您尽量提供设计图纸和详细参数,由我们的阀门公司专家为您审核把关。如有疑问:请:我们一定会尽心尽力为您提供优质的服务。提供全面、*的“阀门系统解决方案",也十分愿意帮助用户解决生产中所遇到的难题。
-
联系方式
- 联系人:申弘阀门
- 电 话:021-59260058
- 手 机:15901754341
- 传 真:86-021-31662735
- 邮 箱:494522509@qq.com
- 邮 编:201718
- 地 址:上海市青浦区金泽工业园区
- 网 址: https://bengye.cn.goepe.com/
http://www.021-fm.com
-
产品搜索






