-
Q967F电动全焊接球阀申弘
详细信息| 询价留言Q967F电动全焊接球阀产品说明
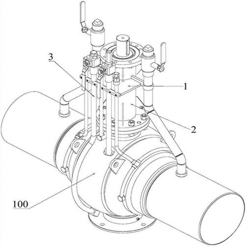
由回转型角行程电动执行器和焊接球阀结构组成,属旋转类型**调节或开关阀类,接受工业自动化控制(DCS, PLC系统)仪表来源的电流信号或电压信号的输入输出,可实现对工艺管路中流体介质的比例调节或二位开关控制,通常用于管道介质的远程开关或调节控制,是对阀门实现远控、集控和自控必不可少的驱动装置在轴的端面以及阀体接管法兰面施加Y方向位移约束;为了防止球垫产生移 动,在球垫外周施加Y方向和Z方向位移约束,允许其在流体流动方向产生变形。本实用新型涉及高压球阀,尤其是涉及一种平衡式高压球阀。 焊接式球阀的关闭件是个球体,它是依靠球体绕阀体中心线作90度旋转来达到开启、关闭的一种阀门。直通式球阀在管路中主要用来做切断介质的。结构形式有二片式和三片式,对接焊方式有承插焊、坡口焊、平。

对焊球阀是近年来被广泛采用的一种新型阀门,此阀可水平安装或垂直安装。球阀主要用于接通或阻断管路介质,尤以用在要求迅速开闭的部位更佳,如应急卸荷等处。由于其具有结构简单,零件少,重量轻,应用日趋广泛。结构:主要由阀体、阀盖、密封阀座、球体和阀杆等组成。带孔的球体是球阀的阀芯,球体受阀杆的转动来控制启闭,旋转即是全程的开关。球阀可分为浮动球阀和固定球阀两大类。浮动球阀的特点是球体可以自由浮动。根据密封座结构不同又分为固定密封座和带活动密封座两种。固定密封阀座的浮动球阀,在阀体内装有两个四氟制成的固定密封阀座,在两间座之间夹紧一个由碳钢或不锈钢制成的浮动球,球体上有圆形通孔,开后时,通道打开;当阀杆转动时,球孔垂直于阀门的通道,靠介质的压力将球体紧压在后面的阀座上,保证阀门的密封性能。

Q967F电动全焊接球阀特点:
a. 流体阻力小,其阻力系数与同长度的管段相等。
b. 结构简单、体积小、重量轻。
c. 紧密可靠,目前球阀的密封面材料广泛使用塑料、密封性好,在真空系统中也已广泛使用。
d. 操作方便,开闭迅速,从全开到全关只要旋转90°,便于远距离的控制。
e. 维修方便,球阀结构简单,密封圈一般都是活动的,拆卸更换都比较方便。
f. 在全开或全闭时,球体和阀座的密封面与介质隔离,介质通过时,不会引起阀门密封面的侵蚀。
背景技术:
在背景技术领域中,石油防爆器控制装置的液压系统主油路与蓄能器之间的接通与断开,一般采用高压球阀,由于其控制阀芯轴向液压力不平衡,致使启闭力大,作业稳定性差,启闭不方便;在高压下主油路与蓄能器之间的油路断开后,蓄能器侧连接容腔不能泄压,这样必然存在不安全的隐患。
本发明对球阀在不同计算工况下和操作状态下球垫片密封比压进行分析。经有限 元分析,球垫片密封比压满足必须比压和许用比压要求,因此,球阀密封性能符合要求。 以上所述仅为本发明的优选实施例而已,并不用于限制本发明,尽管参照前述实 施例对本发明进行了详细的说明,对于本领域的技术人员来说,其依然可以对前述各实施 例所记载的技术方案进行修改,或者对其中部分技术特征进行等同替换。凡在本发明的精 神和原则之内,所作的任何修改、等同替换、改进等,均应包含在本发明的保护范围之内。全焊接球阀在各个领域使用都非常广泛,其优越的品质和高性能的稳定性是普通铸钢球阀所无法达到的,全焊接球阀使用寿命远远大于铸钢球阀,全焊接球阀广泛应用于城市燃气、城市供 热、石油化工、造船、钢铁、调压站、发电厂等各类管道设备上。全焊接球阀可以直埋于地下,不用建高大阀门井减少工程造价,同时也可以避免操作阀门时造成人员的伤害,全焊接球阀能长期可靠运行使用, 在阀门正常操作使用的情况下,质保期10 年。

Q967F电动全焊接球阀应用场合:
城市燃气:燃气输出管道、主干线及各支线供应管道等。
集中供热:大型供热设备输出管线、主干线、支线。
热交换机:管道及各回路启闭。
钢铁厂: 各种流体管道、废气排放管道、煤气和热力供应管道、燃料供应管道。
各种工业设备:各种热处理管道、各种工业煤气和热力管道。
全焊接球阀性能:
1):不需要维护,调整及润滑,易于安装,在低运行费用下长期可靠运行。表面采用喷塑处理技术,光泽美观,在国内已处于高水平。不会有外部泄漏等现象。阀体是焊接结构,所以阀门重量轻且易于进行绝缘。安装调节机构,非常简便,操作手柄可以拆下,换向安装。
2):由于阀座是由碳纤维增强特氟隆密封环及碟形簧构成的,所以对压力和温度的变化适应能力强,在标注压力和温度范围内不会产生任何泄滑。
3):球体的加工过程有先进的计算机检测仪跟踪检测,所以球体的加工精度高。
4):由于阀体材料跟管道材质一样,不会出现应力不均,也不会由于地震及车辆经过地面时而产生变形,管道耐老化。
5):整体式全焊接,等径及变径通道,采用固定球及浮动球,双活塞效应密封系统,自动
注入密封剂式轴承。
6):为了防止静电,阀杆与球体以及阀杆与填料箱之间分别装有钢球和弹簧,可以保持阀门所有零件与阀体的导电,让电流通过区,释放静电。不仅防止火灾,而且防止腐蚀,实现临时性切断,以便及时检修。
7):阀杆防脱功能是因为阀杆受阀内压力影响,总产生脱离的力所以阀杆设计成防脱结构。
8):用低摩擦材料的止推垫圈支撑将压力推向阀杆,使阀杆仅仅起到传递扭矩的作用。

本发明提供一种大口径全焊接球阀密封性能有限元分析建模方法,S1、对焊接球阀球垫建立有限元模型;得到球阀球体与球垫之间密封面应力的有限元分析结果。本发明能同时模拟结构、热、流体以及各种物理场间的耦合效应,具有较高精度和评估价值。
电动焊接球阀技术特点:
1、功能强劲:
n智能型、比例式、开关型、各类信号输出;
n全行程时间5秒、10秒、15秒、30秒、60秒等供您选择;
n智能型控制模块集成于电动装置本体中,无须外接定位器。
2、可靠性能:
n特殊的铜合金锻造一体化涡轮强度高、耐磨性好、转动精度高;
n优良进口轴承、电器元件等关键零部件提高了使用寿命;
n通过1500V耐压测试,F级绝缘电机可靠;
nIp67高标准防护等级。
3、使用方便:
n免加油、免点检、防水防锈、任意角度安装;
n采用单相电源,外接线路简单,并有AC(24/110/220/380)V/DC(12/24/220)V供您选择。
4、唯美外观:
n铝合金压铸外壳,精细流畅;
n体积和重量仅相当于传统的35%左右;
5、具备手动操作。

其主要性能特点:
1.壳体-壳体为硬质铝合金,经阳极氧化处理和聚酯粉末涂层,性强,防护等级为IP67,NEMA4和6,并有IP68和防爆型供选择。
2.电机-全封闭式鼠笼式电机,体积小,扭距大,惯性力小,绝缘等级为F级,内置热保护开关,可防止损坏电机。
3、指示器-指示器安装在中心轴上,可以观察阀门位置。透镜采用凸出镜设计,不积水,观察更方便。
4、电动焊接式球阀干燥器-用来控制温度,防止由于温度和天气变化导致执行器内部水分凝结,保持内部电气元件的干燥。
5、限位开关-机械、电子双重限位。机械限位螺钉可调,;电子限位开关由凸轮机构来控制,简单的调整机构能并方便地设定位置,且不受手轮过量的影响。
6、电动焊接式球阀阀扭距开关-可提供过载保护,防止损坏电机。(出厂前已设定好,请用户不要随意更改设置)
8.自锁-的双蜗轮蜗杆机构可 传输大扭距,,噪音低,寿命长有自锁功能,防止反转,传动部分部分,无需再加油。
9.防脱螺栓-拆除外壳时,螺栓附在壳体上,不会脱落。
10.安装-底部安装尺寸符合ISO5211,驱动轴套可拆下根据需要进行加工,适应性强。可以垂直安装,也可以水平安装。
11.线路-控制线路符合单相或三相电源标准,线路布置紧凑合理,接线端子可有效满足各种附加功能的要求。
12.蜗轮-采用凹轮设计,与蜗杆的接触面大,传输扭距大,平衡且,使用寿命长。
13.PCU板-结构紧凑合理,将PCU板内置于机壳内。

Q967F电动全焊接球阀主要技术参数
基本型号
SW EXM(K)-Q47、Q347、Q647、Q747、Q847、Q947
SW EXM(K)-Q67、Q367、Q667、Q767、Q867、Q967压力等级范围
PN1.6~25.0MPa
Class150~600
通径范围
DN50~1000mm
2~40
驱动方式及
适用范围手轮驱动
PN1.6~4.0MPa
PN6.4~25.0MPa
Class150~300
Class400~600
DN150~1000mm
DN50~800mm
2~6
2~3
蜗轮蜗杆
PN1.6~4.0MPa
PN6.4~25.0MPa
Class150~300
Class400~600
DN200~1000mm
DN100~1000mm
8~40
8~40
气动、液动
PN1.6~25.0MPa
Class150~400
Class600
DN50~1000mm
1/2~8
2~28
电 动
PN1.6~25.0MPa
Class150~600
Class600
DN150~1000mm
6~40
Class600
设计标准
设计依据
GB
API
ASME
设计标准
GB/T12237
API 6D
ASME B16.34
结构长度法兰连接
GB/T12221
API 6D
ASME B16.10
对焊连接
GB/T15188.1
API 6D
ASME B16.10
连接法兰
JB/T79、GB/T9113
ASME B16.5、B16.47
ASME B16.5、B16.47
对焊端
GB/T12224
ASME B16.25
ASME B16.25
试验和检验
JB/T9092
API 6D
API 598
主要零部件材料
序号
零件名称
材料
序号
零件名称
材料
ASTM
GB
ASTM
GB
1
接头
A105
25
15
球体*
A105+HCr
A105+HCr
2
底盖
A105
25
16
O形圈
NBR-18
NBR-18
3
弹簧
AlSl9260
60Si2Mn17
填料体
A105
25
4
下阀杆**
A276-410
1Cr13
18
止推轴承
PTFE+304
PTFE+1Cr18Ni9
5
滑动轴承
PTFE
PTFE
19
O形圈
NBR-18
NBR-18
6
O形圈
NBR-18
NBR-18
20
键
AISI C 1045
45
7
阀体
A105
25
21
加长阀杆
碳钢组焊件
Q235组焊件
8
端盖
A105
25
22
支架
碳钢组焊件
Q235组焊件
9
O形圈
NBR-18
NBR-18
23
钢管
A182-304
1Cr18Ni9
10
阀座
A105
25
24
管座
碳钢
Q235A
11
弹簧
AISI 9260
60Si2Mn
25
接头
A105
25
12
密封圈
PTFE
PTFE
26
注脂阀
组件
组件
13
阀杆**
A276-410
1Cr13
27
接头
25
25
14
键
AISI C 1045
45
28
球阀
DN
公称压力(MPa)(PN)
Class
磅级(Lb)
mm
1.6
2.5
4.0
6.4
10.0
in
150
300
400
600
50
25
30
50
100
190
2
25
60
140
190
65
50
60
100
200
360
21/2
55
120
240
360
80
65
80
150
300
460
3
80
160
350
460
100
125
140
250
400
770
4
125
280
540
770
125
250
300
450
650
1050
5
250
600
740
1050
150
340
400
585
890
1980
6
400
950
1260
1980
200
485
680
996
1500
3280
8
700
1550
1910
3280
250
810
1140
1690
2560
5250
10
1100
2000
3250
5250
300
1310
1870
2800
4290
7200
12
1750
3300
5340
7200
350
1910
2740
4110
6320
9860
14
2600
5000
7500
9860
400
2860
4150
6300
9750
14500
16
3900
7500
10000
14500
450
4500
6500
8900
13500
19600
18
6200
11800
12400
19600
500
5860
7800
12000
18660
29000
20
7500
14400
18500
29000
600
8920
13210
20380
31820
42500
24
10500
19600
29500
42500
700
13320
19830
30670
48020
58000
28
14500
28200
40500
58000
800
24000
35420
55200
76830
82000
32
21000
29800
53000
62000
900
26000
38000
58000
88500
94000
36
28000
40000
51000
75000
1000
31000
41000
62000
92300
10500
40
35000
45000
71000
105000

适用于两位切断、调节的场合,阀与执行机构的连接采用直连方式,由 UNIC、PSQ、HQ、DHL等电动执行器(也可根据用户要求配置其他型号电子式电动执行机构)与浮动球阀组成,电动执行机构内置伺服系统,无须另配伺服放大器,输入 4-20mA 信号及 220V AC 电源即可控制运转,该阀具有结构紧凑,通常使用于密封要求比较严格的场合,除了控制气体、液体、蒸汽介质之外,还适宜控制污水和含有纤维性杂质的介质。

安装注意事项
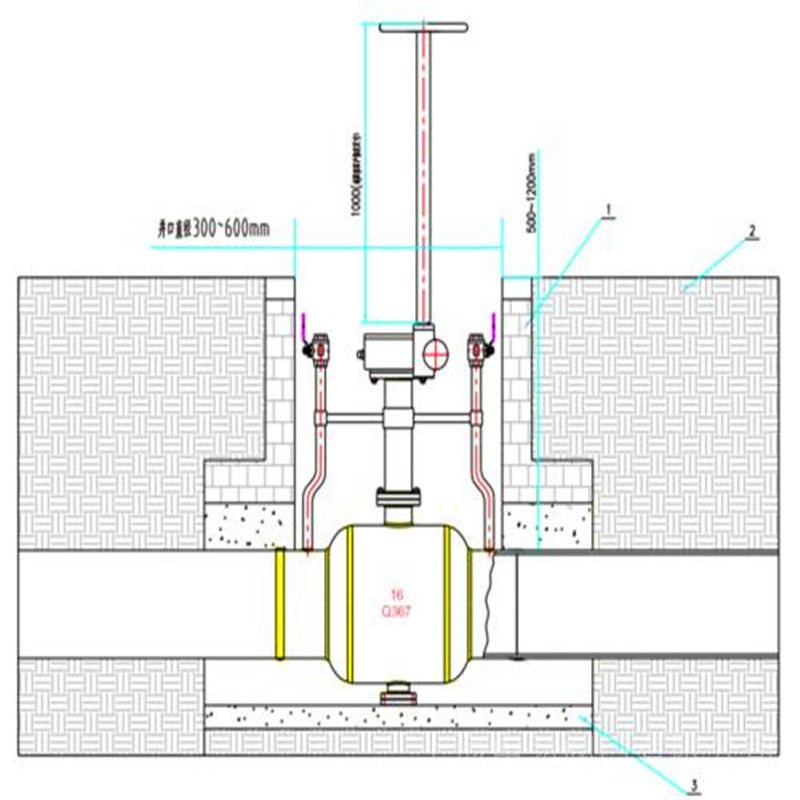
1、电动全焊接球阀的设计为双向密封式的结构,无水流方向的安装。
2、阀门袖管两端的保护帽在焊接之前不要来摘除。为了防止杂物进入阀内而损伤密封件。
3、管道和阀门焊接端进行打磨处理,清楚掉管道内部的杂物和表面的油渍,可以保证焊接的质量。
4、阀门的焊接端和管道进行焊接时,阀门必须要保证处于百分之百全开的状态,这样是为了避免在焊接时飞溅的杂质损伤到阀球以及密封面。

订货须知:
一、①产品名称与型号②口径③是否带附件以便我们的为您正确选型④的使用压力⑤的使用介质的温度。
二、若已经由设计单位选定公司的型号,请按型号直接向我司销售部订购。
三、当使用的场合非常重要或环境比较复杂时,请您尽量提供设计图纸和详细参数,由我们的阀门公司专家为您审核把关。如有疑问:请:我们一定会尽心尽力为您提供优质的服务。提供全面、阀门系统解决方案",也十分愿意帮助用户解决生产中所遇到的难题。 -
联系方式
- 联系人:申弘阀门
- 电 话:021-59260058
- 手 机:15901754341
- 传 真:86-021-31662735
- 邮 箱:494522509@qq.com
- 邮 编:201718
- 地 址:上海市青浦区金泽工业园区
- 网 址: https://bengye.cn.goepe.com/
http://www.021-fm.com
-
产品搜索






