-
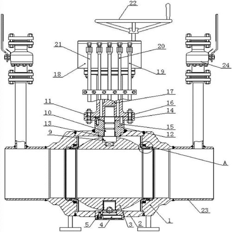
Q667F气动全焊接球阀申弘
详细信息| 询价留言Q667F气动全焊接球阀产品说明
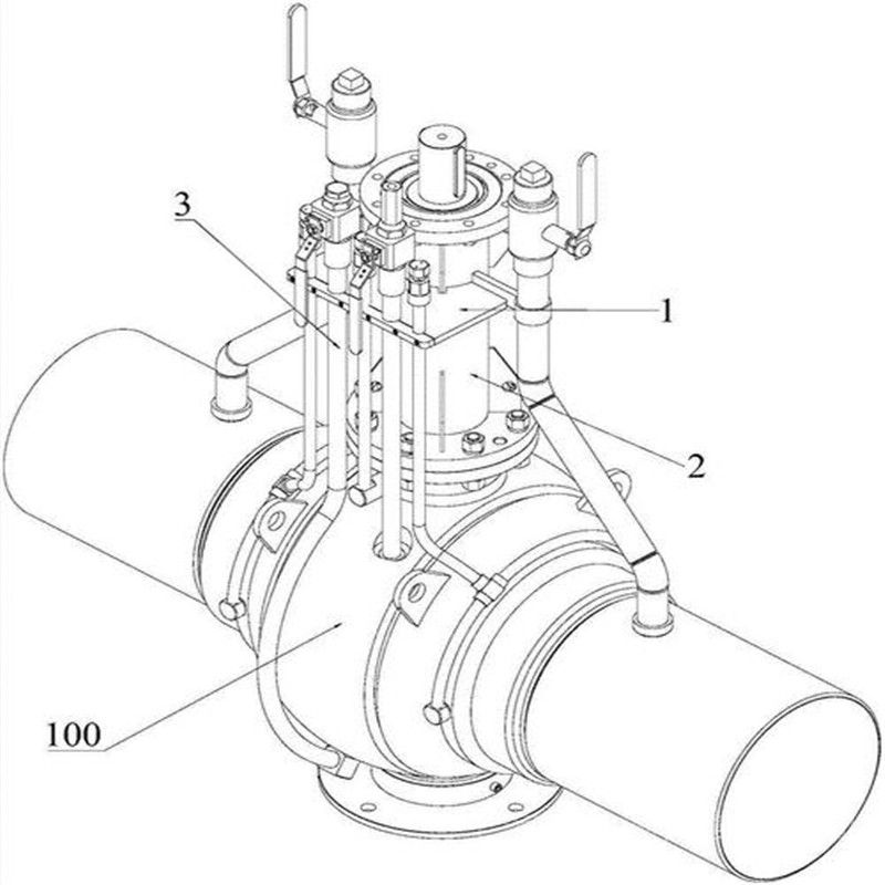
全焊接球阀适用于Class150~Class600、PN16~PN40的各种管路上,用于截断或接通管路中的介质。选用不同的材质,超达集团的全焊接球阀可分别适用于水、蒸汽、油品、硝酸、醋酸、氧化性介质、尿素等多种介质。全焊接球阀的驱动方式为手动、蜗轮传动、气动或电动。全焊接球阀一般采用对焊连接。可配以阀门定位器输入控制信号(4-20mA电流或1-5VDC电压)即可实现对球阀的角度旋转运转,气动全焊接球阀可配行程限位开关、电磁阀、减压阀及0.1-0.7MPa气源压力即可实现开关操作,限位开关可输出无源触点信号和阀门开关到位灯。

焊接球阀,不会有外部泄漏等现象,由于阀座是由碳化特氟隆密封环及蝶形弹簧构成的,以对压力和温度的变化适应能力强,标注压力和温度范围内不会产生任何泄滑。球体的加工过程有先进的计算机检测仪跟踪检测,以球体的加工精度高。由于阀体材料跟管道材质一样,会出现应力不均,不会由于地震及车辆经过地面时而产生变形,管道耐老化。密封环本体采用含量20%C(碳素)的PTFE材质,保障完全无泄漏(0%)。

Q667F气动全焊接球阀性能:
1):不需要维护,调整及润滑,易于安装,在低运行费用下长期可靠运行。表面采用喷塑处理技术,光泽美观,在国内已处于领先水平。不会有外部泄漏等现象。阀体是焊接结构,所以阀门重量轻且易于进行绝缘。安装调节机构,非常简便,操作手柄可以拆下,换向安装。
2):由于阀座是由碳纤维增强特氟隆密封环及碟形簧构成的,所以对压力和温度的变化适应能力强,在标注压力和温度范围内不会产生任何泄滑。
3):球体的加工过程有先进的计算机检测仪跟踪检测,所以球体的加工精度高。
4):由于阀体材料跟管道材质一样,不会出现应力不均,也不会由于地震及车辆经过地面时而产生变形,管道耐老化。
5):整体式全焊接,等径及变径通道,采用固定球及浮动球,双活塞效应密封系统,自动
注入密封剂式轴承。
6):为了防止静电,阀杆与球体以及阀杆与填料箱之间分别装有钢球和弹簧,可以保持阀门所有零件与阀体的导电,让电流通过区,释放静电。不仅防止火灾,而且防止腐蚀,实现临时性切断,以便及时检修。
7):阀杆防脱功能是因为阀杆受阀内压力影响,总产生脱离的力所以阀杆设计成防脱结构。
8):用低摩擦材料的止推垫圈支撑将压力推向阀杆,使阀杆仅仅起到传递扭矩的作用
结构特点,共有6点,具体如下:
1、全焊接球阀拥有先进的阀座:聚多年球阀制造经验而设计的阀座,摩擦系数低,操作力矩小,多种阀座材料,适应范围广。
2、全焊接球阀的阀杆防飞结构:在阀杆下部设置台阶,从阀体内部下装阀杆,防止阀杆飞出。
3、全焊接球阀的防静电机能:在球体与阀体或阀杆之间的设置防静电弹簧,能将开关动作过程产生的静电导出。
4、全焊接球阀的耐火结构:先进的耐火设计,在火灾后,各个泄漏部位设计成柔性石墨填料或不锈钢夹石墨,满足耐火要求。
5、全焊接球阀手柄操作时:采用扁头阀杆,与手柄的连接不会错位,从而保证了手柄指示的开关状态与阀一致。为防止阀门开关受到误动作在开关全开,全关位置设置有锁定孔,确保阀门处于正确的位置。
6、全焊接球阀采用国内外最先进的支撑板结构,提高了阀门的使用寿命,减小了阀门的操作扭矩,大大延长了阀门的使用寿命。

Q667F气动全焊接球阀主要技术参数:
型号:
Q661F
品牌:
申弘
公称通径:
DN100-DN1200
适用介质:
水、蒸汽、空气、油等
驱动方式:
蜗轮、电动、气动
适用温度:
-30 °C - +200 °C
连接方式:
焊接式
工作压力:
1.6-2.5MPa
结构形式:
固定球阀
通道:
直通式
流动方向:
双向
用途:
集中供热、城市燃气等
阀体材质:
WCB、A105、F304、F316
球体材质:
CF8、CF8M
阀杆:
2Cr13、F304、F316
密封圈:
PTFE、Viton、PPL
采用标准:
制造标准
GB/T 30818
结构长度标准
GB/T12221
检验标准
GB/T 13927
执行器型号 GT、SR、ST、AT、AW系列单(双)作用气动执行机构 供气压力 0.4~0.7MPa 气源接口 G1/4"、G1/8"、G3/8"、G1/2" 环境温度 -20~+90℃ 作用形式 单作用执行机构:气关式(B)--失气时阀位开(FO);气开式(K)--失气时阀位关(FC)
双作用执行机构:气关式(B)--失气时阀位保持(FL);气开式(K)-- 失气时阀位保持(FL)可配附件 定位器、电磁阀、空气过滤减压器、保位阀、行程开关、阀位传送器、手轮机构等
注:主要零部件及密封面的材质可根据实际工况条件或用户特殊要求设计选用。序号 零件名称 材料名称 1 阀体/阀盖 A105 F304 F304L F316 F316L 2 球体 A105+ENP F304 F304L F316 F316L 3 阀杆 A182-F6a F304 F304L F316 F316L 4 阀座 PTFE、烧结碳纤维、金属+橡胶组 5 弹簧 INCONELX-750 6 O型密封圈 VITON 7 密封圈 RPTFE 8 蝶型弹簧垫 304 F304 F304L F316 F316L 9 法兰 碳钢 304 304L 316 316L
Q667F气动全焊接球阀主要外形尺寸表公称压力
PN(MPa)公称通径
DN(mm)球孔直径
d(mm)尺寸(mm) 重量(kg) L H1 H W E F 1.6 50 51 178 100 165 400 24 80 76 203 110 90 700 50 100 102 229 130 200 850 75 150 152 394 175 270 600 116 350 195 200 203 457 210 300 600 116 350 280 250 254 533 274 380 600 116 350 440 300 305 610 305 420 800 171 420 570 350 337 686 340 450 800 171 420 800 400 387 762 395 530 800 257 500 1480 450 438 864 440 560 800 257 500 2350 500 489 914 470 605 800 257 500 2400 600 591 1067 580 680 800 150 580 4050 700 686 1245 640 760 800 83 650 6160 800 781 1372 730 870 800 83 650 7200 900 876 1524 980 980 800 123 735 8700 1000 978 1753 1010 1040 800 123 735 12500 2.5 50 51 178 100 165 400 30 80 76 203 110 90 700 58 100 102 229 130 200 850 95 150 152 403 175 270 600 116 350 210 200 203 502 210 300 600 116 350 318 250 254 568 274 380 600 116 350 440 300 305 648 305 420 800 171 420 575 350 337 762 340 450 800 171 420 800 400 387 838 395 530 800 257 500 1840 450 438 914 440 560 800 257 500 2700 500 489 991 470 605 800 257 500 2890 600 591 1143 580 680 800 150 580 4640 700 686 1346 640 760 800 83 650 6700 800 781 1524 730 870 800 83 650 7810 900 876 1727 810 980 800 123 735 9480 1000 978 1956 910 1040 800 123 735 13800 6.4 50 51 292 110 180 400 41 80 76 356 120 200 700 72 100 102 406 140 210 850 108 150 152 495 185 290 600 116 350 232 200 203 597 220 320 600 116 350 345 250 254 673 270 380 600 116 350 480 300 305 762 310 430 800 171 420 630 350 337 826 345 450 800 171 420 870 400 387 902 410 550 800 257 500 1950 450 438 978 440 580 800 257 500 2800 500 489 1054 480 630 800 257 500 3250 600 591 1232 590 700 800 150 580 5450 700 686 1397 655 790 800 83 650 7750 800 781 1651 730 890 800 83 650 10800 900 876 1880 830 1000 800 123 735 14500 1000 978 1956 930 1070 800 123 735 17600 
不会有外部泄漏等现象,由于阀座是由碳化特氟隆密封环及咖弹簧构成的,以对压力和温度的变化适应能力强,标注压力和温度范围内不会产生任何泄滑。球体的加工过程有先进的计算机检测仪跟踪检测,以球体的加工精度高。由于阀体材料跟管道材质一样,会出现应力不均,管道耐老化。密封环本体采用含量20%C(碳素)的PTFE材质,保障完全无泄漏(0%)。可采用智能控制与定位,与电气阀门定位器配套,输入4-20mADC信号及0.4~0.7MPa气源就可控制运转,实现对压力、流量、温度、液位等参数的调节。它是以压缩空气为动力,阀杆带动阀芯在阀内转动90°可以实现全开—全闭的动作。

阀体技术处理:
大家肯定见过全焊接球阀的阀体,都知道焊接接头一般均设计为窄间隙厚壁埋弧焊,还有就是全焊接阀体大都为超大厚度筒状焊接接头。大家肯定想知道这是为什么吧?
1:热处理技术处理
厚壁多层焊接过程是金属材料多次反复加热和冷却的过程,导致焊接接头组织的不均匀性和劣质化,产生较高的残留应力,甚至产生焊接缺陷。焊接又是该产品组装后的最后一道工序,阀腔内有非金属密封材料橡胶和聚四氟乙烯塑料,不能进行焊后热处理。
2:接头处处理
在阀体焊接接头设计中,为对准和定位,在焊缝根部存在一条环形的装配隙缝,这一隙缝在内部压力和外部荷载作用下,将产生几倍干正常工作应力的应力集中,同样使工程师们难于处理。
阀体焊接接头的根部缝隙的应力集中,残留应力,组织劣质化成为阀体结构中的薄弱环节,为国内外阀门界关注,但又未见有任何解决这一问题的相关报道,成为这个产品结构边界完整性的一个隐患。

订货须知:一、①产品名称与型号②口径③是否带附件以便我们的为您正确选型④使用压力⑤使用介质的温度。
二、若已经由设计单位选定公司的型号,请型号直接向我司销售部订购。三、当使用的场合非常重要或环境比较复杂时,请您尽量提供设计图纸和详细参数,由我们的阀门公司专家为您审核把关。产品所属球阀选型,感谢您访问我们申弘阀门的网站如有任何疑问.您可以致电给我们,我们一定会尽心尽力为您提供优质的服务。如需要了解更多其它阀类产品的信息可以点击减压阀查看。
-
联系方式
- 联系人:申弘阀门
- 电 话:021-59260058
- 手 机:15901754341
- 传 真:86-021-31662735
- 邮 箱:494522509@qq.com
- 邮 编:201718
- 地 址:上海市青浦区金泽工业园区
- 网 址: https://bengye.cn.goepe.com/
http://www.021-fm.com
-
产品搜索







