-
Q641F气动法兰式球阀申弘
详细信息| 询价留言Q641F气动法兰式球阀产品说明
气动法兰球阀是由截止阀演变而来。它具有相同的旋转90度提动作,不同的是旋塞体是球体,有圆形通孔或通道通过其轴线。球面和通道口的比例应该是这样的, 即当球旋转90度时,在进、出口处应全部呈现球面,从而截断流动。中的问题,本实用新型提出了一种工作效率高、驱动气源压力小,同时能够确保产品质量的大口径低压驱动气动浮动式球阀。采用高精度气动执行器及精铸球阀组成,主要分为气动开关球阀及气动切断球阀两大类。气动开关球阀可配行程限位开关、电磁阀、减压阀及0.4-0.7MPa气源可实现开关操作,并送出二对无源触点信号指示阀门的开关。

Q641F气动法兰式球阀性能特点:
①流体切断和流通;
②密封性可靠,流通性能好,流阻小,装卸方便;
③采用直连方式,具有连线简单,结构紧凑,动作稳定;
④适用于粘稠、含颗粒、纤维场合,广泛用于石油、化工、冶金、轻工、造纸、电站、制冷等工作领域。
本实用新型的具体技术方案是:
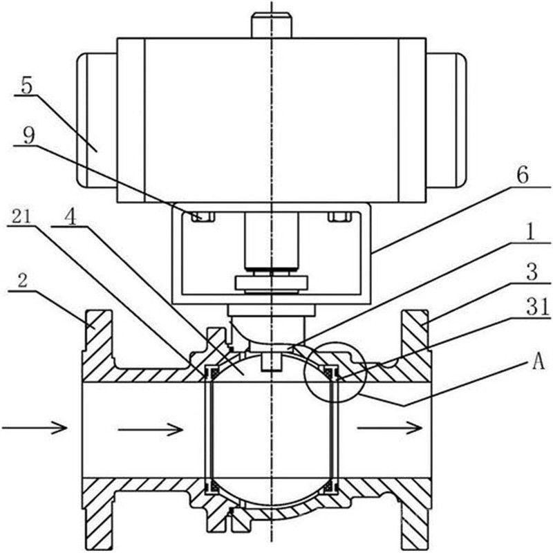
本实用新型提供了一种大口径低压驱动气动浮动式球阀,阀体、安装在阀体内的球体、与球体连接并用于驱动球体旋转的气动执行器,其特征在于:所述气动执行器为双作用气缸,所述双作用气缸的驱动气源压力0.6Mpa至0.8Mpa。
上述球体和阀体之间设置有阀座,阀座的外表面与阀体的内表面固定连接,球体的外表面与阀座的内表面为线接触。
上述球体上设置有阀杆,所述阀杆与轴套连接部分为方形,所述双作用气缸输出轴与轴套连接部分为方形,阀杆和双作用气缸输出轴通过轴套固定连接;所述轴套的内孔为方形。
上述阀体与阀杆之间设置有密封套;所述密封套有多个。
上述阀座为聚四氟乙烯材料制成;所述密封套为聚四氟乙烯材料制成。

本实用新型的优点在于:
1、本实用新型采用了双作用气动执行器,*大气源压力0.8MPa,动作快速平稳,精度高,输出功率大,确保了产品质量;并因气源压力为低压0.8MPa,提高了使用的安全性。
2、本实用新型采用球体与阀座为线接触,确保了球阀密封性,保证产品质量。
3、本实用新型的阀杆和阀体之间采用了密封套结构进行密封,使得该球阀的密封性更好。
4、本实用新型采用了的阀座、轴套采用聚四氟乙烯,该材料具有耐磨性好、化学稳定性优异、耐油性好、摩擦系数小及老化性能优异等特点,提高了设备的使用寿命。

Q641F气动法兰式球阀主要设计标准
四、主要技术参数及性能设计与制造 GB12237-89、API608、API 6D、JPI 7S-48、BS5351、DIN3357 法兰尺寸 JB/T74~90、GB9112~9131、HGJ44~76、SH3406、ANSI B16.5、JIS B2212~2214、DIN2543 结构长度 GB12221-89、ANSI B16.10、JIS B2002、NF E29-305、DIN3202 检验与试验 JB/T 9092、API 598、GB/T13927
四、执行器技术参数公称通径DN(mm) 15 20 25 32 40 50 65 80 100 125 150 200 额定流量系数KV 21 38 72 112 170 273 384 512 940 1452 2222 3589 公称压力(MPa) PN1.6、2.5、4.0、6.4 MPa;ANSI 150、300LB 允许压差(MPa) ≤公称压力 阀体形式 两段式铸造球阀 连接形式 法兰式、焊接式、螺纹式 阀芯形式 "O"型球形阀芯 密封填料 V型聚四氟乙烯填料、柔性石墨填料等 流量特性 近似快开型 动作范围 0~90° 泄露量Q 按GB/T4213-92,小于额定KV0.01% 可调范围 250:1 350:1 配置执行机构 可配GT、SR、ST、AT、AW等系列气动执行机构 控制方式 开关型(开关两位控制)、调节型(4~20mA控制)
五、主要零件材料执行器型号 GT、SR、ST、AT、AW系列单双作用气动执行器 供气压力 0.4~0.7MPa 气源接口 G1/4"、G1/8"、G3/8"、G1/2" 环境温度 -30~+70℃ 作用形式 单作用执行机构:气关式(B)--失气时阀位开(FO);气开式(K)--失气时阀位关(FC)
双作用执行机构:气关式(B)--失气时阀位保持(FL);气开式(K)-- 失气时阀位保持(FL)可配附件 定位器、电磁阀、空气过滤减压器、保位阀、行程开关、阀位传送器、手轮机构等
七、主要性能规范零件名称 材料 阀体 WCB 304(CF8) 316(CF8M) 316L(CF3M) 球体 2Cr13+氮化处理 304 316 316L 阀杆 2Cr13 304 316 316L 阀座密封圈 PTFE(聚四氟乙烯)、PPL(对位聚苯)、金属密封(硬质合金) 填料 V型PTFE四氟填料、柔性石墨 公称通径DN(mm) DN15-300 公称压力 PN(MPa) 1.0 1.6 2.5 4.0 6.4 试验压力 强度试验 1.5 2.4 3.75 6.0 9.60 密封试验 1.1 1.76 2.75 4.4 7.04 低压气密试验 0.5~0.7 适用介质 水、油、蒸气、硝酸类(温度≤200℃)、醋酸类(温度≤200℃)
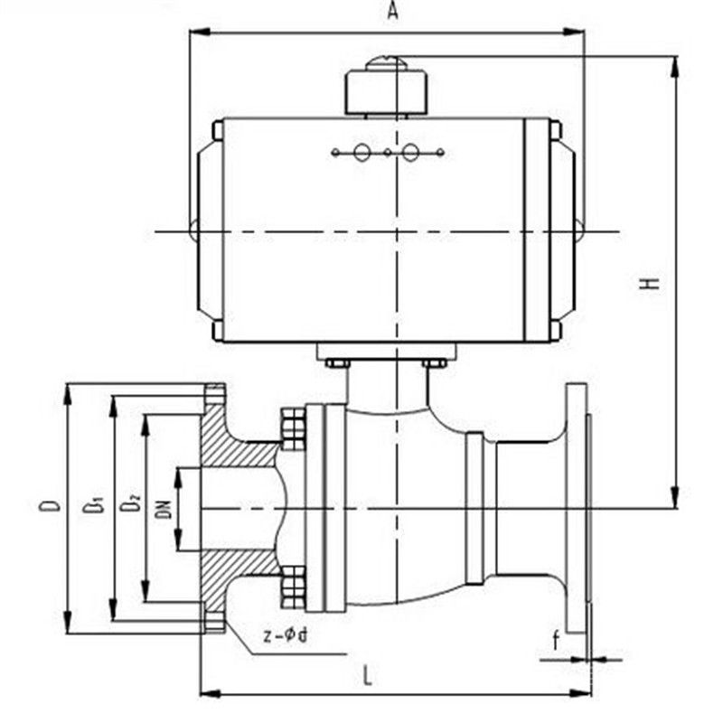
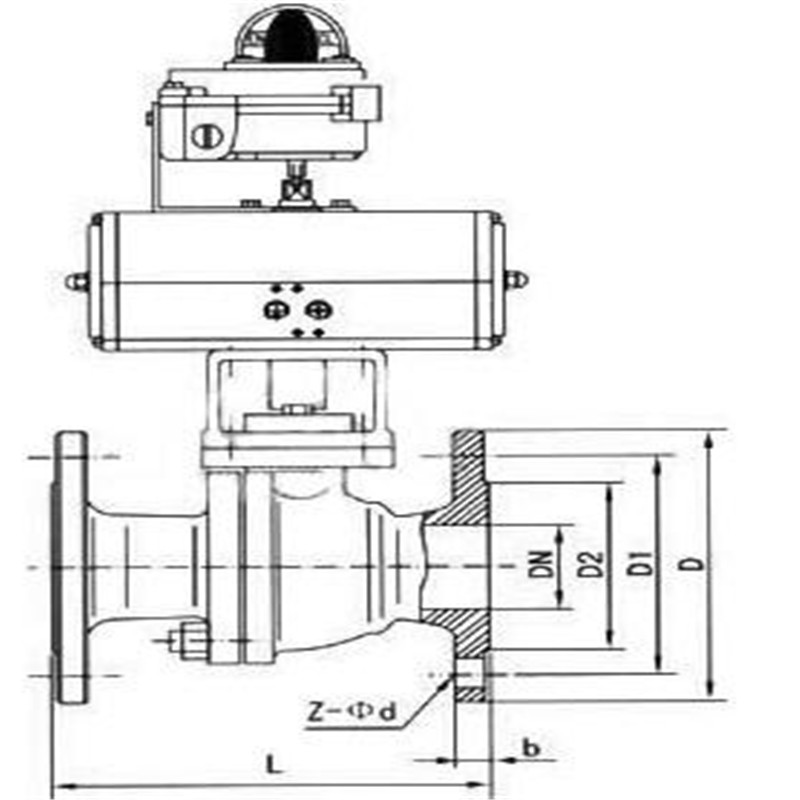
七、Q641F气动法兰式球阀外形图

Q641F气动法兰式球阀主要外形及连接尺寸:公称通径
DN(mm)尺寸(mm) 执行器型号 1.6MPa 2.5MPa 4.0MPa L D D1 b Z-фD L D D1 b Z-фD L D D1 b Z-фD 可选配DA/SR、QGSY、
SY-CH、GTD/GTE
AW/AWS、SY-YD、
系列执行器
以上选配仅供参考具体
选区用根据实际要求15 130 95 65 14 4-14 130 95 65 16 4-14 130 130 65 16 4-14 20 140 105 75 14 4-14 130 105 75 16 4-14 150 150 75 16 4-14 25 150 115 85 14 4-14 140 115 85 16 4-14 160 160 85 16 4-14 32 165 135 100 16 4-18 165 135 100 18 4-18 180 180 100 18 4-18 40 180 145 110 16 4-18 165 145 110 18 4-18 200 200 110 18 4-18 50 200 160 125 16 4-18 203 160 125 20 4-18 230 230 125 20 4-18 65 220 180 145 18 4-18 222 180 145 22 8-18 290 290 145 22 8-18 80 250 195 160 20 8-18 241 195 160 22 8-18 310 310 160 22 8-18 100 280 215 180 20 8-18 305 230 190 24 8-23 350 350 190 24 8-23 125 320 245 210 22 8-18 356 270 220 28 8-25 400 270 220 28 8-25 150 360 280 240 24 8-23 394 300 250 30 8-25 480 300 250 30 8-25 200 400 335 295 28 12-23 457 360 310 34 12-25 600 375 320 38 12-30 
为双作用气缸,双作用气缸的驱动气源压力0.6Mpa至0.8Mpa。双作用气缸工作原理是当驱动气源经气口进入气缸两活塞中腔时,使两活塞分离向气缸两端方向移动,两端气腔的空气经另一气口排出,同时使两活塞齿条同步带动输出轴(齿轮)旋转。双作用气缸动作快速平稳,精度高,输出功率大,确保了产品质量;并因气源压力为低压0.8MPa,提高了使用的安全性。

Q641F气动法兰式球阀按以下指示进行安装:
(1)取掉法兰端两边的保护盖,在阀打开的状态下进行冲洗清洁。
(2)安装前应按规定的信号(电动或气动)进行整机测试(防止因运输产生振动影响使用性能),合格后方可上线安装(接线按电动执行机构线路图)。
(3)准备与管道连接前,须冲洗和清除干净管道中残存的杂质(这些物质可能会损坏阀座和球)。
(4)在安装期间,请不要用阀的执行机构部分作为起重的吊装点,以避免损坏执行机构及附件。
(5)本类阀应安装在管道的水平方向或垂直方向。
(6)安装点附近的管道不可有低垂或者承受外力的现象,可以用管道支架或者支撑物来消除管线的偏离。
(7)与管道连接后,请用规定的扭矩交叉锁紧法兰连接螺栓。

订货须知:一、①产品名称与型号②口径③是否带附件以便我们的为您正确选型④使用压力⑤使用介质的温度。
二、若已经由设计单位选定公司的型号,请型号直接向我司销售部订购。三、当使用的场合非常重要或环境比较复杂时,请您尽量提供设计图纸和详细参数,由我们的阀门公司专家为您审核把关。产品所属球阀选型,感谢您访问我们申弘阀门的网站如有任何疑问.您可以致电给我们,我们一定会尽心尽力为您提供优质的服务。如需要了解更多其它阀类产品的信息可以点击减压阀查看。
-
联系方式
- 联系人:申弘阀门
- 电 话:021-59260058
- 手 机:15901754341
- 传 真:86-021-31662735
- 邮 箱:494522509@qq.com
- 邮 编:201718
- 地 址:上海市青浦区金泽工业园区
- 网 址: https://bengye.cn.goepe.com/
http://www.021-fm.com
-
产品搜索







