-
Q641H气动金属硬密封球阀申弘
详细信息| 询价留言Q641H气动金属硬密封球阀产品说明
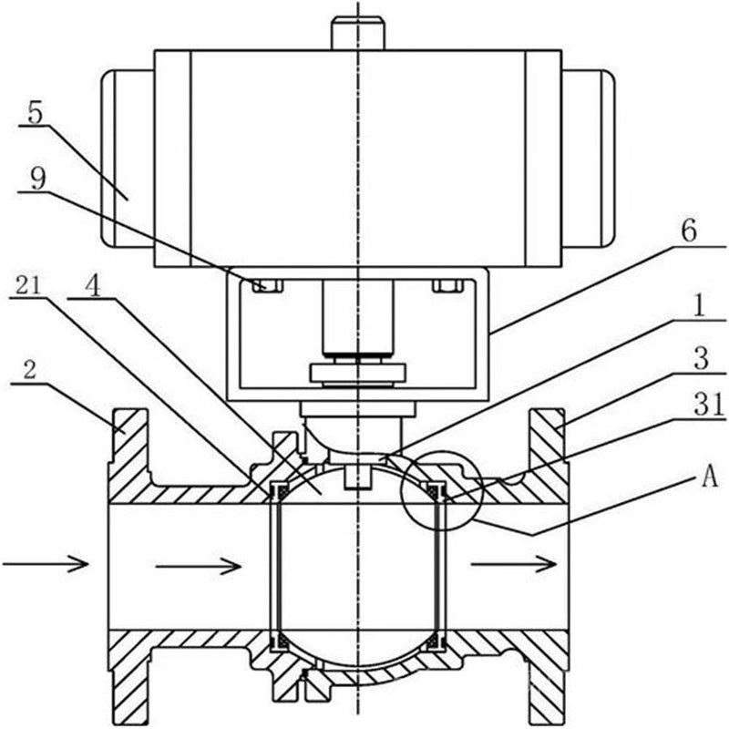
本实用新型涉及阀门技术领域,确切的说是适用于高温、高压环境的,采用金属硬密封的球阀。气动硬密封球阀,是新一代高性能球阀,适用于长输管线和一般工业管线,其强度、安全性、耐恶劣环境性等在设计时进行了特殊考虑,适用于各种腐蚀性和非腐蚀性介质。它与浮动球阀相比,工作时,阀前流体压力在球体上产生的作用力全部传递给轴承,不会使球体向阀座移动,因而阀座不会承受过大的压力,所以固定球阀 的转矩小、阀座变形小,密封性能稳定、使用寿命长,适用于高压、大口径场合。先进的弹簧预阀座组件,具有自紧特性,实现上游密封。每阀有两个阀座,每个方向都能密封,因而安装没有流向限制,是双向。此阀一般水平安装。适用于两位切断、调节的场合。球阀与执行机构的连接采用直连方式。

气动金属密封球阀主要适用于温度高温250度以上的工况场合。与电气阀门定位器配套,输入4~20mADC信号及0.4~0.7MPa气源即可控制运转,实现对压力、流量、温度、液位等参数的调节。亦配行程限位开关、电磁阀、减压阀及0.4-0.7MPa气源可实现开关操作,并送出二对无源触点信号指示阀门的开关。
本实用新型公开了球阀技术领域的一种高温金属硬密封浮动球阀,旨在解决现有技术中高温工况下,阀门各部件受热膨胀后容易引起阀门胀死和内漏的技术问题,包括左阀体、右阀体,球体置于所述左阀体与所述右阀体之间,阀杆穿过所述左阀体上部的安装孔与所述球体配合,所述阀杆驱动所述球体实现阀门的开和闭,所述左阀体内设有*弹簧和上游阀座,所述*弹簧推动上游阀座与所述球体配合,所述球体与下游阀座配合,所述下游阀座与所述右阀体一体成型。下游阀座和右阀体采用整体式结构,保证了下游阀座不会出现受热膨胀,导致阀门胀死和内漏问题,延长了阀门使用寿命;左阀体和右阀体通过螺纹连接或者承插连接并焊接,保证了介质不会外漏。

气动球阀适用介质:水、气、油品、天然气和酸碱腐蚀性介质。
气动球阀适用温度:-196~425℃,
气动球阀驱动方式:手动、蜗轮、气动、电动、液动等。
Q641H气动金属硬密封球阀产品特点
1、操作省力:球体由上下轴承支撑,减少摩擦,消除了由于进口压力推动球体与密封座形成的巨大密封负荷而造成过大的扭矩。
2、密封性能可靠:STL合金喷于不锈钢阀座上,金属阀座尾端设有弹簧保证密封圈足够的预紧力,阀门在使用过程中密封面磨损时,在弹簧作用下阀门继续保证良好密封性能。
3、防火结构:为防止由于骤热或火灾的出现,使聚四氟乙烯密封圈烧毁,发生较大泄漏,而助长火势,在球体与阀座间设置防火密封环,在密封圈烧毁时,在弹簧力作用下,将阀座密封环迅速推向球体上,形成金属与金属密封,起到一定程度的密封效果。耐火试验符合APl6FA和APl607标准要求。
4、自动泄压功能:当阀门中腔停滞的介质压力异常升高超过弹簧的预]力时,阀座后退脱离球体,达到自动泄压的效果,卸压后阀座自动复
5、排泄管路:阀体上下均设置排泄孑L,可检查阀座是否发生泄漏,在工作中,阀门处于全开或全关时,卸掉中腔压力,可直接更换填料;可以排放中腔滞留物,减少介质对阀门的污染。
硬密封球阀是适用于一些比较严峻,苛刻的工况,比如高温,高压,高磨损工况,它可以解决阀门内漏和外漏的问题,提供稳定有效的保障。

现有的硬密封球阀,阀座与球体采用金属硬密封配合,从而使得阀门适用高温,高压,高磨损工作环境中,其阀座有采用一体成型,或装配在阀体内的,多数情况下阀座采用装配在阀体内,但现有阀体采用阀体顶部开口,开口盖设阀盖的结构设计。现有结构的金属硬密封球阀存在如下缺陷:
1、阀体采用顶盖式结构设计,存在阀体整体结构复杂,加工难度大,阀座安装不便的缺陷;
2、阀座的结构设计不合理,阀座的装配不便以及密封可靠性差等缺陷。
本实用新型发明目的:为克服现有技术存在的缺陷,本实用新型提供一种加工方便,阀座装配方便,以及密封可靠的耐高压硬密封球阀。

为实现上述目的,本实用新型提供了如下技术方案:
—种耐高压硬密封球阀,包括有阀体,阀体内设有阀腔,阀腔内设有阀座以及阀芯,阀芯与阀座对应配合构成阀门的启/闭控制,阀芯与阀座密封配合面为金属硬密封面,所述阀体上设有用于支撑阀芯的下阀杆以及驱动控制阀芯的上阀杆,其特征在于:所述的阀体包括筒状的中间阀体,中间阀体的轴向两端口固定有连接体,连接体沿轴向延伸有插接端头,插接端头后端设有安装法兰,所述连接体的插接端头插装于中间阀体的端口内,中间阀体的轴向端部与安装法兰经螺栓锁固,所述连接体的内端口内设有环形阀座装配槽,环形阀座装配槽内焊接固定有防护环,防护环外径侧设有台阶槽,台阶槽与环形阀座装配槽径向壁之间形成有阀座滑槽,阀座滑动配合于阀座滑槽内,阀座的轴向外端抵接有驱动阀座上金属硬密封面压向阀芯的金属弹性元件,金属弹性元件安装在台阶槽内,所述金属硬密封面为超音速喷涂而形成的高强度硬质金属碳化钨层。
Q641H气动金属硬密封球阀主要技术参数及性能:公称通径(mm)
15
20
25
32
40
50
65
80
100
125
150
200
250
300
流量系数Kv
21
38
72
112
170
273
384
512
940
1452
2222
3589
5128
7359
公称压力(MPa)
PN1.6、2.5、4.0、6.4、10.0MPa
泄漏量
硬密封:≤额定流量的10-5
阀体形式
两段式阀体(浮动球体)
两段式阀体(固定球体)
阀芯形式
“O”型球形阀芯
密封填料
聚四氟乙烯(PTFE)、金属石墨缠绕垫片
连接形式
法兰、焊接、螺纹
流量特性
近似快开特性
可调范围
DN15-65
DN80-300
250:1
350:1
适用温度
密封面
硬密封≤450℃ 特殊材质≤1000℃
配置执行机构
GT、SR、ST、AT、AW系列单双作用气动执行器
控制方式
开关两位控制、4-20mA模拟量控制
执行器型号
GT、SR、ST、AT、AW系列单双作用气动执行器
供气压力
0.4~0.7MPa
气源接口
G1/4"、G1/8"、G3/8"、G1/2"
环境温度
-30~+70℃
作用形式
单作用执行机构:气关式(B)--失气时阀位开(FO);气开式(K)--失气时阀位关(FC)
双作用执行机构:气关式(B)--失气时阀位保持(FL);气开式(K)-- 失气时阀位保持(FL)可配附件
定位器、电磁阀、空气过滤减压器、保位阀、行程开关、阀位传送器、手轮机构等
主要零件材料:
零件名称
材料
阀体
WCB
304(CF8)
316(CF8M)
316L(CF3M)
球体
2Cr13+氮化处理
304
316
316L
阀杆
2Cr13
304
316
316L
阀座密封圈
不锈钢+淡化处理
填料
V型PTFE四氟填料、柔性石墨
设计与制造
GB12237-89、API608、API 6D、JPI 7S-48、BS5351、DIN3357
法兰尺寸
JB/T74~90、GB9112~9131、HGJ44~76、SH3406、ANSI B16.5、JIS B2212~2214、DIN2543
结构长度
GB12221-89、ANSI B16.10、JIS B2002、NF E29-305、DIN3202
检验与试验
JB/T 9092、API 598、GB/T13927
Q641H气动金属硬密封球阀主要性能规范:
公称通径DN(mm)
DN15-300
公称压力
PN(MPa)
1.0
1.6
2.5
4.0
6.4
试验压力
强度试验
1.5
2.4
3.75
6.0
9.60
密封试验
1.1
1.76
2.75
4.4
7.04
低压气密试验
0.5~0.7
适用介质
水、油、蒸气、硝酸类(温度≤500℃)、醋酸类(温度≤350℃)
流量系数:
公称通径
(DN)不同开度角下的Kv值
10°
20°
30°
40°
50°
60°
70°
80°
90°
50
2
4
9
17
32
60
97
151
215
80
6
11
22
44
83
155
250
389
550
100
9
18
34
71
133
248
398
620
890
150
20
40
80
160
300
560
900
1400
2000
200
36
72
143
286
737
1002
1611
2506
3580
250
57
113
226
453
848
1582
2253
3955
5650
300
81
163
325
651
1220
2278
3661
5695
8100
350
110
221
443
885
1750
3541
5311
7967
10950
400
150
303
605
1113
2424
4850
7275
10910
15300
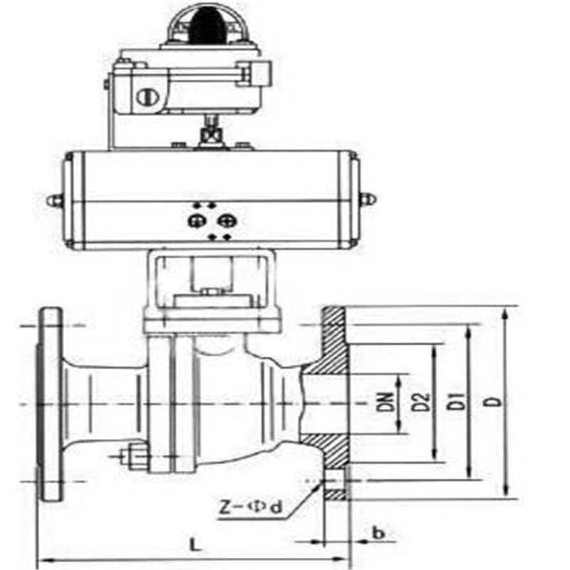
公称通径
DN(mm)尺 寸(mm)
执 行 器 型 号
1.6MPa
2.5MPa
4.0MPa
L
D
D1
b
Z-фD
L
D
D1
b
Z-фD
L
D
D1
b
Z-фD
可选配DA/SR、QGSY、
SY-CH、GTD/GTE
AW/AWS、SY-YD、
系列执行器
以上选配仅供参考具体
选区用根据实际要求15
130
95
65
14
4-14
130
95
65
16
4-14
130
130
65
16
4-14
20
140
105
75
14
4-14
130
105
75
16
4-14
150
150
75
16
4-14
25
150
115
85
14
4-14
140
115
85
16
4-14
160
160
85
16
4-14
32
165
135
100
16
4-18
165
135
100
18
4-18
180
180
100
18
4-18
40
180
145
110
16
4-18
165
145
110
18
4-18
200
200
110
18
4-18
50
200
160
125
16
4-18
203
160
125
20
4-18
230
230
125
20
4-18
65
220
180
145
18
4-18
222
180
145
22
8-18
290
290
145
22
8-18
80
250
195
160
20
8-18
241
195
160
22
8-18
310
310
160
22
8-18
100
280
215
180
20
8-18
305
230
190
24
8-23
350
350
190
24
8-23
125
320
245
210
22
8-18
356
270
220
28
8-25
400
270
220
28
8-25
150
360
280
240
24
8-23
394
300
250
30
8-25
480
300
250
30
8-25
200
400
335
295
28
12-23
457
360
310
34
12-25
600
375
320
38
12-30

通过采用上述技术方案,将阀体采用三段式结构设计,方便阀体的加工,阀体的各部分采用插接后经安装法兰装配一体,装配方便;而且阀座经防护环装配于连接体的内端口,安装方便,阀座为可滑动式设计,经金属弹性元件保证阀座与阀芯可靠密封配合,将阀座和球芯上的金属硬密封面为采用超音速喷涂技术在密封处形成的高强度硬质金属碳化钨层,提高密封面的耐高温、耐高压和耐磨性能。采用新型系列GT型气动执行器,有双作用式和单作用式(弹簧复位),齿轮齿条传动,安全可靠;大口径阀门采用系列AW型气动执行器拔叉式传动,结构合理,输出扭矩大,有双作用式和单作用式。

Q641H气动金属硬密封球阀安装与运用:
(1)气动硬密封球阀在安装运用之前,有需要对阀门进行安装前的检查和开关运转试验。只有在运转动作正常的条件下,才能安装运用。
(2)气动硬密封球阀的安装要尽可能使阀门与管路法兰同心,并加支撑固定。不能使球阀受其它外力作用,以免损坏阀门的中密封及阀门变形。形成阀门开关不灵及阀门的损坏而无法运用。
(3)要保证气动硬密封球阀及气动元件所提供的动力气源有需要是洁净,尽可能不带油污及水。清洁度应小于0.4微米。
(4)接入气源之前,有需要清洁供气管路,气源接口和开关等器件,以防因为管路不清洁带上污物和泥沙冲入气动履行单元而形成故障。
(5)气动履行器、电磁阀、定位器、过滤器、减压阀等的连接,可用铜管或尼龙管,为以防防尘及减小噪声,排气口应安装消声器或消声节流阀。
(6)安装好今后,对气动阀门应进行试验,给气动履行器加压至额定值,压力为0.4~0.7mpa,对气动硬密封球阀进行开关试验,调查阀门的开闭状况。应转动灵敏无卡阻现象。在开关如有卡阻现象可增高气压,反复开关使阀门调到开关灵敏即可。
(7)安装调试开关型气动硬密封球阀时,先用手动安装进行(电磁阀上的手动按钮)调试、动作正常后在通电调试。
(8)气动硬密封球阀应定时进行保护保养阀杆转动处,应三个月加油(机油)一次。定时对气动履行单元和配合运用的空气过滤器进行放水、排污。正常的状况下六个月检查一次,每年检修一次。

订货须知:一、①产品名称与型号②口径③是否带附件以便我们的为您正确选型④使用压力⑤使用介质的温度。
二、若已经由设计单位选定公司的型号,请型号直接向我司销售部订购。三、当使用的场合非常重要或环境比较复杂时,请您尽量提供设计图纸和详细参数,由我们的阀门公司专家为您审核把关。产品所属球阀选型,感谢您访问我们申弘阀门的网站如有任何疑问.您可以致电给我们,我们一定会尽心尽力为您提供优质的服务。如需要了解更多其它阀类产品的信息可以点击减压阀查看。
-
联系方式
- 联系人:申弘阀门
- 电 话:021-59260058
- 手 机:15901754341
- 传 真:86-021-31662735
- 邮 箱:494522509@qq.com
- 邮 编:201718
- 地 址:上海市青浦区金泽工业园区
- 网 址: https://bengye.cn.goepe.com/
http://www.021-fm.com
-
产品搜索








