-
GT气动开关型球阀申弘
详细信息| 询价留言GT气动开关型球阀产品说明
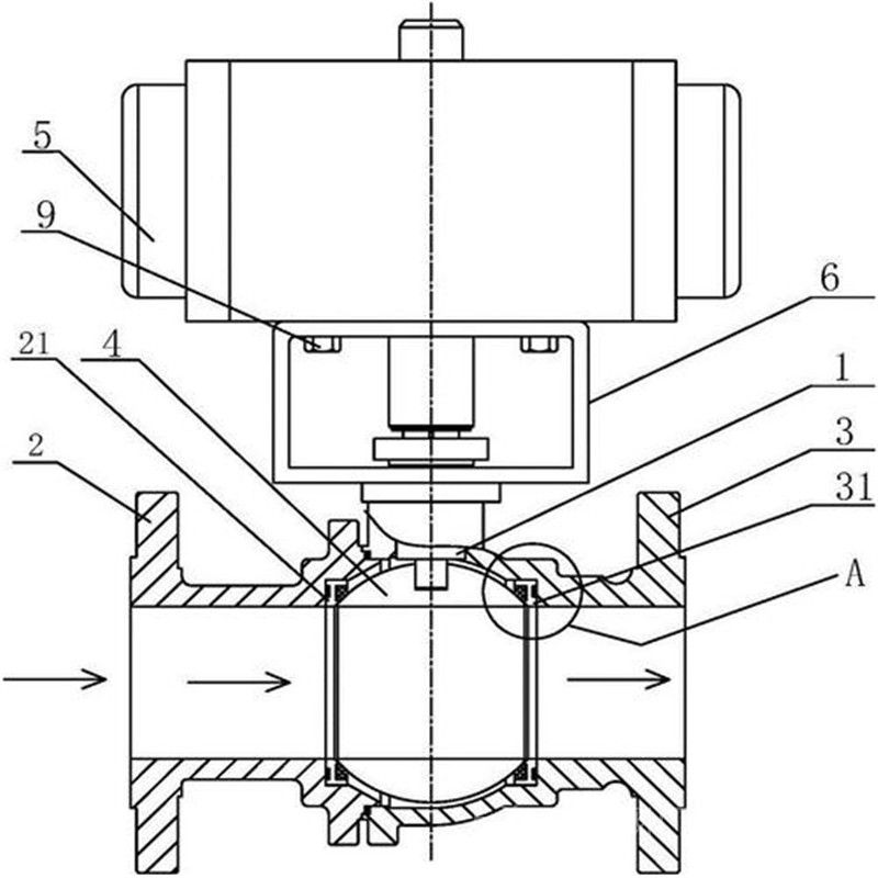
本实用新型属于阀门技术领域,具体涉及一种球阀球体与阀杆的连接结构。是利用气动执行器压缩空气获取动力的。气动球阀球体是由旋塞阀转变而来的,通过球心90°旋转的动作,使球体绕阀体中心线作旋转以达到开启的目的。当球心旋转到90°时阀门处于紧闭状态,并且当气动执行器工作时,球阀只需要很小的转动力矩就能完成阀门关闭动作,达到快速截断的目的。

背景技术:
球阀(ball valve),启闭件(球体)由阀杆带动,并绕球阀轴线作旋转运动的阀门。亦可用于流体的调节与控制,其中硬密封V型球阀其V型球芯与堆焊硬质合金的金属阀座之间具有很强的剪切力,特别适用于含纤维、微小固体颗料等的介质。而多通球阀在管道上不仅可灵活控制介质的合流、分流、及流向的切换,同时也可关闭任一通道而使另外两个通道相连。球阀中球体与阀杆在经常地启闭过程中,由于进口压力推动球体与密封座形成的巨大密封负荷而造成过大的扭矩,会使球体向阀座移动从而使阀座会承受过大的压力,对于阀杆和球体会有一定的磨损,容易造成泄漏,因此我们需要一款新型的球阀球体与阀杆的连接结构解决上述问题,来满足人们的需要。

GT气动开关型球阀技术实现要素:
本实用新型的目的在于提供一种球阀球体与阀杆的连接结构,以解决现有技术中对于阀杆与球体容易造成磨损导致泄漏的问题。气动球阀主要是用在航空煤油、天然气、液化气、管道煤气等管道上的球阀。气动球阀工作原理可以从这几方面说,阀门关闭、阀门开启、密封、双关双断及泄放、双密封方式。安装气动球阀时,要注意取掉法兰端两边的保护盖,清除管道里的杂物,管道内部清洗干净。下面就由小编来给大家详细介绍一下气动球阀工作原理与开启关闭以及如何安装。新型系列GT型气动执行器,有双作用式和单作用式(弹簧复位),齿轮齿条传动,安全可靠;大口径阀门采用系列AW型气动执行器拔叉式传动,结构合理,输出扭矩大,有双作用式和单作用式。
1、齿轮式双活塞,输出力矩大,体积小。
2、气缸选用铝金材料,重量轻、外形美观。
3、可在顶部、底部安装手动操作机构。
4、齿条式连接可调节开启角度、额定流量。
5、执行器可选带电讯号反馈指示及各类附件以实现自动化操作。
6、IS05211标准连接为产品的安装更换提供了方便。
7、两端调的节螺钉可使标准产品在0°和90°有±4°的可调范围。确保与阀门的同步精度。
气动球阀附件的选项
根据不同控制和要求可选择下列附件:
切断型附件:单电控电磁阀、双电控电磁阀、限位开关回讯器。
调节型附件:电气定位器、气动定位器、电气转换器。
气源处理附件:空气过滤减压阀、气源处理三联件。
手动机构:HVSD手操机构

GT气动开关型球阀工作原理与开启关闭
气动球阀工作原理:双关双断及泄放功能阀门的工作原理关键是安装在旋塞上的两片密封滑片的动作。
气动球阀工作原理还可以详细分为几个部分来说,如下:
1、阀门关闭:
阀门关闭时,先旋转手轮,将旋塞及密封滑片旋转90°,然后旋塞向下移动,随着旋塞的运动时推动密封滑片向阀体内腔封面直至弹性密封圈被均匀地挤压到阀孔上下端,形成密封。
2、阀门开启:
阀门开启时,先旋转手轮提升旋塞,将密封滑片从阀体两侧密封面拉回。当滑片完 全收回脱离阀体密封面后,继续转动手轮,使旋塞及密封滑片旋转90°,阀门处于开启位置。
3、关于密封:
弹性密封圈是模压成型在滑片的沟槽中,随着密封滑片向阀门的进出口移动,密封圈子也逐渐被压入沟槽中,经过机械加工的滑片表面与阀体内腔形成二级金对金属密封防止弹性密封圈子继续被压,并且具有防火功能。
4、双关双断及泄放:
这是一种通过两个切断阀和一个在其中间的泄放阀达到完 全隔断两端管线目的的方法,关闭两主要阀门关开启泄放阀可提高被系统的安全性。如果第 一个阀门泄漏,漏离的介质可由开启的泄放阀导出。
5、双密封方式:
两个独立的密封滑片在阀孔上下端压紧(双关断),当阀门关闭时,泄放阀被打开,检验密封效果(泄放)

GT气动开关型球阀性能规范公称通径mm
DN15-DN300
材料代号
C
P
R
主要
零件阀体
WCB
ZG1Cr18
Ni9TiZG1Cr18Ni
12Mo2Ti球体
2Cr13
1Cr18Ni9Ti
1Cr18Ni12MoTi
阀杆
2Cr13
1Cr18Ni9Ti
1Cr18Ni12MoTi
密封圈
增强聚四氟乙烯 对位聚苯 金属密封
填料
聚四氟乙烯 柔性石墨
适用
工况适用
介质蒸汽、
水、油品硝酸类
醋酸类
适用
温度-28℃ - 300℃
执行器
型号
DA/SR系列、GTD/GTE系列、QGSY系列等
气源
压力0.4-0.7MPa
试验压力
(Mpa)公称压力(Mpa)
压力级(class)
JIS(Mpa)
1.6
2.5
4.0
6.4
10.0
150
300
600
10K
20K
强度试验
2.4
3.8
6.0
9.6
15.0
3.1
7.8
15.3
2.4
3.8
密封试验
1.8
2.8
4.4
7.0
11.0
2.2
5.6
11.2
1.5
2.8
技术参数
执行器参数公称通径DN(mm) 15 20 25 32 40 50 65 80 100 125 150 200 额定流量系数KV 21 38 72 112 170 273 384 512 940 1452 2222 3589 公称压力(MPa) PN1.6、2.5、4.0、6.4 MPa;ANSI 150、300LB 允许压差(MPa) ≤公称压力 阀体形式 两段式铸造球阀 连接形式 法兰式、焊接式、螺纹式 阀芯形式 "O"型球形阀芯 密封填料 V型聚四氟乙烯填料、柔性石墨填料等 流量特性 近似快开型 动作范围 0~90° 泄露量Q 按GB/T4213-92,小于额定KV0.01% 可调范围 250:1 350:1 配置执行机构 可配GT、SR、ST、AT、AW等系列气动执行机构 控制方式 开关型(开关两位控制)、调节型(4~20mA控制) 执行器型号 GT、AT、AR、AW系列单双作用气动执行器 供气压力 0.4~0.7MPa 气源接口 G1/4"、G1/8"、G3/8"、G1/2" 环境温度 -30~+70℃ 作用形式 单作用执行机构:气关式(B)--失气时阀位开(FO);气开式(K)--失气时阀位关(FC)
双作用执行机构:气关式(B)--失气时阀位保持(FL);气开式(K)-- 失气时阀位保持(FL)可配附件 定位器、电磁阀、空气过滤减压器、保位阀、行程开关、阀位传送器、手轮机构等 
零件材料零件名称 材料 阀体 WCB 304(CF8) 316(CF8M) 316L(CF3M) 球体 2Cr13+氮化处理 304 316 316L 阀杆 2Cr13 304 316 316L 阀座密封圈 PTFE(聚四氟乙烯)、PPL(对位聚苯)、金属密封(硬质合金) 填料 V型PTFE四氟填料、柔性石墨 性能规范
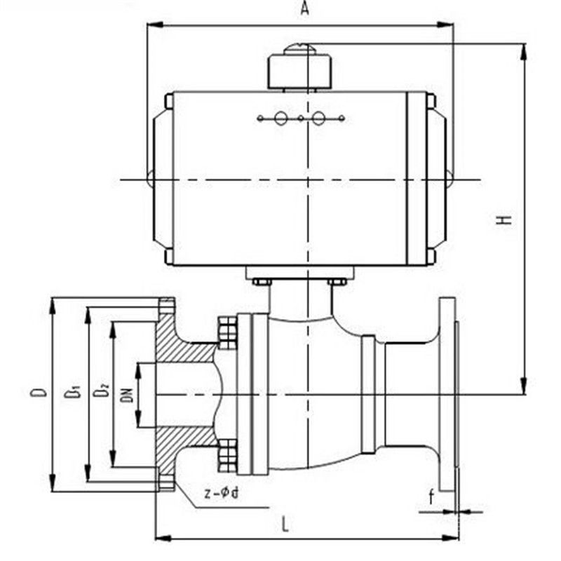
公称通径DN(mm) DN15-300 公称压力 PN(MPa) 1.0 1.6 2.5 4.0 6.4 试验压力 强度试验 1.5 2.4 3.75 6.0 9.60 密封试验 1.1 1.76 2.75 4.4 7.04 低压气密试验 0.5~0.7 适用介质 水、油、蒸气、硝酸类(温度≤200℃)、醋酸类(温度≤200℃) 公称通径
DN(mm)尺 寸(mm)
执 行 器 型 号
1.6MPa
2.5MPa
4.0MPa
L
D
D1
b
Z-фD
L
D
D1
b
Z-фD
L
D
D1
b
Z-фD
可选配DA/SR、QGSY、
SY-CH、GTD/GTE
AW/AWS、SY-YD、
系列执行器
以上选配仅供参考具体
选区用根据实际要求15
130
95
65
14
4-14
130
95
65
16
4-14
130
130
65
16
4-14
20
130
105
75
14
4-14
130
105
75
16
4-14
150
150
75
16
4-14
25
140
115
85
14
4-14
140
115
85
16
4-14
160
160
85
16
4-14
32
165
135
100
16
4-18
165
135
100
18
4-18
180
180
100
18
4-18
40
165
145
110
16
4-18
165
145
110
18
4-18
200
200
110
18
4-18
50
203
160
125
16
4-18
203
160
125
20
4-18
230
230
125
20
4-18
65
222
180
145
18
4-18
222
180
145
22
8-18
290
290
145
22
8-18
80
241
195
160
20
8-18
241
195
160
22
8-18
310
310
160
22
8-18
100
305
215
180
20
8-18
305
230
190
24
8-23
350
350
190
24
8-23
125
356
245
210
22
8-18
356
270
220
28
8-25
400
270
220
28
8-25
150
394
280
240
24
8-23
394
300
250
30
8-25
480
300
250
30
8-25
200
457
335
295
28
12-23
457
360
310
34
12-25
600
375
320
38
12-30

GT气动开关型球阀如何安装
1、取掉法兰端两边的保护盖,在阀打开的状态下进行冲洗清洁。
2、安装前应按规定的信号(电或气)进行整机测试(防止因运输产生振动影响使用性能),合格后方可上线安装(接线按电动执行机构线路图)。
3、准备与管道连接前,须冲洗和清除干净管道中残存的杂质(这些物质可能会损坏阀座和球)。
4、在安装期间,请不要用气动球阀的执行机构部分作为起重的吊装点,以避免损坏执行机构及附件。
5、气动球阀阀应安装在管道的水平方向或垂直方向。
6、安装点附近的管道不可有低垂或者承受外力的现象,可以用管道支架或者支撑物来消除管线的偏离。
7、与管道连接后,请用规定的扭矩交叉锁紧法兰连接螺栓。

订货须知:一、①产品名称与型号②口径③是否带附件以便我们的为您正确选型④的使用压力⑤的使用介质的温度。
二、若已经由设计单位选定公司的型号,请按型号直接向我司销售部订购。
三、当使用的场合非常重要或环境比较复杂时,请您尽量提供设计图纸和详细参数,由我们的阀门公司专家为您审核把关。如有疑问:请:我们一定会尽心尽力为您提供优质的服务。提供全面、阀门系统解决方案",也十分愿意帮助用户解决生产中所遇到的难题。 -
联系方式
- 联系人:申弘阀门
- 电 话:021-59260058
- 手 机:15901754341
- 传 真:86-021-31662735
- 邮 箱:494522509@qq.com
- 邮 编:201718
- 地 址:上海市青浦区金泽工业园区
- 网 址: https://bengye.cn.goepe.com/
http://www.021-fm.com
-
产品搜索






