-
AT气动调节型球阀申弘
详细信息| 询价留言AT气动调节型球阀产品说明
为实现上述目的,本实用新型提供如下技术方案:一种球阀球体与阀杆的连接结构,包括球体、上阀杆和下阀杆,所述球体上端开口处设有花键槽,所述上阀杆与阀杆通过花键槽花键连接,所述上阀杆的中间设有防吹法兰和密封圈,所述密封圈设置在靠近球体的一端,所述防吹法兰设置在密封圈的上端,所述上阀杆的顶端设有杆头,所述下阀杆与球体为一体焊接结构,所述下阀杆的下端部设有轴承,所述下阀杆与轴承转动连接。气动球阀配合换向电磁阀、限位开关及输入0.4~0.7MPa气源实现电气开关控制及阀位远程反馈。智能调节气动球阀配套电气定们器输入4-20mADC信号,可实现对压力、流量、温度、液位等参数的调节。气动球阀按其密封性能分为金属密封与软密封。特别适合于介质是粘稠、含颗粒、纤维性质的场合。可广泛应用于石油、化工、教学设备、轻工、高压设备、制药、造纸等工业自动控制系统中,作远距离集中控制或就地控制。

是一种转角为0-90°的旋转类阀门,密封性能优良,流量系数大,流阻系数小,结构简单,使用较长,便于维修。配用气缸式执行机构,球阀分单作用和双作用两种型号。产品应用于化工、石油、轻纺、电力、食品、制冷、造纸行业的系统控制。气动调节球阀主要用于截断或接通管路中的介质,可用于流体的调节与控制,它与其它阀类相比,AT气动调节型球阀具有以下一些优点:
(1)流体阻力小、球阀是阀类中流体阻力较小的一种,即使是缩径球阀,其流体阻力也相当小。
(2)止推轴承减小阀杆摩擦力矩,可使阀杆长期操作平衡灵活。
(3)阀座密封性能好,采用聚四氟乙烯等材料制成的密封圈,结构易于密封,而且球阀的阀封能力随着介质压力的增设而增大。
(4)阀杆密封好,由于阀杆只作旋转运动而不做升降运动,阀杆的填料密封不易破坏,且密封能力随着介质的压力增设而增大。
(5)由于聚四氟乙烯等材料具有良好的自润滑性,与球体的摩擦损失小,帮球阀的使用长。
(6)下装式阀杆和阀杆头部凸阶防止阀杆喷出,如造成阀杆密封破坏,凸阶与阀体间还可形成金属接触,使阀杆密封。

优选的,所述上阀杆、下阀杆和球体的均围绕同一轴心转动。
优选的,所述杆头为矩形状。
优选的,所述矩形状的杆头的四个角均为角度较大的圆弧状。
本实用新型的技术效果和优点:该球阀球体与阀杆的连接结构利用花键连接球体与上阀杆,不仅密封效果好,而且转动过程中阀杆承受的扭应力较少,同时利用下阀杆与球体的一体连接,且在下阀杆螺纹连接有轴承,将球体启闭过程中扭矩力传递给轴承,转矩小,阀座变形小,密封性能稳定,使用寿命长,适用于高压、大口径场合,不会造成泄漏现象的发生。

AT气动调节型球阀主要技术参数● 阀体
阀体形式 直通铸造球型阀 公称通径 DN15~300mm 公称压力 PN1.6、2.5、4.0、6.4 MPa;ANSI 150、300LB ;JIS 10、20、30K 法兰标准 JIS、ANSI、GB、JB、HG等 连接形式 法兰式、螺纹式、焊接式 阀盖形式 整体式 压盖型式 螺栓压紧式 密封填料 V型聚四氟乙烯填料、含浸聚四氟乙烯填料、石棉编织填料、柔性石墨 ● 阀内件
阀芯形式 O型球体阀芯 流量特性 快开特性 ● 执行机构
注:如需详细执行器参数,请进入气动执行器页面进行查阅。执行器型号 GT、SR、ST、AT、AW系列单双作用气动执行器 供气压力 0.4~0.7MPa 气源接口 G1/4"、G1/8"、G3/8"、G1/2" 环境温度 -30~+70℃ 作用形式 单作用执行机构:气关式(B)--失气时阀位开(FO);气开式(K)--失气时阀位关(FC)
双作用执行机构:气关式(B)--失气时阀位保持(FL);气开式(K)-- 失气时阀位保持(FL)可配附件 定位器、电磁阀、空气过滤减压器、保位阀、行程开关、阀位传送器、手轮机构等 ■ 流量系数Kv
公称通径 DN(mm) 15 20 25 32 40 50 65 80 100 125 150 200 250 300 额定流量系数KV 21 38 72 112 170 273 384 512 940 1452 2222 3589 5128 7359 参数表:
公称通径DN(mm)
DN15~DN400
公称压力
1.6、4.0、6.4MPa、ANSI150、300(Lb)、JIS10、20K
适用介质
水、石油、硝酸类、醋酸类、粘性流体、浆料、氧化性介质等
介质温度
-40~+180℃ -40~+350℃
泄漏量
0 符合ANSIB16.104 5级标准
球体转角
90°
阀体材制质
A105、F304、F316、WCB、FZG1Cr18Ni9Ti、ZG1Cr18Ni12Mo2Ti、CF8、CF8M、CF3M
阀座材料
聚四氟乙烯(常温)、PPL(高温)
防爆级组
dⅡBT4(d2c4)(可供普通型、防爆型二种规格)
电磁阀电源
220VAC、24VDC
气源压力 MPa
0.4~0.7MPa
固有可调比 R
100:1
AT气动调节型球阀流量特性Kv值:
公称通径
(DN)不同开度角下的Kv值
10°
20°
30°
40°
50°
60°
70°
80°
90°
50
2
4
9
17
32
60
97
151
215
80
6
11
22
44
83
155
250
389
550
100
9
18
34
71
133
248
398
620
890
150
20
40
80
160
300
560
900
1400
2000
200
36
72
143
286
737
1002
1611
2506
3580
250
57
113
226
453
848
1582
2253
3955
5650
300
81
163
325
651
1220
2278
3661
5695
8100
350
110
221
443
885
1750
3541
5311
7967
10950
400
150
303
605
1113
2424
4850
7275
10910
15300
■ 主要性能规范
试验压力(MPa) 公称压力(MPa) 压力级(class) JIS(K) 1.6 2.5 4.0 6.4 10.0 150 300 600 10K 20K 强度试验 2.4 3.75 6.0 9.6 15.0 3.0 7.5 16.5 2.4 3.8 密封试验 1.76 2.75 4.4 7.04 11.0 2.2 5.5 12.1 1.5 2.8 气密试验 0.4~0.7MPa ■ 主要零件材料
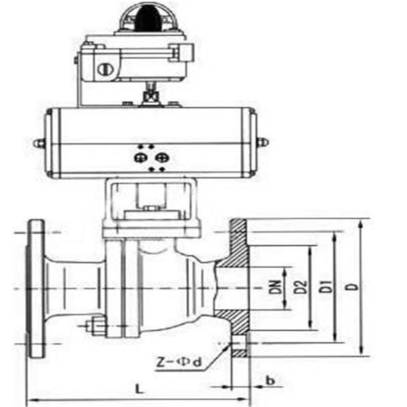
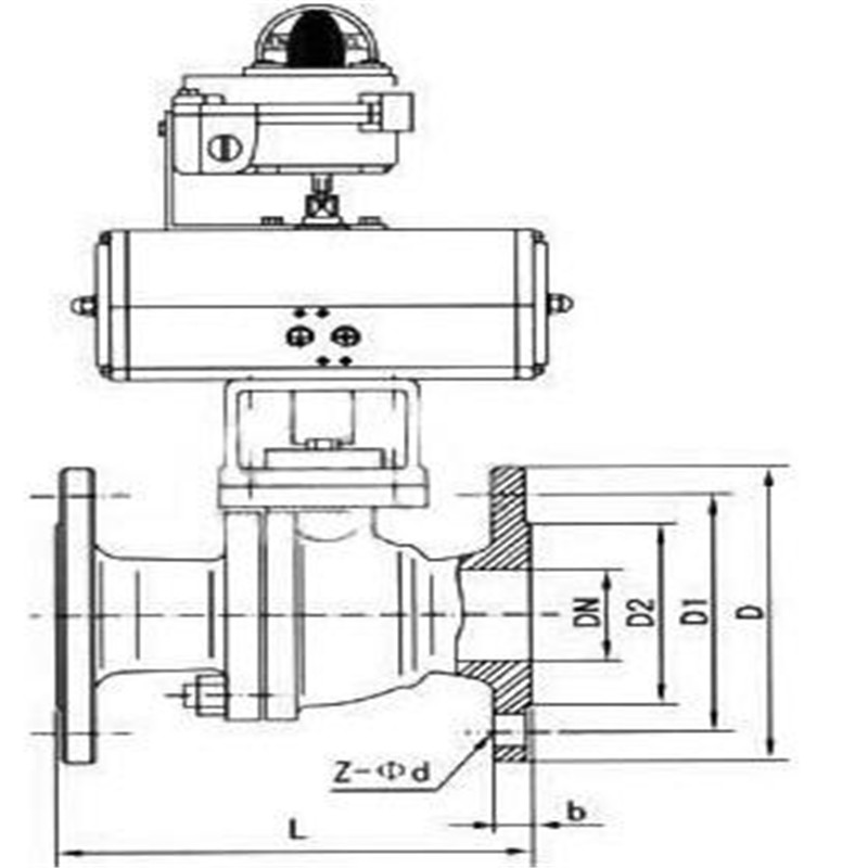
1 左阀体 WCB、CF8、CF8M、CF3M 2 右阀体 WCB、CF8、CF8M、CF3M 3 阀座 PEFE、PPL、304、316 4 球体 2Cr13、304、316 5 阀杆 2Cr13、304、316 6 密封填料 PTFE/柔性石墨 7 填料压盖 WCB、CF8、CF8M、CF3M ■ AT气动调节型球阀主要外形及连接尺寸
注:以上参数均以国标PN1.6MPa为准,其他压力等级请咨询公司技术部,表中尺寸为不带标准附件数据,另由于产品改进技术创新参数可能有一定变化,请咨询公司技术部门索取*新数据。公称通径 DN(mm) 15 20 25 32 40 50 65 80 100 125 150 200 250 300 L 130 140 150 165 180 200 220 250 280 320 360 400 630 750 H 44.5 49 55 65 65 75 90 95 115 127 140 172.5 310 350 H1 根据所配执行机构而定 D 95 105 115 140 150 165 185 200 220 250 285 340 405 460 D1 65 75 85 100 110 125 145 160 180 210 240 295 355 410 D2 46 56 65 76 84 99 118 132 156 184 211 266 319 370 n-φd 4-14 4-14 4-14 4-18 4-18 4-18 4-18 8-18 8-18 8-18 8-22 12-22 12-26 12-26 A、A1 根据阀门所需力矩而定,配置机型不同,外形尺寸也不相同 
*后应说明的是:以上所述仅为本实用新型的优选实施例而已,并不用于限制本实用新型,尽管参照前述实施例对本实用新型进行了详细的说明,对于本领域的技术人员来说,其依然可以对前述各实施例所记载的技术方案进行修改,或者对其中部分技术特征进行等同替换,凡在本实用新型的精神和原则之内,所作的任何修改、等同替换、改进等,均应包含在本实用新型的保护范围之内。

是在引进国外先进技术的基础上进行特殊设计,精心制造的产品。采用智能控制与定位,与电气阀门定位器配套,输入4-20mADC信号及0.4~0.7MPa气源即可控制运转,实现对压力、流量、温度、液位等参数的调节。它是以压缩空气为动力,阀杆带动阀芯在阀体内转动90°可以实现全开—全闭的动作。该产品按其密封性能分为金属密封与软密封。具有结构紧凑、体积精小、运行可靠、密封性好、维修容易、安装方便、适应性强等优点。特别适合于介质是粘稠、含颗粒、纤维性质的场合。可广泛应用于石油、化工、教学设备、轻工、高压设备、制药、造纸等工业自动控制系统中,作远距离集中控制或就地控制。
一、确认AT气动调节型球阀在安装前的准备工作
1、保证气动球阀安装位置管线在同轴位置上,管线上两片法兰应保持平行,确认管线能够承受球阀自身重量,如果发现管线不能承受球阀重量,则在安装前为管线配备相应的支撑。
2、确认管线内是否有杂质、焊渣等,必须要把管线内吹扫干净。
3、核对气动球阀铭牌,并对气动球阀进行全开全闭数次操作,确认阀门能够正常工作,再全面检查一次阀门的各个细节,保证阀门完好无损。
4、除去气动阀门两端的保护盖,检查阀体内是否干净,清洗阀体内腔,由于气动球阀的密封面是球形状,即使微小的杂物也可能造成密封面的损伤。

二、气动球阀的安装
1、气动球阀的任何一段都可安装在上游端,手柄球阀可以安装在管线的任何位置,如果配置执行机构(如齿轮箱、电-气动执行器)的球阀,则必须垂直安装,阀门进出口处在水平位置上。
2、气动球阀法兰与管线法兰间按管路设计要求装上密封垫。
3、法兰上的螺栓需对称、逐次、均匀拧紧。
4、如果球阀采取气动、电动等执行器时,按说明书完成气源、电源的安装。
三、气动球阀安装后的检查
1、安装完毕后,启动球阀开、关数次,应该动作灵活,受力均匀,球阀工作正常。
2、根据管道压力设计要求,通压后检测球阀与管道法兰结合面的密封性能。
四、气动球阀的维修
1、只有卸除球阀前后的压力,才能对气动球阀进行拆卸分解操作。
2、在对球阀的分解与再装配过程,需要对有密封性零部件的保护,特别是非金属零部件,像O型圈等部件使用专用的工具。
3、气动球阀阀体重新装配时螺栓必须对称、逐步、均匀地拧紧。
4、清洗剂应与球阀中的橡胶件、塑料件、金属件及工作介质(例如燃气)等均相容。工作介质为燃气时,可用汽油(GB484-89)清洗金属零件。非金属零件用纯净水或酒精清洗。
5、分解下来的单个零件可以用浸洗方式清洗。尚留有未分解下来的非金属件的金属件可采用干净的细洁的浸渍有清洗剂的绸布(为避免纤维脱落粘附在零件上)擦洗。清洗时须去除一切粘附在壁面上的油脂、污垢、积胶、灰尘等。
6、非金属零件清洗后应立即从清洗剂中取出,不得长时间浸泡。
7、清洗后需待被洗壁面清洗剂挥发后(可用未浸清洗剂的绸布擦)进行装配,但不得长时间搁置,否则会生锈、被灰尘污染。
8、新零件在装配前也需清洗干净。
9、使用润滑脂润滑。润滑脂应与球阀金属材料、橡胶件、塑料件及工作介质均相容。工作介质为燃气时,可用例如特221润滑脂。在密封件安装槽的表面上涂一薄层润滑脂,在橡胶密封件上涂一薄层润滑脂,阀杆的密封面及摩擦面上涂一薄层润滑脂。
10、装配时应不允许有金属碎屑、纤维、油脂(规定使用的除外)灰尘及其它杂质、异物等污染、粘附或停留在零件表面上或进入内腔。

订货须知:一、①产品名称与型号②口径③是否带附件以便我们的为您正确选型④使用压力⑤使用介质的温度。
二、若已经由设计单位选定公司的型号,请型号直接向我司销售部订购。三、当使用的场合非常重要或环境比较复杂时,请您尽量提供设计图纸和详细参数,由我们的阀门公司专家为您审核把关。产品所属球阀选型,感谢您访问我们申弘阀门的网站如有任何疑问.您可以致电给我们,我们一定会尽心尽力为您提供优质的服务。如需要了解更多其它阀类产品的信息可以点击减压阀查看。
-
联系方式
- 联系人:申弘阀门
- 电 话:021-59260058
- 手 机:15901754341
- 传 真:86-021-31662735
- 邮 箱:494522509@qq.com
- 邮 编:201718
- 地 址:上海市青浦区金泽工业园区
- 网 址: https://bengye.cn.goepe.com/
http://www.021-fm.com
-
产品搜索








