-
ANSI美标气动球阀申弘
详细信息| 询价留言ANSI美标气动球阀产品说明
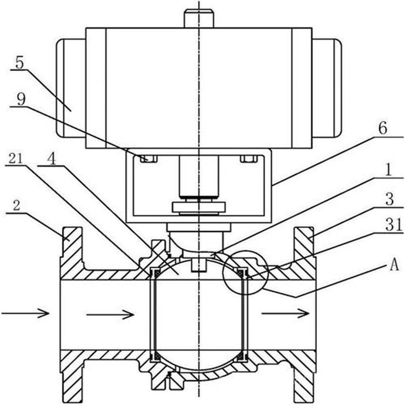
本实用新型涉及一种法兰式手动球阀,属于阀门技术领域。其包括右阀体、左阀体、密封圈、球体、阀杆、填料、填料压套、填料压板和手柄;所述右阀体内设有球体,球体两侧均通过密封圈卡于右阀体内壁;所述球体上方开有凹槽,凹槽内部设有阀杆,阀杆上自下而上依次设有填料、填料压套和填料压板,填料压板与右阀体通过螺栓固定连接;所述左阀体与右阀体通过螺栓连接,并通过密封圈进行密封;所述阀杆与手柄连接,手柄前端设有一凸起;所述阀杆内部中空。本实用新型结构简单,通过对阀杆和手柄的简单改造即可完成对阀门开闭的指示,同时,较为容易的对球阀进行一定程度的清洗,其开关轻便,体积小,密封可靠,结构简单,维修方便。球阀的球体是弹性的。球体和阀座密封圈都采用金属材料制造,密封比压很大,依靠介质本身的压力已达不到密封的要求,施加外力。这种阀门适用于高温高压介质。

阀体通道和连接管径相等并成一直径,介质几乎可以毫无损失的流过。气动球阀按其密封性能可分软密封阀座及金属密封阀座。软密封阀座适用于温度≤180°的场合,金属硬密封阀座适用于温度≤425°的场合。气动球阀通常用于密封要求严格的场合,除控制气体、液体、蒸汽介质外,还适宜控制污水和含有纤维性杂质的介质,广泛用于石油、化工、冶金、轻工、造纸、电站、制冷等工作领域。

美标气动球阀,美标气动法兰球阀(单作用气缸)(双作用气缸)无泄漏、重量轻、体积小。在实际运用中,它具有开关灵活、易损耗低、降低阀门维修工的劳动强度、节约维修资金作用。气动阀结构简单,使用寿命长,适用于几乎所有介质、耐高温、耐化学腐蚀。
弹性球体是在球体内壁的下端开一条弹性槽,而获得弹性。当关闭通道时,用阀杆的楔形头使球体涨开与阀座压紧达到密封。在转动球体之前先松开楔形头,球体随之恢复原原形,使球体与阀座之间出现很小的间隙,可以减少密封面的摩擦和操作扭矩。
A、开启过程
1、在关闭位置,球体受阀杆的[wiki]机械[/wiki]施压作用,紧压在阀座上。
2、当逆时针转动手轮时,阀杆则反向运动,其底部角形平面使球体脱开阀座。
3、阀杆继续提升,并与阀杆螺旋槽内的导销相互作用,使球体开始无摩擦地旋转。
4、直至到全开位置,阀杆提升到位置,球体旋转到全开位置。
B、关闭过程
1、关闭时,顺时针旋转手轮,阀杆开始下降并使球体离开阀座开始旋转。
2、继续旋转手轮,阀杆受到嵌于其上螺旋槽内的导销的作用,使阀杆和球体同时旋转90°。
3、快要关闭时,球体已在与阀座无接触的情况下旋转了90°。
4、手轮转动的几圈,阀杆底部的角形平面机械地楔向压迫球体,使其紧密地压在阀座上,达到密封。

ANSI美标气动球阀结构特点
1、 启闭无摩擦。这一功能解决了传统[wiki]阀门[/wiki]因密封面之间相互摩擦而影响密封的问题。
2、 上装式结构。对装在管道上的阀门可直接在线检查与维修,能减少装置停车,降低成本。
3、 单阀座设计。阀门中腔介质因异常升压而影响使用的问题。
4、 低扭矩设计。结构设计的阀杆,只需配一个小手把阀门就能轻松启闭。
5、 楔形密封结构。阀门是靠阀杆提供的机械力,将球楔压到阀座上而密封,使阀门的密封性不受管线压差变化的影响,在各种工况下密封性能都有可靠保证。
6、 密封面的自清洁结构。当球体倾离阀座时,管线中的流体沿球体密封面成360°均匀通过,不仅高速流体对阀座局部的冲刷,也冲走了密封面上的聚积物,达到自清洁的目的。

ANSI美标气动球阀执行器美标气动球阀执行器技术参数 美标气动球阀阀体参数 类 型 双作用活塞式、弹簧复位式 公称通径 DN15~200mm 气源压力 双作用:2-8bar/单作用:4-8bar 公称压力 PN1.6、2.5、4.0、6.4MPa 输出力矩 双作用:4N·M~10560N·M 阀轴材质 不锈钢 单作用:7N·M~2668N·M 阀体材质 球墨铸铁、碳钢、304/316/316L不锈钢 工作温度 常温型:-20℃~80℃(丁腈橡胶O型圈) 球体材质 304/316/316L不锈钢 高温型:-20℃~160℃(氟橡胶O型圈) 阀座密封 PTFE、PPL、金属密封 动作范围 0~90°±5° 温 度 PTFE≤180℃、PPL≤350℃、金属密封≤450℃ 接口螺纹 GTD40~GTD83/ATD50~ATD88 G1/8″ 适用介质 水、石油、粘性流体、浆料、强氧化性介质等 GTD110~GTD350/ATD100~200 G1/4″ 阀位信号 定位器:4~20mA/回信器:全开全关信号 特 点 连线简单,结构紧凑、阻力小、动作稳定 
执行机构技术参数执行器型号 AT、AW系列单、双作用气动执行器 供气压力 0.4~0.7MPa 气源接口 G1/4"、G1/8"、G3/8"、G1/2" 环境温度 -30~+70℃ 作用形式 单作用执行机构:气关式(B)--失气时阀位开(FO);气开式(K)--失气时阀位关(FC)
双作用执行机构:气关式(B)--失气时阀位保持(FL);气开式(K)-- 失气时阀位保持(FL)可配附件 定位器、电磁阀、空气过滤减压器、保位阀、行程开关、阀位传送器、手轮机构等 技术参数
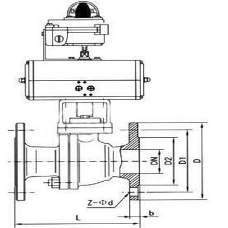
设计标准 AP16D ANSI B16.34 法兰连接结构长度 AP16D ANSI B16.10 结构长度(焊接) AP16D ANSI B16.10 连接法兰 ANSI B16.5、B16.47 对焊端 ANSI B16.25 试验和检验 AP16D AP1598 名称 WCB类 CF8类 CF3类 CF8M类 CF3M类 阀体左体 A216-WCB A315-CF8 A35-CF3 A351-CF8M A351-CF3M 球体 B2-B8 A105-1025 A182-F304L A182-F304L A132-F316 A182-F316L B8以上 A216-WCB A351-CF8M A351-CF3 A351-CF8M A351-CF3M 阀杆 A182-F6a A182-F304 A182-F304L A182-F336 A182-F316L 阀座 PTFE/增强PTFE/NYLIN PTFE/Reinforced PTFE/Nyion 阀座支承圈 A105-1025 A182-F304 A182-F304L A182-F316 A182-F316L 弹簧 3yc-7/17-49H O形圈 NBR 氟橡胶 螺柱 A193-B7 A193-B8 螺母 A194-2H A194-8 七、产品结构尺寸:Q641H气动美标球阀-150LB IN
DN
L
D
D1
D2
b
Z-φd
1/2″
15
108
89
60.5
35
12
4-φ15
3/4″
20
117
98
70
43
12
4-φ15
1″
25
127
108
79.5
51
12
4-φ15
1 1/2″
40
165
127
98.5
73
14
4-φ16
2″
50
178
152
120.5
92
16
4-φ19
2 1/2″
65
190
178
139.5
105
18
4-φ19
3″
80
203
190
152.4
127
20
4-φ18
4″
100
229
229
190.5
157
24
8-φ18
6″
150
394
279
241.5
216
26
8-φ22
8″
200
457
343
298.5
270
29
8-φ22
10″
250
533
406
362
324
31
12-φ25
12″
300
610
483
432
381
32
12-φ25
Q641H气动美标球阀-300LB IN
DN
L
D
D1
D2
b
Z-φd
1/2″
15
140
95
66.5
35
15
4-φ15
3/4″
20
152
117
82.5
43
16
4-φ19
1″
25
165
124
89
51
18
4-φ19
1 1/2″
40
190
156
114.5
73
20.7
4-φ22
2″
50
216
165
127
92
22.3
8-φ22
2 1/2″
65
241
190
149
105
25.4
8-φ22
3″
80
283
210
168.5
127
28.5
8-φ22
4″
100
305
254
200
157
31.8
8-φ23
6″
150
403
318
270
216
36.6
12-φ22
8″
200
502
381
330
270
42
12-φ25
10″
250
568
444
387.5
324
48
16-φ29

使用寿命长,适用于几乎所有介质、耐高温、耐化学腐蚀。无泄漏、重量轻、体积小。气动美标软密封/硬密封球阀在实际运用中,它具有开关灵活、易损耗低、降低阀门维修工的劳动强度、节约维修资金作用。气动美标浮动式球阀采用唇型弹性密封圈结构设计,保证密封的可靠性对于低压、超低压或真空工况用球阀,采用板簧加载的阀座密封结构,能确保球阀长期可靠的密封。

*步:检查电磁阀,气源处理器,限位开关等配件是否正确安装。
第二步:接通压缩空气,将气源处理器上的减压阀调解旋钮轻轻往上提,顺时针转是增加气源压力,逆时针转是减小气源压力。出厂调试时,我们一般使用4—5公斤压力,调整好压力后按下旋钮固定气压。
第三步:按下电磁阀的开关按钮,检查球阀是否能开关到位,运作正常。如果发现球阀开或关不到位,我们可以通过气缸上面的两个螺栓来调整。左边的螺栓是调开,右边的螺栓是调关。当球阀开不到位的时候,把左边前面的螺帽稍微往后退一点,幅度不要太大,避免过头。待球阀开到位的时候,我们把后面的螺帽拧紧,这样就固定好了;当球阀关不到位的时候,把右边前面的螺帽稍微往后退一点,待阀门关到位的时候,再把后面的螺帽拧紧。
第四步:检查限位开关是否开关到位,确保使用现场信号正常反馈。以上就是我为大家讲解的气动球阀的凋试方法。
阀座采用挠性的唇缘结构,具有磨损补偿和中腔自动泄压作用,因而密封可靠,寿命长。执行机构采用公司的GT系列活塞气动执行机构。该执行机构具有体积小,重量轻、输出力大等特点,且活塞和缸体间配有摩擦系数较低的非金属导向环,避免了活塞与缸体的直接接触。降低了摩擦力,因而执行机构动作灵敏、使用寿命长。

订货须知:一、①产品名称与型号②口径③是否带附件以便我们的为您正确选型④的使用压力⑤的使用介质的温度。
二、若已经由设计单位选定公司的型号,请按型号直接向我司销售部订购。
三、当使用的场合非常重要或环境比较复杂时,请您尽量提供设计图纸和详细参数,由我们的阀门公司专家为您审核把关。如有疑问:请:我们一定会尽心尽力为您提供优质的服务。提供全面、阀门系统解决方案",也十分愿意帮助用户解决生产中所遇到的难题。 -
联系方式
- 联系人:申弘阀门
- 电 话:021-59260058
- 手 机:15901754341
- 传 真:86-021-31662735
- 邮 箱:494522509@qq.com
- 邮 编:201718
- 地 址:上海市青浦区金泽工业园区
- 网 址: https://bengye.cn.goepe.com/
http://www.021-fm.com
-
产品搜索







