-     BSRB保温篮式过滤器申弘详细信息| 询价留言BSRB保温篮式过滤器产品说明 用于水、油、气管道和各种设备上不可缺少的一种保温装置,通常装在减压阀、泄压阀、定水位阀或其他设备的进口端,用来清楚介质中的杂质,以保护阀门及设备的正常使用。该过滤器具有结构简单,阻力小,排污方便等特点。一般用水滤网采用18~30目/英寸,通气滤网40~100目/英寸,如用户有特殊要求过滤网可定制。篮式保温过滤器是在篮式过滤器的基础上焊装金属夹套,用于注入通蒸汽或导热油,以保持或提高流体的温度,防止流体凝固,提高粘性液体的过滤速度,或满足下一道工序对温度的要求。 
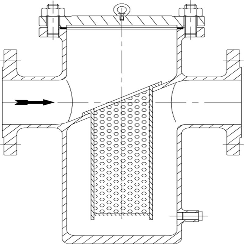
  篮式保温过滤器采用整体式夹套结构设计,更能均匀地保温、保冷,夹套采用碳素钢管焊接比铸造的更加耐压牢固。夹套、阀体外侧与夹套接管焊接,允许蒸汽或冷水的*高压力为1MPa。通过设置若干个滤网组成的滤网组件可以使得整体过滤器的过滤效果更好。通过在滤筒上设置与安装槽相对应的凸起部,可以使得滤筒能够更好的安装在阀本体内,起到更好的固定效果,并且后续对于拆卸滤筒也只需要将凸起部脱离安装槽即可以脱卸,拆卸也方便。通过在阀盖与阀本体接触外围设置密封圈,可以进一步的防止阀本体内的液体漏出,起到更好的封闭效果。所述所述滤筒顶部所在平面与滤筒底部所在平面所呈角度为30°-60°,可以使得滤筒在阀本体内部多占面积更大,能够更好的过滤,并且由于清洗堵头在滤筒上方,能够达到更好的清洗效果。 
  进一步的,所述滤网组件由相互之间平行的*过滤网、第二过滤网和第三过滤网构成,所述*过滤网、第二过滤网和第三过滤网所在的平面与阀盖所在平面平行。通过设置平行的*过滤网、第二过滤网和第三过滤网,可以起到更好的过滤效果,避免了一次过滤不彻底的问题。 进一步的,所述*过滤网、第二过滤网和第三过滤网上均设置有滤孔,所述*过滤网上滤孔的孔径大于第二过滤网上的滤孔孔径,所述第二过滤网上滤孔的孔径大于第三过滤网上的滤孔孔径。 通过在*过滤网、第二过滤网和第三过滤网上均设置有滤孔,并且*过滤网上滤孔的孔径大于第二过滤网上的滤孔孔径,第二过滤网上滤孔的孔径大于第三过滤网上的滤孔孔径,即孔径逐步递减,可以逐层进行过滤,达到更好的过滤效果并且能够更好的过滤不同孔径的杂质,进行更好的区分和分层。 进一步的,所述滤网中部设置有加强环,所述加强环四周设置有斜向加强筋。 通过设置加强环和斜向加强筋,可以更好的加强滤网的强度,避免在使用过程中滤网变形从而降低过滤的效果。 进一步的,所述斜向加强筋的数量不少于三个。 进一步的,所述阀盖上设置有台阶部,所述阀本体末端设置有与台阶不相匹配的限位槽。 进一步的,所述阀盖与阀本体之间设置有垫片。通过在阀盖和阀本体之间设置垫片,可以起到更好的固定以及密封的效果,也防止了阀盖与阀本体的直接接触,避免了使用过程中相互之间的磨损。 进一步的,还包括设置在阀盖上的放空阀,所述放空阀一端伸于滤筒内。 
  BSRB保温篮式过滤器工作原理: 夹层型保温型过滤器为双层结构,许多液体为了获得良好的输送性能,或者因温度下降会结晶或凝固,通常在过滤时对其保温,以使过滤更加容易进行或满足下道工序对温度的要求,这时保温夹层式过滤器便是您的上佳之选。中间层可以通导热油或蒸汽保温或加油,以保持或提高流体的温度,防止流体凝固,提高粘性液体的过滤速度,或满足下一道工序对温度的要求。 产品特点: 1、采用整体式夹套结构设计,更能均匀地保温、保冷。 2、夹套采用碳素钢管焊接比铸造的更加耐压牢固。 3、阀门的通径和管径一至,介质呈直线流动,阻力小,能有效降低管路中介质热量的损失。 
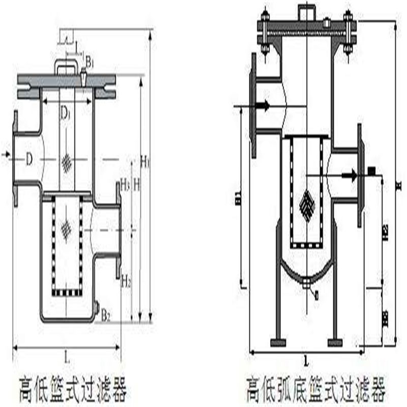
  BSRB保温篮式过滤器主要零部件材料表 序号 零件名称 材料名称 SRB-I-C SRB-I-P SRB-I-PL SRB-I-R SRB-I-RL 1 法 兰 WCB 304 304L 316 316L 2 阀 体 WCB 304 304L 316 316L 3 滤 网 304、304L、316、316L 4 滤 篮 304、304L、316、316L 5 螺栓螺帽 WCB/35# 304 304L 316 316L 6 密封件 金属石墨、丁腈橡胶、聚四氟乙烯 7 排污口 WCB 304 304L 316 316L 8 阀 盖 WCB 304 304L 316 316L 设计标准 HG/T 21627-91、GB/T 14382-93、SH/T 3411-99 法兰标准 GB/T 9112-2000、HG 20592-97、HG 20615-97 结构长度标准 GB/T 12221 试验与检验标准 JB/T 9092 BSRB保温篮式过滤器外形尺寸: 直通不锈钢篮式过滤器外形尺寸 mm 公称直径DN 主要尺寸 排放□“B” 参考重量(kg) φ L H1 H2 H(拆卸滤网距离) 25 76 220 160 260 480 R1/2" 12 32 76 220 165 270 495 16 40 114 280 180 300 550 23 50 114 280 180 300 550 28 65 140 330 220 350 650 48 80 168 340 260 400 740 65 100 219 420 310 470 880 R3/4" 126 150 273 500 430 620 1175 248 200 325 560 530 780 1875 292 250 426 660 640 930 2170 415 300 478 750 840 1200 2690 596 高低不锈钢篮式过滤器外形尺寸 mm 公称直径DN 主要尺寸 排放□“B” 参考重量(kg) φ L H1 H2 H3 H(拆卸滤网距离) 25 76 220 110 70 280 520 R1/2" 15 32 76 220 110 70 285 525 19 40 114 280 120 100 340 630 24 50 114 280 120 100 340 630 29 65 140 330 160 110 400 750 40 80 168 340 180 140 460 860 55 100 219 420 220 170 550 1040 R3/4" 103 150 273 500 310 220 720 1375 181 200 325 560 390 280 900 2005 303 250 426 660 480 320 1070 2320 439 300 478 750 640 400 1360 2870 625  
 夹套保温篮式过滤器用于注入蒸汽或导热油,以保持或 提升流体的温度,防止物料凝固,提高粘性液体的过滤速度,或满足下一道工序对温度的要求。本产品特别适合于一些低温环境下或 者粘度高的介质的过滤,被广泛应用于石油、化工、沥青、冶金、制药、食品等各类系统中。
  保温篮式过滤器是我厂为满足一些流体过滤时需对其保温才能获得良好的输送性能,或根据用户工况的需要,克服介质 因温度下降易结晶、凝固,而设计制造的一款产品。其在普通篮式过滤器的基础上焊装保温夹套。采用整体式保温夹套设计,筒体为双层结构,中间层可以通导热油或蒸汽,能更均匀地保温、保冷,以 使过滤更加容易进行,其夹套层选用碳素钢或不锈钢管焊接,比铸造的更加耐压牢固,夹套、壳体外侧与夹套接管焊接,具有良好的 保温保冷特性,同时又能有效降低管路中介质热量损失,通常用于过滤常温下会凝固的高粘度介质,如:胶水、粘胶剂、树脂、油 墨、油漆、沥青等。 
  采用整体式夹套结构设计,更能均匀地保温、保冷,夹套采用碳素钢管焊接比铸造的更加耐压牢固。夹套、阀体外侧与夹套接管焊接,允许蒸汽或冷水的高压力为1MPa。保温篮式过滤器是用于水、油、气、沥青等管路和各种设备上不可缺少的一种保温装置,通常安装在减压阀、泄压阀、定水位器或其它设备的进口端,用来清除介质中的杂质,以保护阀门及设备的正常使用。保温过滤器具有结构简单,阻力小,排污方便等优点。在阀体外部焊装有金属夹套,并设有夹套接口,可涵入蒸气或其它过热气体,以保护阀内介质不会在常温下凝固或结晶。同一规格口径的情况下,保温型过滤器的连接尺寸要比Y型过滤器大一到两个规格。保温篮式过滤器是在篮式过滤器的基础上焊装金属夹套,用于注入通蒸汽或导热油,以保持或提高流体的温度,防止流体凝固,提高粘性液体的过滤速度,或满足下一道工序对温度的要求。 BSRB保温篮式过滤器维护与保养: 1、过滤器的核心部位是过滤器芯件,过滤芯由过滤器框和不锈钢钢丝网组成,不锈钢钢丝网属易损件,需特别保护; 2、当过滤器工作一段时间后,过滤器芯内沉淀了一定的杂质,这时压力降增大,流速会下降,需及时清除过滤器芯内的杂质; 3、清洗杂质时,特别注意过滤芯上的不锈钢钢丝网不能变形或损坏,否则,再装上去的过滤器,过滤后介质的纯度达不到设计要求,压缩机、泵、仪表等设备会遭到破坏; 4、如发现不锈钢钢丝网变形或损坏,需马上更换。 订货须知: 一、①产品名称与型号②口径③是否带附件以便我们的为您正确选型④的使用压力⑤的使用介质的温度。 
 二、若已经由设计单位选定公司的型号,请按型号直接向我司销售部订购。三、当使用的场合非常重要或环境比较复杂时,请您尽量提供设计图纸和详细参数,由我们的阀门公司专家为您审核把关。如有疑问:请:我们一定会尽心尽力为您提供优质的服务。提供全面、*的“阀门系统解决方案",也十分愿意帮助用户解决生产中所遇到的难题。 
- 
- 留 言- 联系人:申弘阀门
- 电 话:021-59260058
- 手 机:15901754341
- 传 真:86-021-31662735
- 邮 箱:494522509@qq.com
- 邮 编:201718
- 地 址:上海市青浦区金泽工业园区
- 网 址:	      https://bengye.cn.goepe.com/	      	        
 http://www.021-fm.com
 
- 
产品搜索









 
														 
														 
														 
														 
														 
														 
														 
														 
														 
														 
														