-
ZPG直通式反冲洗过滤器申弘
详细信息| 询价留言ZPG直通式反冲洗过滤器产品说明
本实用新型属于给水领域的一种水过滤装置。目前,市场上比较常用的过滤器是在Y形壳体的内部装有过滤网,并在壳体上装有排污口,核心装置滤网是用于阻挡杂质通过的水质过滤装置,排污阀的作用是将滤出的杂质排出。然而,水体中含有的杂质成分较为复杂,一些诸如絮状物、粘滞物及水中浮游物类的杂质,很容易粘附在滤网上而难于脱落,它不象固体颗粒状的杂质可以沉淀,并可通过排污口排出,因此滤网容易被堵塞,影响水体的流通效率。

本实用新型的主要目的在于,克服现有技术的缺点,提供一种可以对核心装置——滤网进行反向冲洗的过滤器,它可以在不经过对过滤器本身进行拆卸的情况下,将滤网上粘附的杂质清除干净,提高过滤效率。直通式反冲洗排污过滤器是一种集通用的过滤功能和在系统运行不停机的前提下对滤筒进行清洗并排污的多功能使用产品,它设计了全新的结构形式,在滤筒的前段设置阀板,通过手柄调节阀位置,来改变水对滤筒的流向,利用管道内水压及水流推动的作用对滤筒进行自清洗,省去了传统过滤清洗必须将滤筒进行清洗的烦恼,使清洗操作简便可靠且排污时间短。按安装形式及水流方向的不同分为直通式和直角式两种。

ZPG直通式反冲洗过滤器原理
水通过入口进入,首先通过粗滤网过滤出较大颗粒的杂质,然后到达细滤网。在过滤过程中,细滤网逐渐将水中的污物和杂质积累起来,形成过滤杂质层。当杂质层积聚在细滤网的内侧时,在细滤网的内侧和外侧形成压力差。

当过滤器的压差达到预设值时,自动清洗过程将开始。在此期间,清洁水供应不会停止流动,清洁阀将打开,清洁室和吸污装置中的水压将大大降低。通过滤筒和吸污管之间的压力差,将通过吸嘴在吸污管和清洁室之间产生吸力,形成吸污过程。同时,电机带动吸管沿轴向做螺旋运动。吸污装置的轴向运动和旋转运动的结合完全清洁了整个过滤网的内表面。整个冲洗过程只需要几十秒钟。清洗结束时,排放阀关闭。过滤器开始为下一个冲洗循环做准备。
待处理的水通过入口进入,水中的杂质沉积在不锈钢过滤网上,从而产生压力差。压差开关用于监控入口和出口处的压差变化。当压差达到设定值时,电子控制器向液压控制阀和驱动电机发送信号,引起以下动作:电机驱动刷子旋转,清洁滤芯,同时控制阀打开排放污水。整个清洁过程只需要持续几十秒钟。清洗结束后,关闭控制阀,电机停止转动,系统返回初始状态,开始进入的下一个过滤过程。设备安装后,技术人员将对其进行调试,设置过滤时间和清洗转换时间,待处理的水将进入进水口进入。过滤器将开始正常工作。
水通过进水口进入的过滤器,首先通过粗滤芯组件过滤掉较大颗粒的杂质,然后到达细滤网。细滤网过滤掉细小颗粒中的杂质后,清水从出水口排出。在过滤过程中,细滤网内层的杂质逐渐积累,在细滤网的内外两侧形成压差。当压差达到预设值时,自动清洗过程开始:排水阀打开,主管总成的液压马达室和液压缸泄压排水;液压马达室和污水吸入管中的压力大大降低。由于负压,细滤网内壁上的污物通过吸嘴被吸入,然后从液压马达流入液压马达室,并从排污阀排出,形成污水吸入过程。当水流过液压马达时,吸污管被驱动旋转,液压缸的活塞带动吸污管轴向运动,吸污装置组件通过轴向运动和旋转运动的结合将整个过滤网的内表面彻底清洗干净。整个清洁过程将持续几十秒钟。清洗结束时,排放阀关闭。增加的水压将使液压缸活塞返回其原始位置,过滤器将开始为下一个冲洗循环做准备。在清洗过程中,过滤器的正常过滤工作是不间断的。

A.正常过滤时:水流通过转向阀为开启状态。当水通过滤网后将水中的细小颗粒杂质及悬浮物由于惯性作用沉积在排污口附近。
B.冲洗排污时:水流转向阀为开启状态。当滤网截留水中的细小颗粒杂质及悬浮物达到一定数量时,将排污口上的阀门打开,即由于水流的作用将粘在过滤器收集段部分的杂质冲质冲洗直到排出水清澈为止。再关闭排污口上的阀门进入正常工作状态。
C.反冲洗排污时:水流转向阀为关闭状态,排污阀开启,这时水流被迫从过滤网筒的入口段网孔进入过滤筒外侧与壳体夹层,反向从网筒外侧冲洗粘附在网孔上的杂质,达到清洁过滤网的目的。由于转向阀关闭,水经过反冲阀后流带增大,反洗效果好。

自动反冲洗排污过滤器宜安装在直角弯管上,自动反冲洗排污过滤器宜水平或垂直安装,直通式当垂直安装时,水流方向应该是自上而下,安装时应注意外客上箭头方向必须与水流方向一致,正常运行时,蝶阀处于开启状态,当需要排污时,关闭蝶阀,打开排污阀直至排出水质变清为止,开启蝶阀,即完成排污过程。可保泵阀使用延长寿命等优点。

ZPG直通式反冲洗过滤器特点
a.全自动反冲排污过滤器采用多个滤筒过滤,有效过滤面积大,压力损失小。设计过滤面积为进出口面积的3~5倍。
b.全自动反冲排污过滤器维修、维护方便:设置检修人孔,装卸滤筒方便,反冲洗过滤器
c.全自动反冲排污过滤器采用多滤筒过滤、逐个滤筒清洗的结构,清洗时不间断供水。
d.全自动反冲排污过滤器程序控制:可根据用户现场实际情况需要设定系统的各项参数。
e.反冲洗过滤器先进的控制系统:控制系统的精确度高,并可根据不同水质调整其工作模式和运行状态,以提高其适应水质能力。
f.反冲洗过滤器方便的控制方式:压差/时间同时控制或分别控制,可根据实际工况及需求任意选择,自动运行;同时设手动/自动转换开关,控制方式可预先设定,并可实现电气互锁,
g.反冲洗过滤器设有就地控制,必要时可设远传控制转换开关,以实现就地操作和远控操作。
h.反冲洗过滤器留有运行状态输出、故障报警输出等功能,保证设备使用在安全可靠条件下

规格尺寸表
规格型号
D
DN1(排污口)
L
L2
H
ZPG- I/40
76
15
230
70
88
ZPG- I/50
89
15
345
80
95
ZPG- I/65
108
20
280
95
108
ZPG- I/80
133
25
320
105
125
ZPG- I/100
159
32
350
110
145
ZPG- I/125
219
40
435
150
155
ZPG- I/150
273
50
525
180
210
ZPG- I/200
325
65
680
205
250
ZPG- I/250
377
80
850
230
275
ZPG- I/300
426
100
925
245
310
ZPG- I/350
478
125
1100
275
360
ZPG- I/400
560
150
1300
400
410
ZPG- I/450
630
150
1400
430
445
ZPG- I/500
720
150
1500
450
485
ZPG- I/600
820
150
1600
460
545
壳体材质
碳钢
滤网材质
不锈钢
工作压力
0.6-2.5MPa
适用介质
无腐蚀性水、中性液体
滤网规格
2-300目
适用温度
≤100℃
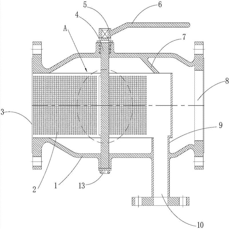
本实用新型的目的是这样实现的它由壳体、顶盖、滤网、阀瓣、阀杆、手柄、密封圈和排污口组成。其特征在于壳体为X形,上部有一顶盖,底部有一个排污口,内部装有滤网和阀瓣;滤网为圆筒形,进水口侧向外翻边,其外边缘与壳体内径相等,外侧表面与壳体内侧有间隙;阀瓣置于滤网进水口一侧,并通过与顶盖贯通的阀杆和手柄连接;阀杆与顶盖之间有密封圈密封,

安装注意事项
1、安装只需按照设备筒体上箭头指示进水方向连接在管路上;
2、设计、安装时应尽量考虑排污口在下部,便于杂物的顺利排放;
3、排污管就近接入排水沟,且应保持排污顺畅;
4、为便于观察系统工况和日常操作,应在进、出口安装压力表和手动阀门;
5、排污时,应根据排污情况,通过开关阀门,对滤网冲洗10-60秒。
订货须知:
一、①产品名称与型号②口径③是否带附件以便我们的为您正确选型④的使用压力⑤的使用介质的温度。
二、若已经由设计单位选定公司的型号,请按型号直接向我司销售部订购。
三、当使用的场合非常重要或环境比较复杂时,请您尽量提供设计图纸和详细参数,由我们的阀门公司专家为您审核把关。如有疑问:请:我们一定会尽心尽力为您提供优质的服务。提供全面、*的“阀门系统解决方案",也十分愿意帮助用户解决生产中所遇到的难题。 -
联系方式
- 联系人:申弘阀门
- 电 话:021-59260058
- 手 机:15901754341
- 传 真:86-021-31662735
- 邮 箱:494522509@qq.com
- 邮 编:201718
- 地 址:上海市青浦区金泽工业园区
- 网 址: https://bengye.cn.goepe.com/
http://www.021-fm.com
-
产品搜索








