-
ZSQ气动活塞切断阀申弘
详细信息| 询价留言ZSQ气动活塞切断阀 产品说明
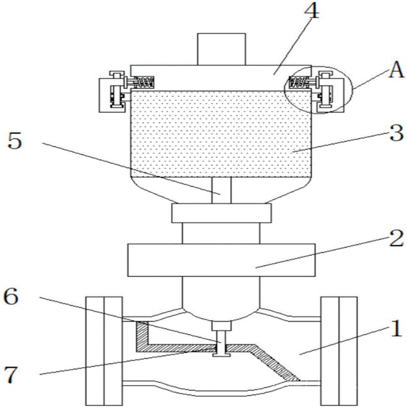
本实用新型涉及一种气动活塞切断阀,其特征在于:是由气动活塞双作用执行机构、手轮、支架、连接螺母、上阀盖、六角螺栓、阀体和阀芯组成,采用气动活塞双作用执行机构和切断机构两部分,在气动活塞双作用执行机构中:气动活塞双作用执行机构上设有手轮通过连接螺母与支架连接,支架设置在阀体的顶部;切断机构中:阀芯设置在阀体内,阀芯采用单导向平衡平板式结构,上阀盖通过六角螺栓与阀体连接。本实用新型具有结构简单、操作方便、使用可靠、快速关闭、用于切断等特点。主要应用于无杂质、无颗粒的液体、气体介质,要求快速严密关闭、快速放空的制动化控制系统中。通常用于石油、化工、冶金、电站等行业的自动控制和远程控制。

本实用新型属于一种液体输送管道阀门,特别涉及一种气动活塞切断阀。气动活塞式切断阀由气动活塞式执行机构与直行程调节机构二部分组成,中间由支架连接而成。根据调节机构的型式,气动活塞式切断阀可分为直通单座切断阀(ZSQP型)、直通套筒切断阀(ZSQM型)、二位三通切断阀(ZSQN型)三种型式。气动活塞式执行机构有单作用(弹簧复位)和双作用(双进气)二种。采用单作用执行机构,整机作用方式可分为气关式(水平管路接通)和气开式(水平管路断开)。气动活塞式切断阀有硬密封和软密封两种密封形式,分别适用于不同的温度及压力。

当信号压力为零,由于弹簧(单作用仅有)的预紧力,使阀芯处于初始状态(常开或常闭)。当执行机构接到信号压力(0.4~0.6MPa)时,活塞上产生推力,压缩弹簧,带动推杆、阀体、阀芯移动到极限位置,使阀门全开或全关。达到对管道内介质接通、切断或管路间切换控制。配用二位三通电磁阀,使活塞式切断阀控制更加方便、简捷。
目前,国内在液体输送管道阀门上,传统设置的调节阀门,存在重量大、体积大、流量小等问题,由于抗磨损和抗挤出性能较差,因此,不适合石油、化工、冶金、电站、建材、玻璃和轻工等行业的自动控制和远程控制。

ZSQ气动活塞切断阀主要技术参数
● 阀体
阀体形式 直通铸造阀体 公称通径 DN20~100mm 公称压力 PN1.6、2.5、4.0、6.4 MPa(国标);ANSI 150、300LB(美标) ;JIS 10、20、30K(日标) 法兰标准 GB、JB、ANSI、JIS、HG等 连接形式 法兰式 (RF、FF) 阀盖形式 (常温型) 标准型 压盖型式 螺栓压紧式 密封填料 V型聚四氟乙烯填料、含浸聚四氟乙烯填料、石棉编织填料、柔性石墨 ● 阀内件
阀芯形式 单座、套筒、双座型阀芯 流量特性 快开特性 
■ ZSQ气动活塞切断阀主要性能指标公称通径 mm 20 25 32 40 50 65 80 100 额定流量系数Kv 7 11 20 30 48 75 120 190 额定行程 mm 8 12 20 25 气缸直径 mm 75 100 150 允许泄
露量硬密封 单座、双座:1.2X10 -7 X 阀额定容量;套筒: 5X10 -6 X 阀额定容量 软密封 VI 级 允许压差MPa ≤ 公称压力 信号压力KPa 0 或 400 ~ 600 ■ 主要性能规范
试验压力(MPa) 公称压力(MPa) 压力级(class) JIS(K) 1.6 2.5 4.0 6.4 10.0 150 300 600 10K 20K 强度试验 2.4 3.75 6.0 9.6 15.0 3.0 7.5 16.5 2.4 3.8 密封试验 1.76 2.75 4.4 7.04 11.0 2.2 5.5 12.1 1.5 2.8 气密试验 0.5~0.7MPa 
■ ZSQ气动活塞切断阀主要外形及连接尺寸公称通经 20 25 32 40 50 65 80 100 125 150 200 A 196 232 308 394 498 L PN16 150 160 180 200 230 290 310 350 400 480 600 H 340 345 370 380 390 475 490 500 765 825 927 H1 53 58 70 75 83 93 100 110 125 143 170 重量(kg) 标准型 10 12 15 18 23 35 45 60 75 90 120 注:以上参数均为PN1.6MPa为准,其他压力等级请咨询公司技术部,表中尺寸为不带标准附件数据,另由于产品改进技术创新参数可能有一定变化,请咨询公司技术部门索取*新数据。
本实用新型克服了上述存在的缺陷,目的是为提高阀门快速关闭、用于切断,实现石油、化工、冶金、电站等行业的自动控制和远程控制,提供一种气动活塞切断阀
本实用新型气动活塞切断阀,其特征在于:是由气动活塞双作用执行机构、手轮、支架、连接螺母、上阀盖、六角螺栓、阀体和阀芯组成,采用气动活塞双作用执行机构和切断机构两部分,在气动活塞双作用执行机构中:气动活塞双作用执行机构上设有手轮通过连接螺母与支架连接,支架设置在阀体的顶部;切断机构中:阀芯设置在阀体内,阀芯采用单导向平衡平板式结构,上阀盖通过六角螺栓与阀体连接。本实用新型气动活塞切断阀,具有结构简单、操作方便、使用可靠、快速关闭、用于切断等特点。主要应用于无杂质、无颗粒的液体、气体介质,要求快速严密关闭、快速放空的制动化控制系统中。通常用于石油、化工、冶金、电站等行业的自动控制和远程控制。

ZSQ气动活塞切断阀请按以下指示进行安装:
(1)取掉法兰端两边的保护盖,在阀打开的状态下进行冲洗清洁。
(2)安装前应按规定的信号(电动或气动)进行整机测试(防止因运输产生振动影响使用性能),合格后方可上线安装(接线按电动执行机构线路图)。
(3)准备与管道连接前,须冲洗和清除干净管道中残存的杂质(这些物质可能会损坏阀座和球)。
(4)在安装期间,请不要用阀的执行机构部分作为起重的吊装点,以避免损坏执行机构及附件。
(5)本类阀应安装在管道的水平方向或垂直方向。
(6)安装点附近的管道不可有低垂或者承受外力的现象,可以用管道支架或者支撑物来消除管线的偏离。
(7)与管道连接后,请用规定的扭矩交叉锁紧法兰连接螺栓。
本实用新型涉及一种气动活塞切断阀,其特征在于:是由气动活塞双作用执行机构、手轮、支架、连接螺母、上阀盖、六角螺栓、阀体和阀芯组成,采用气动活塞双作用执行机构和切断机构两部分,在气动活塞双作用执行机构中:气动活塞双作用执行机构上设有手轮通过连接螺母与支架连接,支架设置在阀体的顶部;切断机构中:阀芯设置在阀体内,阀芯采用单导向平衡平板式结构,上阀盖通过六角螺栓与阀体连接。本实用新型具有结构简单、操作方便、使用可靠、快速关闭、用于切断等特点。主要应用于无杂质、无颗粒的液体、气体介质,要求快速严密关闭、快速放空的制动化控制系统中。通常用于石油、化工、冶金、电站等行业的自动控制和远程控制。本实用新型属于一种液体输送管道阀门,特别涉及一种气动活塞切断阀。气动活塞式切断阀由气动活塞式执行机构与直行程调节机构二部分组成,中间由支架连接而成。根据调节机构的型式,气动活塞式切断阀可分为直通单座切断阀(ZSQP型)、直通套筒切断阀(ZSQM型)、二位三通切断阀(ZSQN型)三种型式。气动活塞式执行机构有单作用(弹簧复位)和双作用(双进气)二种。采用单作用执行机构,整机作用方式可分为气关式(水平管路接通)和气开式(水平管路断开)。气动活塞式切断阀有硬密封和软密封两种密封形式,分别适用于不同的温度及压力。
当信号压力为零,由于弹簧(单作用仅有)的预紧力,使阀芯处于初始状态(常开或常闭)。当执行机构接到信号压力(0.4~0.6MPa)时,活塞上产生推力,压缩弹簧,带动推杆、阀体、阀芯移动到极限位置,使阀门全开或全关。达到对管道内介质接通、切断或管路间切换控制。配用二位三通电磁阀,使活塞式切断阀控制更加方便、简捷。
目前,国内在液体输送管道阀门上,传统设置的调节阀门,存在重量大、体积大、流量小等问题,由于抗磨损和抗挤出性能较差,因此,不适合石油、化工、冶金、电站、建材、玻璃和轻工等行业的自动控制和远程控制。本实用新型克服了上述存在的缺陷,目的是为提高阀门快速关闭、用于切断,实现石油、化工、冶金、电站等行业的自动控制和远程控制,提供一种气动活塞切断阀。

订货须知:
一、①产品名称与型号②口径③是否带附件以便我们的为您正确选型④的使用压力⑤的使用介质的温度。
二、若已经由设计单位选定公司的型号,请按型号直接向我司销售部订购。三、当使用的场合非常重要或环境比较复杂时,请您尽量提供设计图纸和详细参数,由我们的阀门公司专家为您审核把关。如有疑问:请:我们一定会尽心尽力为您提供优质的服务。提供全面、*的“阀门系统解决方案",也十分愿意帮助用户解决生产中所遇到的难题。
-
联系方式
- 联系人:申弘阀门
- 电 话:021-59260058
- 手 机:15901754341
- 传 真:86-021-31662735
- 邮 箱:494522509@qq.com
- 邮 编:201718
- 地 址:上海市青浦区金泽工业园区
- 网 址: https://bengye.cn.goepe.com/
http://www.021-fm.com
-
产品搜索






