-
Y44H直接作用式波纹管蒸汽减压阀申弘
详细信息| 询价留言Y44H直接作用式波纹管蒸汽减压阀 产品说明
直接作用式波纹管减压阀主要由阀座、阀瓣(钢球)、波纹管组合件、弹簧等零件组成,通过调节弹簧设定出口压力,当出口压力减少时阀瓣开度增大,当出口压力达到预定压力时阀瓣开度减小,主要是通过介质的阀后压力作用在波纹管的面积上传感给调节弹簧实现减压、稳压功能。使用时通过旋转塑料手轮即可调节压力,无需工具调节,连接安装方便.内部结构使用波纹管,密封面带有过滤网保护装置,不容易损坏内部零件,大大提高使用寿命。适用于温度≤ 220 ℃的蒸汽、水和气体 管道。

结构说明:
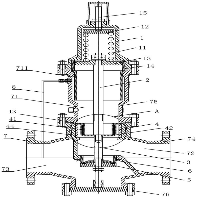
本阀是由阀体、阀盖、阀瓣、阀体密封圈、阀杆、波纹管、调节弹簧等零件组成,体腔组装有阀瓣、阀体密封圈和辅弹簧,辅弹簧是保持阀瓣和阀体密封圈自动的密封,出口体腔组装弹性密封元件(波纹管)即阀后介质压力的泄漏和克服压力不均匀度的补偿。螺钉是调整弹簧负荷压力。
当阀腔入口通过介质时,减压阀进入工作状态,介质经过阀座通道,顶开阀瓣,介质进入阀腔B,同时介质通过导管进入阀腔C,当阀腔B、C压力上升时,中焊接盘作用在阀杆上的力逐渐增加,力通过阀杆作用在阀瓣上,阀瓣向下运动,当B、C腔压力上升到一定值时,阀瓣产生足够的密封力,使减压阀的阀瓣完全密封。使阀A腔的介质不能流入B腔,因为中焊接盘的面积S2与阀瓣上部面积S3的和比阀体阀座通道的截面积S1大。所以通过面积比可以达到减压目的。

当阀后压力下降时(即B、C腔的压力下降时),作用在中焊接盘上的力减小,使阀杆作用在阀瓣上的力减小,使A腔介质顶开阀瓣进入B、C腔,达到新的平衡。
本实用新型具有阀杆轴向运动自由的特性,具有理想的工作性能,灵敏度高,使用寿命长,阀后压力稳定。
阀前进口介质压力从阀瓣和阀体密封圈开启间隙进入体腔使介质压力流满波纹管的组合箱,波纹管和弹簧因受介质压力的挤压而压缩,阀瓣随着阀杆位移,阀瓣产生对阀体密封圈的关闭,将阀前介质截止,不作阀后介质压力的补充。当阀后的介质压力降低,波纹管因受调节弹簧的径项力,使波纹管叠纹变形,阀杆将阀瓣顶开。使介质通过阀体密封圈补充阀后压力的降低。
Y44H直接作用式波纹管蒸汽减压阀工作原理和结构说明:
1、阀前进口介质压力从阀瓣和阀体密封圈开启间隙进入体腔使介质压力流满波纹管的组合箱,波纹管和弹簧因受介质压力的挤压而压缩,阀瓣随着阀杆位移,阀瓣产生对阀体密封圈的关闭,将阀前介质截止,不作阀后介质压力的补充。当阀后的介质压力降低,波纹管因受调节弹簧的径项力,使波纹管叠纹变形,阀杆将阀瓣顶开。使介质通过阀体密封圈补充阀后压力的降低。
2、本阀是由阀体、阀盖、阀瓣、阀体密封圈、阀杆、波纹管、调节弹簧等零件组成,体腔进口组装有阀瓣、阀体密封圈和辅弹簧,辅弹簧是保持阀瓣和阀体密封圈自动的密封,出口体腔组装弹性密封元件(波纹管)即保证阀后介质压力的泄漏和克服压力不均匀度的补偿。螺钉是调整弹簧负荷压力减压阀工作性能。
Y44H直接作用式波纹管蒸汽减压阀性能指标:
公称压力(Mpa) 0.6 1.0 1.6 壳体试验压力(Mpa)* 0.9 1.5 2.4 密封试验压力(Mpa) 0.6 1.0 1.6 进口压力(Mpa) 0.6 1.0 1.6 出口压力范围(Mpa) 0.05-0.4 0.1-0.8 0.1-1.0 压力特性偏差(Mpa)△P2P GB12244-1989 流量特性偏差(Mpa)△P2G GB12244-1989 压差(Mpa) 0.1 0.15 0.15 渗漏量 GB12245-1989 *:壳体试验不包括波纹管,壳体耐压试验时,取下波纹管组件后进行。
波纹管减压阀主要零件材料:零件名称 零件材料 阀体 阀盖 WCB 底盖 WCB 阀座 阀瓣 2Cr13 波纹管 1Cr18Ni9Ti 波纹管上垫 2Cr13 波纹管下垫 2Cr13 导向座 2Cr13 主阀弹簧 50CrVA 调节弹簧 60Si2Mn 公称通径DN 外形尺寸 连接尺寸 L H H1 PN1.6MPa PN1.6MPa PN1.6MPa 0.6/1.0MPa 1.6MPa D K n-Φ d C D K n-Φ d C D K n-Φ d C 15 140 140 290 90 80 55 4-12 40 12 95 65 4-14 45 12 95 65 4-14 45 14 20 140 140 295 98 90 65 4-12 50 12 105 75 4-14 55 14 105 75 4-14 55 14 25 160 160 295 110 100 75 4-12 60 14 115 85 4-14 65 14 115 85 4-14 65 14 32 1080 180 295 110 120 90 4-14 70 14 135 100 4-18 78 16 135 100 4-18 78 16 40 200 200 325 125 130 100 4-14 80 14 145 110 4-18 85 16 145 110 4-18 85 16 50 230 230 325 125 150 110 4-14 90 14 160 125 4-18 100 16 160 125 4-18 100 16 65 280 325 130 160 130 4-14 110 14 180 145 4-18 120 18 180 145 4-18 120 18 80 310 380 160 185 150 4-18 125 16 195 160 4-18 135 18 195 160 8-18 135 20 100 350 380 170 205 170 4-18 145 16 215 180 8-18 155 20 215 180 8-18 155 20

本阀是由阀体、阀盖、阀瓣、阀体密封圈、阀杆、波纹管、调节弹簧等零件组成,体腔进口组装有阀瓣、阀体密封圈和辅弹簧,辅弹簧是保持阀瓣和阀体密封圈自动的密封,出口体腔组装弹性密封元件(波纹管)即保证阀后介质压力的泄漏和克服压力不均匀度的补偿。螺钉是调整弹簧负荷压力减压阀工作性能

Y44H直接作用式波纹管蒸汽减压阀调压步骤:
1、关闭减压阀前的闸阀,开启减压阀后的闸阀,制造下游低压环境;将调节螺钉按逆时针旋转至上位置(相对低出口压力),然后关闭减压阀后闸阀。
2、慢慢开启减压阀前的闸阀至全开。
3、顺时针慢慢旋转调节螺钉,将出口压力调至所需要的压力(以阀后表压为准);调整好后,将锁紧。
4、螺母锁紧打开减压阀后闸阀。
5、如在调整时出口压力高于设定压力,须从1.开始重新调整,即只能从低压向高压调。
订货须知:
一、①产品名称与型号②口径③是否带附件以便我们的为您正确选型④的使用压力⑤的使用介质的温度。
二、若已经由设计单位选定公司的型号,请按型号直接向我司销售部订购。三、当使用的场合非常重要或环境比较复杂时,请您尽量提供设计图纸和详细参数,由我们的阀门公司专家为您审核把关。如有疑问:请:我们一定会尽心尽力为您提供优质的服务。提供全面、*的“阀门系统解决方案",也十分愿意帮助用户解决生产中所遇到的难题。
-
联系方式
- 联系人:申弘阀门
- 电 话:021-59260058
- 手 机:15901754341
- 传 真:86-021-31662735
- 邮 箱:494522509@qq.com
- 邮 编:201718
- 地 址:上海市青浦区金泽工业园区
- 网 址: https://bengye.cn.goepe.com/
http://www.021-fm.com
-
产品搜索






