-
申弘气动偏心半球阀PQ640F
详细信息| 询价留言PQ640F气动偏心半球阀产品概述
本实用新型涉及阀门,具体地说是双偏心半球阀。上海申弘阀门有限公司经营的气动偏心半球阀(凸轮挠曲调节阀)属于角行程阀,是由角行程活塞式气动执行器及和偏心半球阀组成,气动偏心半球阀可配以阀门定位器输入控制信号(4-20mADC或1-5VDC)气源即可控制运转。气动偏心半球阀利用偏心阀体,偏心球体和阀座,阀杆作旋转运动时在共同轨迹自动定心,关闭过程中越关越紧,完全达到良好的密封目的。阀门的球体和阀座完全脱离,消除了密封圈的磨损,克服了传统球体阀座与球体密封面始终磨损的问题,非金属弹性材料被嵌入金属座中,阀座金属面受到良好的保护。本产品特别适用于钢铁业,铝业,纤维,微小固体颗粒,纸浆,煤灰,石油气等介质。亦可配行程限位开关、电磁阀、减压阀及0.4-0.7MPa气源可实现开关操作,并送出二对无源触点信号指示阀门的开关。气动偏心半球阀是一种由部分球阀板绕偏心轴心旋转来控制流体的角行程调节阀。

双偏心半球阀传统产品阀门流道直径较小、球和阀杆之间以销键连接,容易引起 间隙、松动、影响球和阀座的中心移位、擦伤密封面。上阀杆无定位设计、使用时管道压力升 高时阀杆向上推动、同时球也一起往上稍微移动、这样容易破坏上口密封座。密封面材料效 果不佳、硬度不够、缩短阀门寿命。阀座定位不牢、易松动、影响密封效果、甚至不能使用、阀 门结构长度较短、整体难看。
实用新型内容
(一)要解决的技术问题本实用新型的目的是针对现有技术存在的缺陷,提供双偏心半球阀,解决了现有 技术存在的密封效果不好、阀杆和球体松动、阀门寿命短的问题。
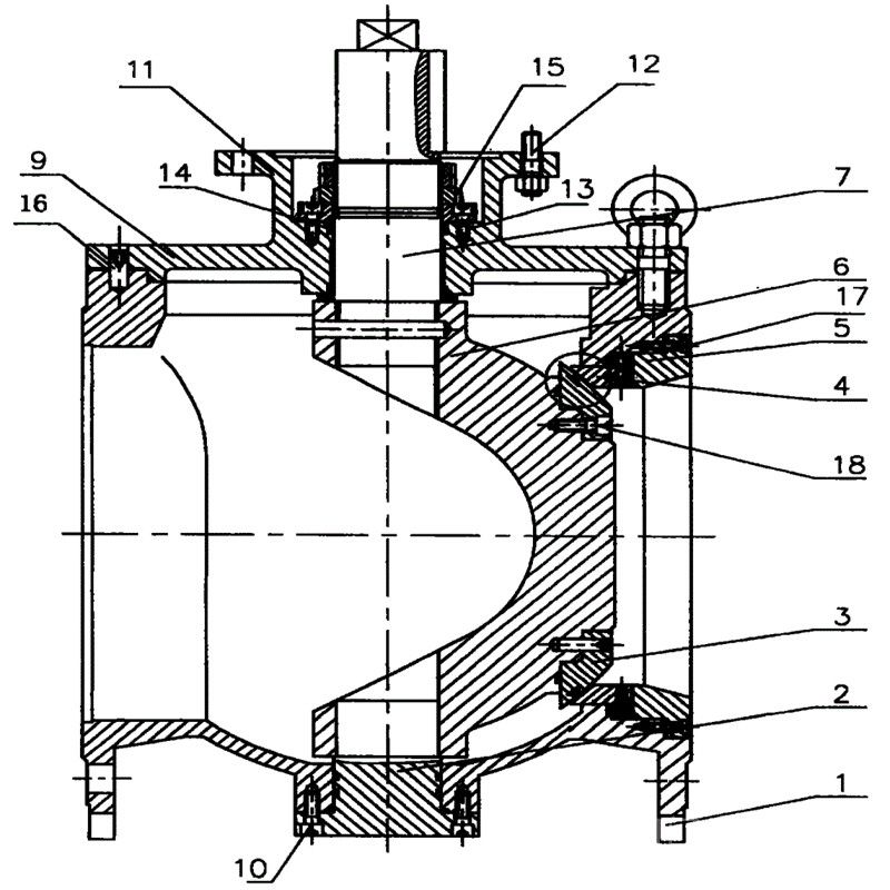
( 二 )技术方案本实用新型解决其技术问题所采用的技术方案是双偏心半球阀,其结构包括阀 体及阀体内部的阀杆和球体,所述球体和阀体设置的阀座相贴合对应;所述阀体通过外六 角螺柱连接在气动执行器下方的机架上,所述阀杆为上下阀杆分别通过复合铜套和花键连 接于球体上下两端的阀体内,所述上阀杆复合铜套上方设置有套在上阀杆上的定位套。所述阀座通过定位销连接住压板,阀座及压板通过内六角螺柱、垫片连接在阀体 上,所述垫片为复合石墨垫片。所述上阀杆上的定位套上方设有填料,并通过填料压盖、双头螺柱及螺帽固定在 阀体上,所述填料上设置有定位销。所述下阀杆下端的阀体上通过内六角螺柱、金属垫片安装有底盖。
(三)有益效果本实用新型的双偏心半球阀和现有技术相比,具有以下有益效果本实用新型不仅结构长度合理、阀门流量大,而且阀座和球密封面采用了特殊材 料耐腐蚀、耐冲击、耐磨损、硬度较高,*低HRC(42 46)*高HRC(48 53)能有效的延 长阀门使用寿命。阀杆和球之间连接是以花键方式、解决了球和阀杆产生的松动问题、而影 响密封效果整台阀门所有的密封垫、都采用了复合石墨垫片、解决了高温的难题、上阀杆设 计加了定位套、使球部不产生一点分开、完全保证了密封效果。阀座定位严紧、采用了内六 角销钉固定、使阀座无一点移动、开关若干次、阀座不会有移位现象、从而保证密封效果。上海申弘阀门有限公司主营阀门有:减压阀(气体减压阀,可调式减压阀,水减压阀

气动偏心半球阀阀体结构短,操作扭矩小,球芯呈半球形状,是一种比较理想设计的产品,当阀门开启或关闭时,能借助偏心的作用,使密封面与球面不产生直接连接性的摩擦,能有效的提高阀门的使用寿命,又有效的防止阀门在高温作用下开启却不能关闭或关闭却不能开启状况,维修方便,球阀结构简单,密封圈一般都是活动的,拆卸更换都比较方便。在全开或全闭时,球体和阀座的密封面与介质隔离,介质通过时,不会引起阀门密封面的侵蚀。适用范围广,通径从小到几毫米,大到几米,从高真空*压力都可应用。
PQ640F气动偏心半球阀工作原理:
是靠旋转阀链来使阀门畅通或闭塞。球阀开关轻便,体积小,可以做成很大口径,我公司*大口径可做到1800mm,密封可靠,结构简单,维修方便,密封面与球面常在闭合状态,不易被介质冲蚀,在各行业得到广泛的应用。 我公司的设计标准:制造按GB/T12224,结构长度按GB/T12221,法兰按:国标GB/T9113-2010 化工部按HG20592-2009

执行机构
执行器型号 GT、SR、ST、AT、AW系列单双作用气动执行器 供气压力 0.4~0.7MPa 气源接口 G1/4"、G1/8"、G3/8"、G1/2" 环境温度 -20~+90℃ 作用形式 单作用执行机构:气关式(B)--失气时阀位开(FO);气开式(K)--失气时阀位关(FC)
双作用执行机构:气关式(B)--失气时阀位保持(FL);气开式(K)-- 失气时阀位保持(FL)可配附件 定位器、电磁阀、空气过滤减压器、保位阀、行程开关、阀位传送器、手轮机构等 主要材质
序号名称
代号
材料
WCB
304 CF8
316 CF8M
1
阀体
WCB ZG230-450
0Cr18Ni9
0Cr18Ni12Mo2Ti
2
下端盖
Q235-A
1Cr18Ni9Ti
0Cr18Ni12Mo2Ti
3
内六角圆柱头螺钉
GB/T70-2000
Q235-A
1Cr17Ni2
0Cr18Ni12Mo2Ti
4
下固定轴调节螺栓
Q235-A
1Cr17Ni2
1Cr17Ni2
5
六角螺母
GB/T6710-2000
Q235-A
1Cr17Ni2
1Cr17Ni2
6
下垫片
不锈钢柔性石墨;PTFE;316夹柔性石墨
7
下轴承
0Cr18Ni9Ti
0Cr18Ni9Ti
0Cr18Ni12Mo2Ti
8
下固定轴
2Cr13
304
0Cr18Ni12Mo2Ti
9
球体
ZG2Cr13
0Cr18Ni9
0Cr18Ni12Mo2Ti
10
阀座压圈
Q225-A
1Cr18Ni9Ti
0Cr18Ni12Mo2Ti
11
阀座
Q225-A
PTFE/1Cr18Ni12Mo2Ti
PTFE/1Cr18Ni12Mo2Ti
12
内六角圆柱头螺钉
GB/T70-2000
Q235-A
1Cr17Ni2
1Cr17Ni2
13
阀座垫片
不锈钢柔性石墨
1Cr17Ni2
0Cr18Ni12Mo2Ti
14
阀杆
2Cr13
1Cr18Ni9Ti
0Cr18Ni12Mo2Ti
15
上轴承
0Cr18Ni9Ti
0Cr18Ni9Ti
0Cr18Ni12Mo2Ti
16
对开圆环
1Cr18Ni9Ti
1Cr18Ni9Ti
1Cr18Ni9Ti
17
定位圈
1Cr13
1Cr18Ni9Ti
1Cr18Ni9Ti
18
填料
柔性石墨
柔性石墨;PTFE
柔性石墨;PTFE
19
六角螺塞垫片
0Cr18Ni9Ti
0Cr18Ni9Ti
0Cr18Ni9Ti
20
六角螺塞
2Cr13
1Cr17Ni2
1Cr17Ni2
21
六角螺塞
2Cr13
1Cr17Ni2
1Cr17Ni2
22
支架
WCB ZG230-450
WCB;304
WCB;304
23
双头螺栓
GB/T901-1988
35CrMoA
1Cr17Ni2
1Cr17Ni2
24
六角螺母
GB/T6170-2000
Q245-A
0Cr18Ni9
0Cr18Ni9
25
填料压套
1Cr13
1Cr18Ni12Mo2Ti/1Cr18Ni9
1Cr18Ni12Mo2Ti/1Cr18Ni9
26
填料压板
WCB
0Cr18Ni9
0Cr18Ni9
27
双头螺栓
GB/T901-1988
35CrMoA
1Cr17Ni2
1Cr17Ni2
28
六角螺母
GB/T6170-2000
Q245-A
0Cr18Ni
0Cr18Ni
29
六角螺栓
GB/T5783-200
Q235-A
1Cr17Ni2
1Cr17Ni2
30
驱动装置
31
六角螺塞垫片
0Cr18Ni9Ti
0Cr18Ni9Ti
0Cr18Ni9Ti
32
六角螺塞
2Cr13
0Cr18Ni9Ti
0Cr18Ni9Ti
性能范围
材料性能材料代号
WCB
304
316
304L
316L
321
ZG230
0Cr18Ni9(CF8)
1Cr18Ni12Mo2Ti
(CF8M)00Cr18Ni10
(CF3)00Cr17Ni14Mo2
(CF3M)ZG7Cr18Ni9T
(F347)适用介质
水、油品、蒸汽
硝酸类
醋酸类
强氧化介质
尿素等腐蚀介质
硝酸类
测试范围Mpa
项目
公称压力
壳体压力试验
密封测试
上密封测试
低压密封测试
探伤测试
试验介质
水 Mpa
水 Mpa
水 Mpa
气 Mpa
GB/T6440-1992
时间
(S)
120
60
60
0.5~0.6
压力测试
1.0Mpa
1.5
1.1
1.1
1.6Mpa
2.4
1.76
1.76
2.5Mpa
3.75
2.75
2.75
主要性能指标
公称通径 DN(mm) 25 32 40 50 65 80 100 125 150 200 250 300 额定流
量系数
KV全腔型 14 25 30 55 100 135 230 320 500 850 1300 1750 60%腔型 - - - - - - - - 300 510 780 1050 40%腔型 6 10 12 20 40 54 92 128 200 340 520 700 允许压差(MPa) ≤ 公称压力 动作范围 全开60° 泄露量Q 软密封VI级、硬密封IV级,符合ANSI B16.104标准 基本误差 带定位器:小于全行程的±2% 回差 带定位器:小于全行程的2% 可调范围 全腔型(100:1)、60%腔型(60:1)、40%腔型(40:1) 公称通径 DN(mm) 25 32 40 50 65 80 100 125 150 200 250 300 L 法兰式 102 102 114 124 143 165 194 213 229 243 297 338 对夹式 62 62 62 75 80 100 115 130 160 200 240 334 H 60 60 65 95 105 120 140 155 165 205 240 270 H1 根据所配执行机构而定 D 115 140 150 165 185 200 220 250 285 340 405 460 D1 85 100 110 125 145 160 180 210 240 295 355 410 D2 65 76 84 99 118 132 156 184 211 266 319 370 b 16 18 18 20 20 20 22 22 24 24 26 28 A、A1 根据阀门所需力矩而定,配置机型不同,外形尺寸也不相同 注:以上参数均以国标PN1.6MPa为准,其他压力等级请咨询公司技术部,表中尺寸为不带标准附件数据,另由于产品改进技术创新参数可能有一定变化,请咨询公司技术部门索取*新数据。

阀杆和球之间连接是以花键方式、解决了球和阀杆产生的松动问题、而影 响密封效果整台阀门所有的密封垫、都采用了复合石墨垫片、解决了高温的难题、上阀杆设 计加了定位套、使球部不产生一点分开、完全保证了密封效果。阀座定位严紧、采用了内六 角销钉固定、使阀座无一点移动、开关若干次、阀座不会有移位现象、从而保证密封效果。以上所述实施例,只是本实用新型较优选的具体的实施方式的一种,本领域的技 术人员在本实用新型技术方案范围内进行的通常变化和替换都应包含在本实用新型的保 护范围内。是由引进德国活塞式气动执行器及和偏心半球阀组成,气动偏心球阀可配以阀门定位器输入控制信号(4-20mADC或1-5VDC)气源即可控制运转。也可配行程限位开关、电磁阀、减压阀及0.4-0.7MPa气源可实现开关操作,并送出二对无源触点信号指示阀门的开关。气动偏心半球阀是一种由部分球阀板绕偏心轴心旋转来控制流体的角行程调节阀。阀芯的回转中心不与旋转轴同心,可减少磨损,延长使用寿命,阀芯后部设有一个导流翼,有利于流体稳定流动,气动偏心调节阀具有良好的稳定性。其次,还有流量大,可调范围广等特点。
要求双偏心半球阀,其结构包括阀体及阀体内部的阀杆和球体,所述球体和阀体设置的阀座相贴合对应;其特征在于所述阀体通过外六角螺柱连接在气动执行器下方的机架上,所述阀杆为上下阀杆分别通过复合铜套和花键连接于球体上下两端的阀体内,所述上阀杆复合铜套上方设置有套在上阀杆上的定位套。对于偏心半球阀来说,安装是其使用的*个关键步骤,安装的好坏将直接影响到阀门后期的稳定性,那么在安装过程中我们需要注意哪些要点呢?

1、在安装使用之前,必须对阀门进行安装前的检查和开关运行试验,只有在运行动作正常的条件下,才能安装使用。
2、安装要尽可能使阀门与管路法兰同心,并加支撑固定,不能使球阀受其它外力作用,以免损坏阀门的中密封及阀门变形。
3、要保证气动球阀及气动元件所提供的动力气源必须是洁净,尽可能不带油污及水。
4、气动执行器、电磁阀、定位器、过滤器、减压阀等的连接,可用铜管或尼龙管,为以防防尘及减小噪声,排气口应安装消声器或消声节流阀。
5、接入气源之前,必须清洁供气管路,气源接口和开关等器件,以防由于管路不清洁带上污物和泥沙冲入气动执行单元而造成故障。
6、安装好以后,对阀门应进行试验,给气动执行器加压至额定值,压力为0.4~0.7mpa,对气动球阀进行开关试验,观察阀门的开闭情况,应转动灵活无卡阻现象。在开关如有卡阻现象可增高气压,反复开关使阀门调到开关灵活即可。

PQ640F气动偏心半球阀保管、保养、安装和使用
5.1阀门应存放在干燥,通风的室内,阀门通道两端应堵塞。
5.2长期存放的阀门应定期检查,清除污物。应特别注意密封面的清洁,防密封面的损坏。
5.3安装前应仔细核对阀门标志是否与使用要求相符。
5.4安装前应检查阀门通道和密封面,如有污垢,应使用清洁布擦拭干净。
5.5安装前检查填料是否压紧,应确保填料的密封性,同时不应妨碍阀杆的转动。
5.6安装后系统或管路试压时,阀门必须处于全开位置。
5.7使用中应将球体全开或关闭,不应将球体部分开启做调节流量用。
5.8手动阀门在开启或关闭操作时,应使用手柄开、关,不得借用辅助杠杆或其它工具。
5.9阀门使用应定期检查,检查密封面有无磨损及垫片填料。若损坏失效,应及时修理或更换。
5.10气动阀门的传动装置,其保管、保养、安装和使用,请见“阀门气动装置使用说明书”。气动偏心半球阀可能发生的故障、原因及消除方法
订货须知:
一、①产品名称与型号②口径③是否带附件以便我们的为您正确选型④使用压力⑤使用介质的温度。
二、若已经由设计单位选定公司的型号,请偏心半球阀型号直接向我司销售部订购。
三、当使用的场合非常重要或环境比较复杂时,请您尽量提供设计图纸和详细参数,由我们的阀门公司专家为您审核把关。产品所属球阀选型,感谢您访问我们申弘阀门的网站如有任何疑问.您可以致电给我们,我们一定会尽心尽力为您提供优质的服务。如需要了解更多其它阀类产品的信息可以点击减压阀查看。 -
联系方式
- 联系人:申弘阀门
- 电 话:021-59260058
- 手 机:15901754341
- 传 真:86-021-31662735
- 邮 箱:494522509@qq.com
- 邮 编:201718
- 地 址:上海市青浦区金泽工业园区
- 网 址: https://bengye.cn.goepe.com/
http://www.021-fm.com
-
产品搜索







