-
SH衬胶球阀Q41J
详细信息| 询价留言Q41J衬胶球阀产品说明
衬胶球阀是用带圆形通孔的球体作启闭件,球体随阀杆绕阀体中心线旋转以实现阀门开启和关闭。采用特殊的模压工艺,使密封面致密良好,加之V型PTFE填料组合使阀门达到零泄漏;球体与阀杆铸为一体,杜绝了由于压力变化引起阀杆冲出承压件内的可能性,根本保证使用中的安全性;采用全塑料衬里工艺,耐介质的强腐蚀。衬氟球阀概况球阀和旋塞阀属同一类阀门,不同的是球阀是用带圆形通球体作启闭件,球体随阀杆绕阀体中心线旋转以实现阀门开启和关闭的目的。法兰连接球阀(二片式,三片式设计与制造符合中国国家标准公称压力PN1.0~2.5(Mpa) 公称通径DN15~250(mm)法兰连接手动球阀 球阀基本系列为Q41F46型,可分为对分(二片)式和三片式两种结构型式,除具有的流体阻力小,启闭速度快,结构简单外,还有以下优点:上海申弘阀门有限公司主营阀门有:减压阀(气体减压阀,可调式减压阀,水减压阀

Q41F衬里球阀衬里材料
1.采用FEP衬里层的球阀,具有极高的化学稳定性,可以适用除“熔融碱金属和元素氟”,以外其它任何强腐蚀性质;
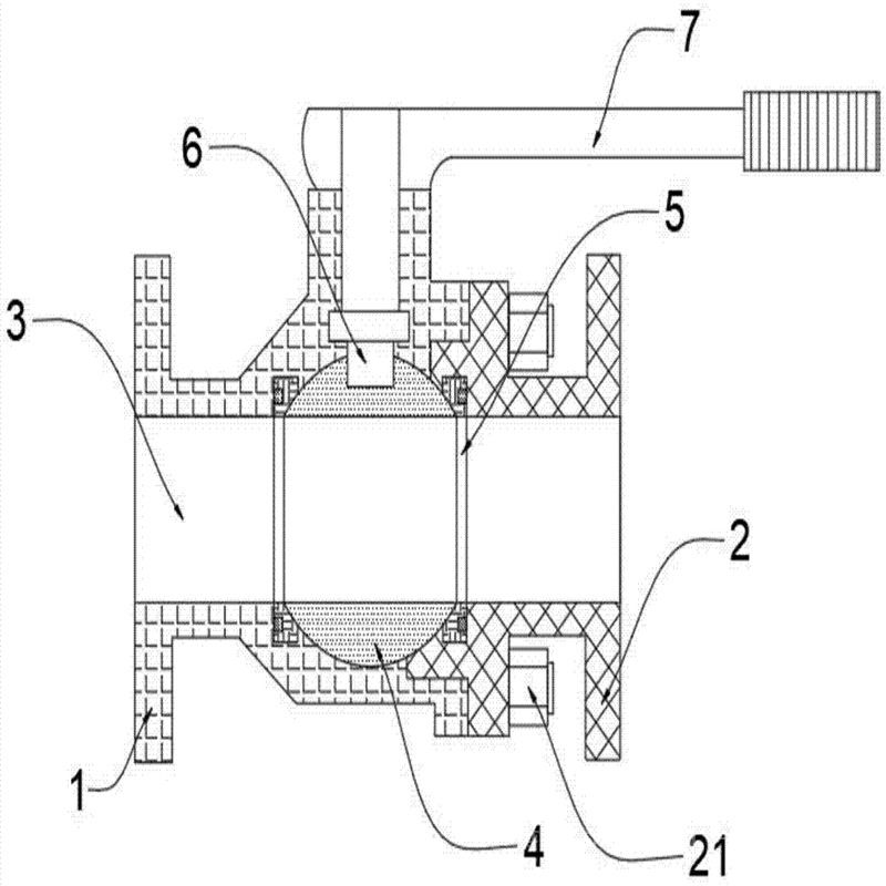
2.采用全通径、浮动球结构,阀门可在整个压力范围内进行无泄漏关闭,更便于管路系统的通球扫线和管路维护;
3.启闭件球件与阀杆铸(锻)为一体,杜绝了由于压力变化引起阀杆冲出承压件内的可能性,从根本上保证了工程中的使用安全性;
4.结构紧凑合理,阀体内腔空间*小,减小了介质滞留,另外,特殊的模压工艺,使密封面致密度良好,加之人字环形PTFE填料组合,使阀门达到零泄漏;
5.两片式、三片式结构可适应各种不同要求的管路系统和工况条件,其中三片球阀允许主阀体与两侧阀体分离,可实现在线快速更换、维修。 衬氟球阀为控制各种强腐蚀性介质的启闭而进行的*设计,广泛使用于石油,化工,染化制酸制碱等行业,是目前防腐阀门*理想的选择.

Q41J衬胶球阀主要衬里材料:
(1)聚全氟乙烯 FEP (F46)
适用介质: 任何有机溶剂或试剂,稀或浓无 机 酸,碱,酮,芳烃,氯化烃等。
使用温度: -85~150
特点:力学,电性能和化学稳定性基本与F4相同,但突出优点是动击韧性高,有极好的耐候性和辐射性。
(2)聚三氟乙烯 PCTEF (F3)
适用介质: 各种有机溶剂,无机腐蚀液(氧化性酸类)
使用温度:-195~120
特点:耐热性,电性能和化学稳定性仅次于F4,机械强度,蠕变性能,硬度比F4好些
(3)聚丙烯: RPP
适用介质:无机盐类的水溶液,无 机 酸类,碱类的稀或浓溶液。
使用温度:-14~80
特点:*轻的塑料之一,其屈服,拉伸和压缩强度,硬度均优于低压聚乙烯,有很突出的刚性,耐热性好,易成型,优廉。改性后动击性,流动性,弯曲弹性。
(4)聚氯乙烯: 硬质)PVC
适用介质:耐水,浓碱,非氧化性酸,链烃,油和臭氧等。
使用温度:0-55
特点:机械强度较高,化学稳定性及介电性能优良,耐油性和抗老性也较好,易熔接 及粘合,价格较低。
聚四氯乙烯 PTFE(F4)
使用介质:强酸,强碱,强氧化剂等。
使用温度:-200~180
特点:具有优异的化学稳定性,有很高的耐热性,耐寒性,磨擦系数很低,是极好的 自润滑材料,但机械性能较低,流动性差,热膨胀大。
(5)聚偏氯乙烯 PVDF(F2)
使用介质:耐大多数化学药品和溶剂。
使用温度:-70~100。
特点:拉绅强度与压缩强度比F4好,耐弯折,耐候,耐辐射。耐光和老化等,*大特 点是韧性好,易成型。设计规范:遵循GB 12237/API 608 /API 6D 标准。
型号
Q41F46-10
Q41F46-16
Q41F46-10C
Q41F46-16C
工作压力(MPa)
1.0
1.6
1.0
1.6
适用温度(℃)
-10~150
-20~150
适用介质
腐蚀性介质
材料
阀体
铸铁内衬聚四氟乙烯
铸钢内衬聚四氟乙烯
球体
铸钢外包聚四氟乙烯
密封圈
增强聚四氟乙烯
聚四氟乙烯
基本型号
手动
Q41F3
蜗轮
Q341F3
Q41F46
Q341F46
气动
Q641F3
电动
Q941F3
Q641F46
Q941F46
Q41J衬胶球阀技术规范
设计标准 GB12237 结构长度 GB12221 法兰标准 JB/T79-94 GB9113.1-26 检验试验 JB/T9092-99 驱动方式 手动、电动、气动、蜗轮 序号
零件名称
灰铸铁
铸钢
不锈耐酸铸钢
超低碳不锈耐酸铸钢
Z
C
P8
R8
R3
R3
1
阀体/阀盖
A216-C
A216-WCB
A351-CF8
A351-CF8M
A351-CF3
A351-CF3M
2
球体/阀杆
A216-WCB
A351-CF8
A351-CF8M
A351-CF3
A351-CF3M
3
衬里/阀座
PTFE(F4)、PCTFE(F3)、FEP(F46)、PFA(可溶F4)
4
填料/压盖
PTFE(F4)
A351-CF3
A351-CF3
5
填料
A216-WCB
A351-CF8
A351-CF8
6
支架
A193-B7
A194-8
A193-B8M
7
紧固螺栓
A193-B7
A193-B8M
A194-8
8
螺母
A194-2H
A194-8
A194-8
9
操作手柄
A216-WCB
A216-WCB
A216-WCB
Q41J衬胶球阀要外型和连接尺寸
公称通径
标准值
参考值
DN(mm)
NPS
(inch)L
D
D1
D2
f
b
Z-Φd
W
Do(蜗轮)
H
WT(Kg)
PN1.0MPa
15
1/2
140
95
65
45
2
14
4-Φ14
120
80
2.5
20
3/4
140
105
75
55
2
16
4-Φ14
140
90
3
25
1
150
115
85
65
2
16
4-Φ14
160
100
4.5
32
11/4
165
135
100
78
2
18
4-Φ14
160
110
5.7
40
11/2
180
145
110
85
2
18
4-Φ14
200
120
7
50
2
200
160
125
100
3
20
4-Φ14
250
135
9.5
65
11/2
220
180
145
120
3
20
4-Φ14
300
145
15
80
3
250
195
160
135
3
22
4-Φ14
350
185
19
100
4
280
215
180
155
3
22
8-Φ18
400
95
33
125
5
320
245
210
185
3
24
8-Φ18
500
210
58
15
6
360
280
240
210
3
24
8-Φ23
200
450
93
200
8
457
335
295
265
3
26
8-Φ23
240
490
155
250
10
533
390
350
320
3
28
12-Φ23
240
550
210
PN1.6MPa
15
1/2
140
95
65
45
2
14
4-Φ14
120
80
2.5
20
3/4
140
105
75
55
2
16
4-Φ14
140
90
3
25
1
150
115
85
65
2
16
4-Φ14
160
100
4.5
32
21/4
165
135
100
78
2
18
4-Φ18
160
110
5.7
40
11/2
180
145
110
85
3
18
4-Φ18
200
120
7
50
2
200
160
125
100
3
20
4-Φ18
250
135
9.5
65
11/2
220
180
145
120
3
20
4-Φ18
300
145
15
80
3
250
195
160
135
3
22
8-Φ18
350
185
19
100
4
280
215
180
155
3
24
8-Φ18
400
195
33
125
5
320
245
210
185
3
26
8-Φ18
500
210
58
150
6
360
280
240
210
3
28
8-Φ23
200
450
93
200
8
457
335
295
265
3
30
12-Φ23
240
490
155
PN2.5MPa
15
1/2
140
95
65
45
2
16
4-Φ14
120
80
2.5
20
3/4
140
105
75
55
2
16
4-Φ14
140
90
3
25
1
150
115
85
65
2
16
4-Φ14
160
100
4.5
32
11/4
165
135
100
78
2
18
4-Φ18
160
110
5.7
40
11/2
180
145
110
85
3
18
4-Φ18
200
120
7
50
2
200
160
125
100
3
20
4-Φ18
250
135
9.5
65
21/2
220
180
145
120
3
22
8-Φ18
300
145
15
80
3
250
195
160
135
3
22
8-Φ18
300
185
19
100
4
280
230
190
160
3
24
8-Φ23
200
195
33
125
5
320
270
220
188
3
28
8-Φ25
200
210
58
150
6
360
300
250
218
3
3
0 8-Φ25
200
450
93

安装前的准备:
1、安装前,球阀前后的管线必须已经准备好。前后管道必须同轴。如果是法兰连接,两法兰密封面必须平行。应保证管道应能承受球阀的重量,否则管道上必须配有适当的支撑。
2、必须把球阀前后的管线吹扫干净,清除管道内部的油污、焊渣和一切其它杂物,看清楚在保存时为方便起见取出的石棉填料有没有重新装进去,填紧压实。
3、核对球阀的标志和参数,检查球阀是否完好无损。将球阀全开全闭数次以保证其工作正常。
4、如果是法兰连接的球阀,要拆去球阀两端连接法兰上的保护件。如果是其他的连接方式,也应去除其保护件。
5、检查阀孔清除可能有的污物,然后清洗阀孔。但在安装前要保证水分已被完全干燥,污物全部都被清除。阀座与球之间即使仅有微小颗粒的异物也可能会损伤阀座密封面。

安装时的注意事项
1、把球阀装上管线。双向球阀的任何一端都可装在上游端。用手柄驱动的球阀可安装在管道上的任意位置。但带有齿轮箱或气动驱动器的球阀应直立安装,即安装在水平管道上,且驱动装置处于管道上方。保证驱动装置的正常运行。
2、如果是法兰连接,球阀两端的法兰与管线法兰间必须按照管路设计要求装上密封垫。法兰上的螺栓需对称、逐次、均匀拧紧。但不可过于用力,以防脱丝。
3、如果球阀采用的驱动方式是气动的,要连接气动管线(采用气动驱动器时)。
4、安装后一定要仔细检查气密的严密性。为保证气动装置的严密性,需做到以下两点。
5、操作驱动器启、闭球阀数次,应灵活无滞涩,证明其工作正常。
6、按管路设计要求对管道与球阀间的法兰结合面进行密封性能检查。
球阀使用注意事项:
1、球阀要留有阀柄旋转的位置
2、球阀不能用作节流。
3、球阀带传动机构的球阀应直立安装。

球阀的安装步骤
1、取掉法兰端两边的保护盖,在阀完全打开的状态下进行冲洗清洁。
2、安装前应按规定的信号(电或气)进行整机测试(防止因运输产生振动影响使用性能),合格后方可上线安装(接线按电动执行机构线路图)。
3、准备与管道连接前,须冲洗和清除干净管道中残存的杂质(这些物质可能会损坏阀座和球)。
4、在安装期间,请不要用阀的执行机构部分作为起重的吊装点,以避免损坏执行机构及附件。
5、本类阀应安装在管道的水平方向或垂直方向。
6、安装点附近的管道不可有低垂或者承受外力的现象,可以用管道支架或者支撑物来消除管线的偏离。
7、与管道连接后,请用规定的扭矩交叉锁紧法兰连接螺栓。
球阀的操作和使用
1、操作前须确认管路和阀已被冲洗过。
2、阀的操作按执行机构输入信号大小带动阀杆旋转完成:正向旋转1/4圈(90°)时,阀关断。反向旋转1/4圈(90°)时,阀开启。
3、当执行机构方向指示箭头与管线平行时,阀门为开启状态;指示箭头与管线垂直时,阀门为关闭状态。

订货须知:
一、①产品名称与型号②口径③是否带附件以便我们的为您正确选型④使用压力⑤使用介质的温度。
二、若已经由设计单位选定公司的型号,请型号直接向我司销售部订购。三、当使用的场合非常重要或环境比较复杂时,请您尽量提供设计图纸和详细参数,由我们的阀门公司专家为您审核把关。产品所属球阀选型,感谢您访问我们申弘阀门的网站如有任何疑问.您可以致电给我们,我们一定会尽心尽力为您提供优质的服务。如需要了解更多其它阀类产品的信息可以点击减压阀查看。
-
联系方式
- 联系人:申弘阀门
- 电 话:021-59260058
- 手 机:15901754341
- 传 真:86-021-31662735
- 邮 箱:494522509@qq.com
- 邮 编:201718
- 地 址:上海市青浦区金泽工业园区
- 网 址: https://bengye.cn.goepe.com/
http://www.021-fm.com
-
产品搜索





