-
SH耐磨陶瓷球阀Q41TC
详细信息| 询价留言Q41TC耐磨陶瓷球阀产品说明
耐磨陶瓷球阀主要应用于电力、石油、化工、冶金、采矿、污水处理等工业领域,尤其是面对高磨损、强腐蚀、高温、高压等恶劣工况,陶瓷阀更显示出它卓越的性能。陶瓷阀门能满足高磨损、强腐蚀的使用环境,尤其突出的特点是超长的使用寿命。上海申弘阀门有限公司主营阀门有:减压阀(气体减压阀,可调式减压阀,水减压阀本实用新型涉及一种球阀,特别是一种复合陶瓷硬密封球阀,主要用于化工行业, 属于管线球阀。
所有与介质接触的部分均为结构陶瓷材料 , 其化学稳定性及硬度极高仅次于金刚石。因此 , 本阀具有极高的耐磨损、耐腐蚀、耐冲蚀性能,且隔热性好、热膨胀小。 球体采用先进研磨设备及工艺制造,球圆度精度高,表面质量好,与阀座对研后,利用99%氧化铝陶瓷的自滑润性,可取得很好的密封性能。 彻底改变了金属硬密封球阀易泄露、扭矩大、密封面不耐腐蚀的缺点。
陶瓷良好的耐磨性,让本阀经久耐用,可靠性极高. 使用寿命长 ,是钛合金阀和蒙乃尔阀的2-4倍。 用于高硬度的颗粒介质,或有软颗粒但又有腐蚀的介质中,本阀门具有无可比拟的绝对优势,也是目前唯一合适此类介质的阀门。 陶瓷阀门能满足高磨损、强腐蚀的使用环境,尤其突出的特点是超长的使用寿命,陶瓷阀门的性能价格比远远优于其它同类金属阀门。随着科学技术的不断发展和进步,陶瓷材料从配方、成型、加工及装配工艺等各方面的技术更加趋于成熟和完备,陶瓷阀门以其优异的性能越来得到阀门行业人士的认同。利用制造陶瓷阀门的成功经验还可以推广应用于更广泛的工程领域。
因此 , 本具有极高的耐磨损、耐腐蚀、耐冲蚀性能,且隔热性好、热膨胀小。陶瓷球阀球体采用先进研磨设备及工艺制造,球圆度精度高,表面质量好,与阀座对研后,利用Zr02陶瓷的自滑润性,可取得很好的密封性能。彻底改变了金属硬密封球阀易泄露、扭矩大、密封面不耐腐蚀的缺点。陶瓷良好的耐磨性,让本阀经久耐用,可靠性极高. 使用寿命长 ,是钛合金阀和蒙乃尔阀的2-4倍。用于高硬度的颗粒介质,或有软颗粒但又有腐蚀的介质中,该类阀门具有无可比拟的绝对优势,也是目前唯一合适此类介质的气动阀门。

背景技术:
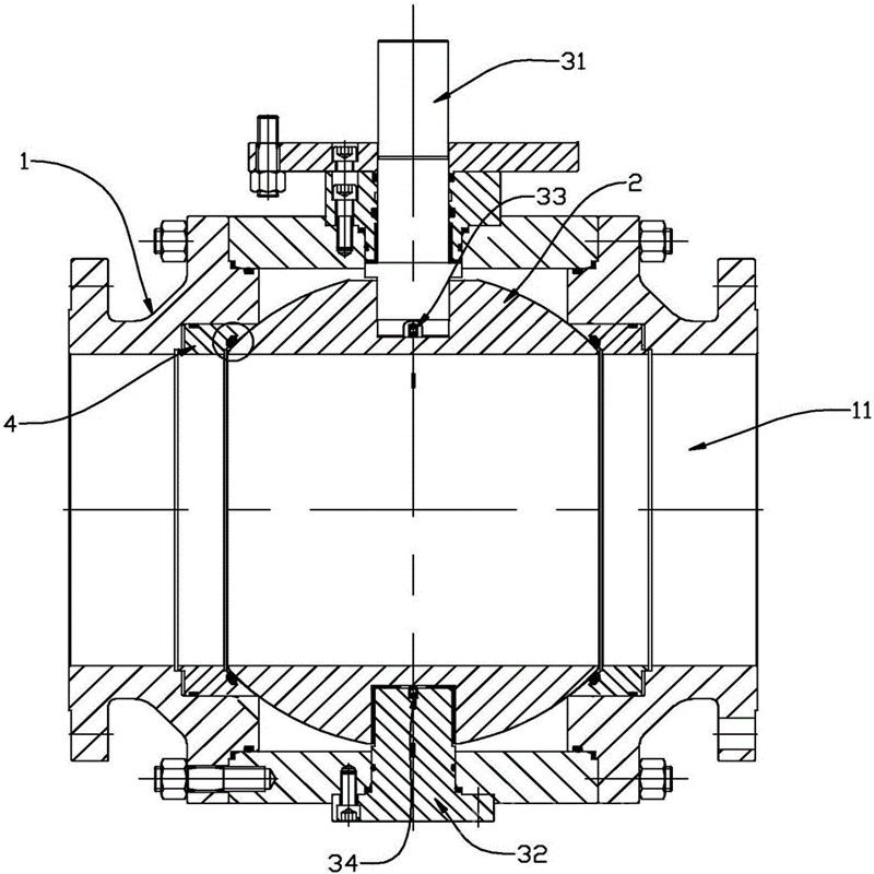
化工行业中利用管线输送液体、气体或粉体时,在管线上必须安装有阀,用于对输送介质的控制,目前化工管线中使用的阀主要是球阀,结构如下有左右两部分组合在一起的阀体,在阀体的内腔有带中心通孔的复合陶瓷阀球,阀球与阀体之间有密封环,在阀体上通过阀盖和密封件安装有阀杆,阀杆的内端头与阀球硬性连接,阀杆的外端头连接有转杆, 阀体的两端分别为输送介质的出入口,介质的出入口周边为连接法兰。安装时通过法兰将球阀安装在管线上,转动转杆时,通过阀杆带动阀球转动,阀球转动可通过中心通孔连通阀体两端的输送介质出入口,达到球阀开启的目的,调整阀球的角度可改变球阀开启的大小或关闭。这种结构的球阀,由于各部件加工和组装时会出现不同程度的形位误差,使阀杆受到不同的径向力的影响,转动时增加了转矩,各部件相对有不同程度的磨损,影响球阀的使用寿命和密封效果。

Q41TC耐磨陶瓷球阀结构特点:
1.陶瓷阀采用高技术新型陶瓷结构材料制作阀门的密封件和易损部件,提高了阀门产品的耐磨性、防腐性及密封性,大大延长了阀门的使用寿命。
2.陶瓷阀门的使用可以大大降低阀门的修理更换次数,提高配套设备运行系统的安全性、稳定性,节约设备修理费用。
3.陶瓷阀门的使用能提高工业管路系统的密封性,能*大限度的减小泄露,从而保护环境。
4.制造陶瓷的原料广泛,成本低廉,用铝、碳、硅等普通无素就能制造出性能优越的陶瓷材料,可以节约大量金属材料和稀有的矿产资源。
标准规范:
结构长度标准:GB/T 12221-2005
连接法兰标准:GB/T 9113
压力温度等级:GB/T 12224-2005
试验检验标准:GB/T 13927-2008

设计制造标准规范
设计依据 GB API 设计与制造标准 JB/T10529-2005,GB/T12237-2007 API608-2012 结构长度设计标准 GB/T12221-2005 ASME B16.10-2009 连接端设计标准 GB/T9113-2010 ASME B16.5-2013 驱动装置连接设计标准 GB/T12223-2005 BS EN ISO 5211-2001 主体材料设计标准 GB/T12228-2006,NB/T47010-2010 ASTM A105/A105M-2014,ASTM A182/A182M-2015 检验与试验标准 JB/T 9092-1999 API 598-2009 材料选型表
序号 名称 材质 1 阀体 A105、WCB、SS304、SS316、CF8、CF8M、CF3、CF3M 2 阀芯 氧化锆(3Y-ZrO2)、氧化铝(AI2O3) 3 阀杆/轴套/填料压套 17-4PH、316L、合金材料 4 密封部件 VMQ、FKM、PTFE 5 填料 PTFE、RPTFE、石墨 6 压板/支架 CF8、WCB 7 螺栓/垫圈 A193-B7/A194-2H/SS304 
主要材质表1 阀体 SS304 2 支架 CF8 3 填料压套 CF8 4 球体 陶瓷 5 阀座 陶瓷 6 中体 陶瓷 7 接管 陶瓷 8 阀杆 17-4PH 9 密封填料 PTFE 10 O型圈 硅胶 Q41TC耐磨陶瓷球阀主要连接尺寸
型号
压力[PN]
主要尺寸(mm)
Q41TC
Q41TC
Q41SY
10
DN
D
D1
D2
b
f
L
n―d
15
95
65
45
14
2
130
4×14
10
20
105
75
55
16
2
130
4×14
25
115
85
65
16
2
140
4×14
32
135
100
78
18
2
165
4×18
40
145
110
85
18
3
165
4×18
50
160
125
100
20
3
203
4×18
65
180
145
120
20
3
222
4×18
80
195
160
135
22
3
241
4×18
100
215
180
155
22
3
305
8×18
125
245
210
185
24
3
356
8×18
150
280
240
210
24
3
394
8×23
200
335
295
265
26
3
457
8×23
250
390
350
320
28
3
533
12×23
300
440
400
368
28
4
610
12×23
16
15
95
65
45
14
2
130
4×14
20
105
75
55
14
3
130
4×14
25
115
85
65
14
3
140
4×14
32
135
100
78
16
3
165
4×18
40
145
110
85
16
3
165
4×18
50
160
125
100
16
3
203
4×18
65
180
145
120
18
3
222
4×18
80
195
150
135
20
3
241
8×18
100
215
180
155
20
3
305
8×18
125
245
210
185
22
3
356
8×18
150
280
240
210
24
3
394
8×22
200
335
295
265
26
3
457
12×22
250
405
355
320
30
3
533
12×25
300
460
410
375
30
4
610
12×25
25
15
95
65
45
16
2
130
4×14
20
105
75
55
16
2
130
4×14
25
115
85
65
16
2
140
4×14
32
135
100
78
18
2
165
4×18
40
145
110
85
18
3
165
4×18
50
160
125
100
20
3
203
4×18
65
180
145
120
22
3
222
8×18
80
195
160
135
22
3
241
8×18
100
230
190
160
24
3
305
8×23
125
270
220
188
28
3
356
8×25
150
300
250
218
30
3
394
8×25
200
360
310
278
34
3
457
12×25
250
425
370
332
36
3
533
12×30
300
485
430
390
40
4
610
16×30
本实用新型的复合陶瓷硬密封球阀,所述的连接头与所述的阀球之间的柱销为两个,每个柱销的端头分别插入阀球上的阀球销孔内和连接头下端上的连接头销孔内;连接头的上端面中间部位有凸台,阀杆的内端头设有凹槽,所述的阀球与所述的阀杆之间通过凸台和凹槽插接。
Q41TC耐磨陶瓷球阀安装前的准备:
1、安装前,球阀前后的管线必须已经准备好。前后管道必须同轴。如果是法兰连接,两法兰密封面必须平行。应保证管道应能承受球阀的重量,否则管道上必须配有适当的支撑。
2、必须把球阀前后的管线吹扫干净,清除管道内部的油污、焊渣和一切其它杂物,看清楚在保存时为方便起见取出的石棉填料有没有重新装进去,填紧压实。
3、核对球阀的标志和参数,检查球阀是否完好无损。将球阀全开全闭数次以保证其工作正常。
4、如果是法兰连接的球阀,要拆去球阀两端连接法兰上的保护件。如果是其他的连接方式,也应去除其保护件。
5、检查阀孔清除可能有的污物,然后清洗阀孔。但在安装前要保证水分已被完全干燥,污物全部都被清除。阀座与球之间即使仅有微小颗粒的异物也可能会损伤阀座密封面。

安装时的注意事项
1、把球阀装上管线。双向球阀的任何一端都可装在上游端。用手柄驱动的球阀可安装在管道上的任意位置。但带有齿轮箱或气动驱动器的球阀应直立安装,即安装在水平管道上,且驱动装置处于管道上方。保证驱动装置的正常运行。
2、如果是法兰连接,球阀两端的法兰与管线法兰间必须按照管路设计要求装上密封垫。法兰上的螺栓需对称、逐次、均匀拧紧。但不可过于用力,以防脱丝。
3、如果球阀采用的驱动方式是气动的,要连接气动管线(采用气动驱动器时)。
4、安装后一定要仔细检查气密的严密性。为保证气动装置的严密性,需做到以下两点。
5、操作驱动器启、闭球阀数次,应灵活无滞涩,证明其工作正常。
6、按管路设计要求对管道与球阀间的法兰结合面进行密封性能检查。
球阀使用注意事项:
1、球阀要留有阀柄旋转的位置
2、球阀不能用作节流。
3、球阀带传动机构的球阀应直立安装。
球阀的安装步骤
1、取掉法兰端两边的保护盖,在阀完全打开的状态下进行冲洗清洁。
2、安装前应按规定的信号(电或气)进行整机测试(防止因运输产生振动影响使用性能),合格后方可上线安装(接线按电动执行机构线路图)。
3、准备与管道连接前,须冲洗和清除干净管道中残存的杂质(这些物质可能会损坏阀座和球)。
4、在安装期间,请不要用阀的执行机构部分作为起重的吊装点,以避免损坏执行机构及附件。
5、本类阀应安装在管道的水平方向或垂直方向。
6、安装点附近的管道不可有低垂或者承受外力的现象,可以用管道支架或者支撑物来消除管线的偏离。
7、与管道连接后,请用规定的扭矩交叉锁紧法兰连接螺栓。

球阀的操作和使用
1、操作前须确认管路和阀已被冲洗过。
2、阀的操作按执行机构输入信号大小带动阀杆旋转完成:正向旋转1/4圈(90°)时,阀关断。反向旋转1/4圈(90°)时,阀开启。
3、当执行机构方向指示箭头与管线平行时,阀门为开启状态;指示箭头与管线垂直时,阀门为关闭状态。
本实用新型的复合陶瓷硬密封球阀,由于阀球与阀杆之间通过连接头连接,不属硬性固定连接,装配后各部件产生的形位误差对阀杆产生的径向力可通过凸台和凹槽相对微量滑动自行调节,减小了阀杆转动时的扭矩,使各部件的磨损减轻,延长了球阀的使用寿命,转动阀杆省力,球阀的自身密封性能有所提高,维修更换次数减少,降低了运行成本,提高了经济效益。
订货须知:
一、①产品名称与型号②口径③是否带附件以便我们的为您正确选型④使用压力⑤使用介质的温度。
二、若已经由设计单位选定公司的型号,请型号直接向我司销售部订购。三、当使用的场合非常重要或环境比较复杂时,请您尽量提供设计图纸和详细参数,由我们的阀门公司专家为您审核把关。产品所属球阀选型,感谢您访问我们申弘阀门的网站如有任何疑问.您可以致电给我们,我们一定会尽心尽力为您提供优质的服务。如需要了解更多其它阀类产品的信息可以点击减压阀查看。
-
联系方式
- 联系人:申弘阀门
- 电 话:021-59260058
- 手 机:15901754341
- 传 真:86-021-31662735
- 邮 箱:494522509@qq.com
- 邮 编:201718
- 地 址:上海市青浦区金泽工业园区
- 网 址: https://bengye.cn.goepe.com/
http://www.021-fm.com
-
产品搜索






