-
申弘指挥器操作自力式压力调节阀ZZYVP型​ZZYVP型
详细信息| 询价留言ZZYVP型指挥器操作自力式压力调节阀产品介绍:
ZZYVP-16B带指挥器自力式氮封阀(储灌氮封)是一款ZZY系列氮封阀,其特别适用于各类大型储罐的气封保护系统,其连接方式有内螺纹、外螺纹、法兰、焊接、对焊、承插焊、卡套、卡箍;可广泛用于石油、化工、电力、冶金、食品、轻纺、机械制造与居民建筑楼群等各种工业设备中用气体,液体及蒸汽介质减压、稳压(用于阀后调节)或泄压、稳压(用于阀前调节)的自动控制。 还可用于工业炉燃烧系统控制两种燃烧气混合比流量或用于氢冷发电机组密封油系统、各种工业炉燃烧系统燃料气体、石油在制品或油库贮罐保护气体与热处理保护气体的微压自动调整等场合。是一种无须外来能源,利用被调介质自身的压力变化达到自动调节和稳定阀后压力为设定值的节能型压力调节阀。

zzyvp型指挥器操作自力式压力调节阀由控制阀门、执行器、压力弹簧、指挥器、脉冲管等部件组成。自力式氮封阀主要用于保持容器顶部保护气体(一般为氮气)的压力恒定,以避免容器内物料与空气直接接触,防止物料挥发、被氧化,以及容器的安全。该阀压力设定在指挥器上实现,方便、快捷,压力设定值在运行中也可随意调整;控制精度高,可比一般zzy型直接操作自力式压力调节阀高一倍,适合于控制精度要求高的场合。特别适用于各类大型储罐的气封保护系统。该产品具有节能、动作灵敏、运行可靠、操作与维修方便等特点。广泛应用于石油、化工、冶金、电力、轻纺等工业部门中用作生产过程的自动调节。
产品公称压力等级有PN1.6、4.0(MPa);口径范围DN20~100;流量特性为快开。压力设定在指挥器上通过调节弹簧实现,因而方便、快捷、省力省时,可运行状态下连续设定,且结构简单,维护工作量小。减压比≤4000:1,控制精度高;动作灵敏,密封性好;广泛应用各种工业设备中用于气体减压稳压的自动控制,特别适用于储罐的氮封系统。截止阀作为附件,阀门在工作前关闭此截止阀,以防止超设定压力和杂质进入执行机构,以保护执行机构内的膜片和密封件,及超设定压力而产生阀门整体打坏现象。

ZZYVP型指挥器操作自力式压力调节阀特点:
1、ZZYVP-16B带指挥器自力式氮封阀(储灌氮封)压力设定在指挥器上实现,因而方便、快捷、省力省时可运行状态下连续设定。
2、ZZYVP-16B带指挥器自力式氮封阀(储灌氮封)控制**度比ZZY型自力式高1倍左右,故适合在控制精度高的场合使用。
3、ZZYVP-16B带指挥器自力式氮封阀(储灌氮封)对同一台阀而言,调节范围比ZZY型自力式广。
4、ZZYVP-16B带指挥器自力式氮封阀(储灌氮封)反应特别灵敏,极小的压力(如50mm水柱的压力)或极小的压力变化都可以感测出来。
5、ZZYVP-16B带指挥器自力式氮封阀(储灌氮封)压比特别大,例如阀前0.8MPa,阀后50mmH2O,压差比达1600。
6、ZZYVP-16B带指挥器自力式氮封阀(储灌氮封)采用指挥器操作,减压比可达100:1,减压效果好、控制精度高。
7、为确认储罐的安全性,需在罐顶设置呼吸阀,呼吸阀起安全作用,可避免常规氮封装置中启闭频繁易损坏的缺陷。1、 压力设定弹簧2、指挥器执行机构3、指挥阀4、针阀5、主阀6、空气过滤减压器
其中ZZYVP-16B带指挥器自力式氮封阀(储灌氮封)可以用1台ZZYP自力式压力调节阀+1台ZZVP型自力式微压调节阀代替

ZZYVP型指挥器操作自力式压力调节阀零件材料
零件名称 材料 阀体 ZG230-450、ZG0Cr18Ni9、ZG0Cr18Ni12Mo2 阀芯 1Cr18Ni9、0Cr18Ni12Mo2(堆焊Stellite) PTFE 阀座 1Cr18Ni9、0Cr18Ni12Mo2(堆焊Stellite) 阀杆 1Cr18Ni9、0Cr18Ni12Mo2 橡胶膜片 丁腈橡胶夹增强涤纶织物 膜盖 Q235、Q235涂PTFE O形圈 耐油橡胶、聚四氟乙烯
ZZYVP型指挥器操作自力式压力调节阀主要参数及主要性能指标公称通径dn(mm)
20
25
40
50
80
100
150
阀座直径(mm)
6
15
20
32
40
50
65
80
100
125
150
额定流量系数kv
0.32
5
8
11
20
30
48
75
120
190
300
480
压力调节范围kpa
0.1~0.5、0.4~5.0、4.0~12.0、
公称压力pn(mpa)
1.6
被调介质温度(℃)
-5~+100
流量特性
快开
调节精度(%)
≤±5
执行机构有效面积(cm2)
100
200
280
400
信号接口
内螺纹m10×1
m16x1
压力调节范围(kpa)
0.1~0.5
重量kg
18
18
25
27
40
55
80
108
130
0.4~5.0
20
20
27
30
45
60
86
115
140
160
0.5~7
22
22
30
34
66
92
120
150
170
零件名称
材料
气动活塞式执行机构,指挥器
组合件
阀体,阀盖
zg230-450,zg0cr18ni9ti,zg0cr18ni12mo2ti
推杆,阀杆
2cr13,1cr18ni9
阀座
1cr18ni9ti
阀芯(软密封)/填料
聚四氟乙烯
波纹膜片
丁腈橡胶夹增强涤纶织物
弹簧
1cr18ni9ti、60si2mn
外形尺寸
公称通径 (DN) 20 25 32 40 50 65 80 100 125 150 法兰端面距 (L) 150 160 180 200 230 290 310 350 400 480 H
610 610 630 630 640 710 720 730 800 930 H1 330 330 350 350 360 430 440 450 520 650 φ 310 400 D 105 115 140 150 165 185 200 220 250 285 D 1 75 85 100 110 125 145 160 180 210 240 D 2 56 65 76 84 99 118 132 156 184 211 n-d 4-14 4-18 8-18 8-22
ZZYVP型指挥器操作自力式压力调节阀安装及日常维护:1、安装:
(1)安装前,检查整机零件是否缺损或者松动,对管道应进行清洗,介质流向应与阀体箭头指向一致。
(2) 为便于现场维修与操作,阀四周应留有适当的空间。
(3)阀门应正立垂直安装在水平管道上,阀体与管道的法兰连接,要注意轴度,并应安装在环境温度不超过-25~55°C的场合使用。

2、使用
(1)开启阀前截止阀,使介质缓慢流入阀体
(2)拧开指挥器护罩,松开指挥器调节螺钉
(3)调节指挥器主弹簧,使阀后压力***定值
(4)固定指挥器调节螺钉,装好护罩,调压阀即可开始工作
(5)不用时,关闭阀前截止阀
3、维护
(1)拆卸阀门时,要保护好精密零件的表面,拆装阀座时,要使用专用工具
(2)阀芯与阀座,不管修理或者更换,密封面都必须进行研磨
(3)弹簧若有裂缝迹象,必须更换
(4)密封垫片与0型圈每次检修时全部更换,膜片根据检查结果而定。
(5)阀门平时维护,只有观察阀后导压器上的压力表是否符合设计值要求即可。另外若发现各连接处有渗漏,可拧紧螺母与螺钉或更换密封垫片与0型圈生产ZZYVP-16B带指挥器自力式氮封阀(储灌氮封)蒸汽减压稳压阀等自力式阀。

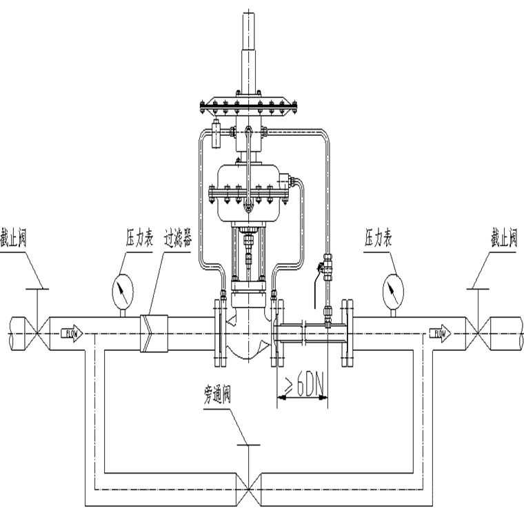
ZZYVP型指挥器操作自力式压力调节阀安装应用图
打开时,当储罐压力稍微低于设定压力时,膜片因为感应压力下降而向下移动,推动气导阀打开,氮气经过孔板、气导阀的出口进入储罐,使储罐内的压力增加,同时气导阀的特殊阀芯室的压力下降,氮气通过内部通道从特殊阀芯室进入主阀阀芯室。工作时通常情况下是不需要任何外加能源,利用被调介质自身能量而实现自动调节的执行器产品。同时又具有节约能源,压力设定值在运行中可随意调整,采用快开流量特性,动作灵敏、密封性能好,介质压力稳定,调节精度高,泄漏量小等优点。
ZZYVP型指挥器操作自力式压力调节阀上例以贮罐1KPa为例
1、ZZDG-16B供氮阀的取压位置应离贮罐(或缓冲罐)较近。
2、压力表应置于取压点不远处,以免引起不必要的争议。
3、ZZDG-16B供氮阀阀后管道不宜太小。
连接尺寸及标准
法兰标准:GB9113-2000;
法兰密封面型式:凸面;
信号接口:内螺纹M16×1.5;
阀体法兰及法兰端面距离可以按用户指定的标准制造。如ANSI、JIS、JPI等标准

订货须知:
一、①产品名称与型号②口径③是否带附件以便我们的为您正确选型④的使用压力⑤的使用介质的温度。
二、若已经由设计单位选定公司的型号,请按型号直接向我司销售部订购。三、当使用的场合非常重要或环境比较复杂时,请您尽量提供设计图纸和详细参数,由我们的阀门公司专家为您审核把关。如有疑问:请:我们一定会尽心尽力为您提供优质的服务。提供全面“阀门系统解决方案",也十分愿意帮助用户解决生产中所遇到的难题。
-
联系方式
- 联系人:申弘阀门
- 电 话:021-59260058
- 手 机:15901754341
- 传 真:86-021-31662735
- 邮 箱:494522509@qq.com
- 邮 编:201718
- 地 址:上海市青浦区金泽工业园区
- 网 址: https://bengye.cn.goepe.com/
http://www.021-fm.com
-
产品搜索





