-
GZF系列水库大坝底部固定直排式锥形阀申弘
详细信息| 询价留言GZF系列水库大坝底部固定直排式锥形阀 产品说明
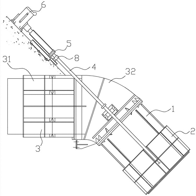
GZF系列水库大坝底部固定直排式锥形阀为锥形阀的排放型,一般常安装于涡轮发电机,水库大坝底部作为自由排放或者水库泄洪用途。通常作为水轮发电机组旁通阀的自由排放阀,或是连续排放流量控制。由于采用了倒置锥形柱塞阀芯而得名,简称锥形阀,又因其具有优异的消能效果,故又称消能阀。锥形阀除了在流道终端设置有锥形阀芯之外,所有运动部件全部设置在阀门的过流通道外部,使得阀体内部流道通常顺滑,流量大而压降损耗少,其在整个工作范围内不会产生气蚀及振动;锥形阀由埋设管、阀体、套筒、电动装置、丝杆、连杆等几个部份组成,其结构为外套筒形式,即阀体固定。它是采用丝杆螺母伸缩动作,带动外套筒上下动作,达到阀门的启闭目的。它广泛应用于水利、水电、水库等工程上。

二、GZF系列水库大坝底部固定直排式锥形阀产品特点
1、水力条件好,具有较高的流量系数u=0.73~0.83。
2、结构简单,重量轻;布置紧凑,操作灵活,维护方便、运行可靠、启闭力小。
3、泄流时喷出水舌为喇叭状,空中扩散掺气、消能效果好,一般都不用做消能措施,如设置为淹没式出流,侧水下的消能也很简单。
四、使用与维护
锥形阀的布置与周围建筑物有密切关系,如布置不当时,因射流引起对建筑物的冲刷或形成的雾气对电站的运行带来麻烦,以及放水时引起的显著震动,因此布置形式必须慎重考虑。
锥形阀经一段时间运转后,应对锥形阀进行定期清扫、去锈、油漆,应对锥形阀的油缸、液压站进行定期检查和油加,定期检查和更换密封圈及止水橡胶,保证阀门处于正常运转。
主要技术参数
1.阀体材料:球墨铸铁、碳钢、不锈钢
2.公称压力PN:0.6~4.0MPa
3.公称通径DN:200~2000mm
4.强度试验:PN×1.5
5.密封试验:PN×1.1
6.使用温度T:0~70℃
7.连接形式:法兰、焊接
8.适用介质:水、污水
9.操作机构:蜗轮、电动、液动、气动(执行机构另附使用说明)
10.流量特性
11.主要零部件(详见附表)
12.规格参数
序号
规格
尺寸
(mm)
设计
压力(MPa)
zui大流速(m3/s)
zui大
行程(mm)
检修
行程(mm)
操作方式
主体
尺寸
(mm)
1
450
0.6-2.5
3.56
250
400
蜗轮、电、气、液动
650×482×482
2
600
0.6-2.5
7.84
360
460
电、气、液动
970×700×700
3
800
0.6-1.6
13.5
400
480
电、气、液动
1900×1000×1000
4
1000
0.6-1.6
21
400
700
电、气、液动
1540×1200×1200
5
1200
0.6-1.6
30.3
580
810
电、气、液动
1775×1424×1424
6
1400
0.6-1.0
41.2
700
830
电、气、液动
1940×1620×1620
7
1600
0.6-1.0
53.8
740
930
电、气、液动
2260×1900×1900
8
1800
0.6-1.0
60
900
1050
电、气、液动
2460×2112×2112
9
2000
0.6-1.0
84
1000
1150
电、气、液动
2572×2300×2300
注:本表尺寸以基本型为依据,不含导流罩及附件部分;不同形式高度尺寸可能有所不同,请以实际图纸尺寸为准。

三、结构原理
锥形阀大致可以分为埋设管(或过渡管)、锥形阀体、套筒、执行机构、拉杆及传动机构等几个部份。其阀体固定、执行机构通过传动机构启闭活动的外套筒,达到阀体的启闭。它具有下列优点:
1.水力条件好,具有较其它阀门高的流量系数u=0.75~0.83或更高;
2.结构简单,重量轻;所有传动部件均设置在阀体之外,一目了然,便于维护检修;
3.启闭力小,操作轻便,可适用于无电源的中小形水利工程场所,可设置电、气、液动操作启闭机构,轻松实现遥控或无人值守自动运行;
4.泄流时喷出水舌为喇叭状,空中扩散掺气,消能效果好,简单消能池或不用做消能措施,如设置为淹没式出流,则水下之消能亦甚简单;
5.流体通过内部4导流翼进行均匀分割,不会产生漩涡和震动;
6.其阀门的启闭或流量控制则由外部套管的上下移动来带动锥形阀芯的动作实现控制,套筒与阀体之间通过导向环和O形圈实现导向和密封,使阀的流量系数与阀开度具备一定的比例关系。
7.针对不同状况和压力的流体介质,可以设置金属硬密封和氟塑软密封。采用高强度合金不锈钢耐磨阀座设计的复合密封结构兼具金属对金属硬密封和软密封的特性;
8.可限制发散角度,使流体分解为稀薄喷淋形态或环状对流达到冲击抵消的目的。同时适应不同现场的需求。
9.根据阀门水平线与中轴线的夹角大小,以180°水平安装zui为常见,此外采用的方式有45°,60°、90°;
四、选择布置
锥形阀的布置与枢纽建筑物有密切关系,如布置不妥,将因射流引起对建筑物之冲刷或形成的雾气对电站的运行带来麻烦,以及放水时引起的显著震动,因此,布置形式必须慎重考虑,我们建议根据地貌和实际情况,主要从出口方式、安装方式和发散方式三个方面入手,合理安排锥形阀的布置。
1、出口方式的选择:
(1) 淹没式:适合水头较低的沟渠等灌溉或饮用水系统,出口四周都为宽阔平坦,以沙石地形为主;
(2) 喷射式:适合水头较高、陡峭山体场合;
2、安装方式的选择:
(1) 水平安装:适合于消能池较薄弱、但场地宽广、周围无建筑物;
(2) 垂直安装:适合场地狭小或近距离建筑物较多。
(3) 可选角度安装:介于水平安装与垂直安装之间。
3、发散形式选择:
(1) 自由发散型:在空气中自由发散,根据水头大小形成不同范围的发散区域;
(2) 限制发散型:利用导流罩有效控制锥形阀的出口发散程度:都用于水头高,出口狭小,涉及建筑物或其他设施等;如图所示,用户应根据设计消能池或泄洪渠的具体尺寸选择合适的导流罩,具体如图所示,a、b为导流罩的夹角延长线,L为消能池或泄洪渠的宽度,H为导流罩夹角顶部到消能池或泄洪渠表面的高度,按等边三角形原理计算该选用的导流罩角度。
五、型号编制
锥形阀型号编制,在遵照国内外惯例基础上,采用特殊与通用阀相结合的方式编制。
六、安装与维护
1、运输保管
(1) 本产品出厂通常安装有支架和吊环,装卸运输请勿直接接触产品本体;
(2) 由于本产品系阀门集成产品,可能包含机械传动机构/电、气、液传动等,请务必注意安全装卸;
(3) 请勿遗忘支架、控制箱、连接件等必要安装和控制附件;
(4) 请在干燥室内摆放,仓储温度-5~40℃,相对湿度≤85%;
(5) 本产品严禁堆码
2、安装
(1) 请检查随机各部件是否齐全、铭牌数据是否与订货要求相符;
(2) 固定锥形阀安装前应仔细核对阀门底脚尺寸和法兰尺寸是否与管道预留尺寸一致;
(3) 安装或运输装卸过程中严禁直接在阀体或阀杆位置进行装卸,应利用出厂时的阀门支架或阀门上的吊钩进行;
(4) 安装前请务必冲洗管道,确保管道无残渣存留,以免影响密封面的完整;
(5) 固定锥形阀的执行机构与套筒之间通过传动机构连接并动作,故安装时应特别注意传动杆与操作机构的水平度、垂直度和同轴度。
(6) 安装完毕后应通过手动操作将阀门开启到50%左右,然后按照执行机构的说明书上的操作要求进行零位和满行程调整。严禁直接进行自动(电动、液动、气动)调试操作。
(7) 产品安装必须留出足够的杠杆动作空间,并设置保护栅以保护人身安全和产品正常动作。水击可能危及产品安全,必要时下部再设置安全平台。
3、维护
(1) 锥形阀属于定期使用产品,为保证使用时产品的正常运行,我们建议:指定专人负责;每1个月对裸露室外部分表面进行清理,并涂抹润滑油脂;每6个月定期进行试验;每年组织一次管路系统联动试验。
(2) 自动控制(包含电、气、液动)的锥形阀应定期检查控制电路,保证电气系统正常运行。
(3) 锥形阀为管路终端设备,请注意泥沙等沉积的可能性,定期给予排放冲洗。

订货须知:
一、①产品名称与型号②口径③是否带附件以便我们的为您正确选型。
二、若已经由设计单位选定型号,请按型号直接向我们销售部订购。三、当使用的场合非常重要或环境比较复杂时,请您尽量提供设计图纸和详细参数,由我们的阀门公司专家为您审核把关。如有疑问我们一定会尽心尽力为您提供优质的服务。
-
联系方式
- 联系人:申弘阀门
- 电 话:021-59260058
- 手 机:15901754341
- 传 真:86-021-31662735
- 邮 箱:494522509@qq.com
- 邮 编:201718
- 地 址:上海市青浦区金泽工业园区
- 网 址: https://bengye.cn.goepe.com/
http://www.021-fm.com
-
产品搜索







