-
SH钛合金气动球阀TA10
详细信息| 询价留言TA10钛合金气动球阀产品说明
钛阀门能否抵抗工作环境介质的腐蚀,关键在于其表面的“钝性氧化膜”在腐蚀介质中的化学稳定性。对于中性,氧化性,弱还原性介质环境“钝性氧化膜”本身就有着很好的稳定性。对于高温或PH值较低的还原性腐蚀介质,为提高其“钝性氧化膜”的稳定性,可通过加入缓蚀剂(如空气、水、重金属离子和阴离子等),如钛表面离子改性处理,阳极化处理等方法,来提高“钛”在还原性介质中的耐腐蚀性及表面硬度来满足使用要求。是同属一个类型的阀门,只有它的关闭件是个球体,球体绕阀体中心线作旋转来达到开启、关闭的一种阀门。 球阀在管路中主要用来做切断、分配和改变介质的流动方向。球阀是近年来被广泛采用的一种新型阀门。在各种阀门中,球阀的流动阻力*小,全径球阀打开时,球体通道、阀体通道和连接管径相等并成一直径,介质几乎可以毫无损失的流过,球阀旋转90°即可全关全开,启闭迅速。与相同规格的闸阀、截止阀比较、球阀体积小、重量轻,便于管道安装。

球阀按照驱动方式分为:气动球阀,电动球阀,手动球阀。启闭件(球体)由阀杆带动,并绕球阀轴线作旋转运动的阀门。亦可用于流体的调节与控制,其中硬密封V型球阀其V型球芯与堆焊硬质合金的金属阀座之间具有很强的剪切力,特别适用于含纤维、微小固体颗料等的介质。而多通球阀在管道上不仅可灵活控制介质的合流、分流、及流向的切换,同时也可关闭任一通道而使另外两个通道相连。本类阀门在管道中一般应当水平安装。球阀按照驱动方式分为:气动球阀,电动球阀,手动球阀。钛球阀的球体是浮动的,在介质压力作用下,球体能产生一定的位移并紧压在出口端的密封面上,保证出口端密封。美标钛球阀主要是利用钛金属材料在强腐蚀环境中氧化薄膜有很好的稳定性和自钝化能力,这一特性来抵抗多种苛刻工况强腐蚀。
1、流阻力小,球阀是所有阀类中流体阻力小的一种,即使是缩径球阀,其流体阻力也相当小。
2、美标钛球阀密封性能好。球阀阀座(密封圈)一般采用PTFE聚四氟乙烯等弹性材料制造,易于保证密封,而且球阀的密封力随着介质压力的增加而增大。
3、阀杆密封可靠。球阀启闭时阀杆只作旋转90°运动,因此阀杆的填料密封不易被破坏,而且阀杆倒密封的密封力随着介质压力的增加而增大。

TA10钛合金气动球阀技术规范
设计标准:GB/T12237、API6D、ASME B16.34
结构长度:GB/T12221、API6D、ASME B16.10
连接法兰:HG、GB、JB、API、ANSI、ISO、BS、DIN、NF、JIS
试验标准:JB/T9092、GB/T13927、API6D、API598
主体材料
阀体、阀盖:TA1、TA2、TA10、Gr2、Gr3
球体:TA1、TA2、TA10、Gr2、Gr3
阀杆:TA1、TA2、TA10、TC4、Gr2、Gr3、Gr5
密封圈:PTFE、RPTFE、PPL、PEEK
特点:
1、在各种阀门中,球阀的流动阻力小,全径球阀打开时,球体通道、阀体通道和连接管径相等并成一直径,介质几乎可以毫无损失的流过
2、球阀旋转90°即可全关全开,启闭迅速。与相同规格的闸阀、截止阀比较、球阀体积小、重量轻,便于管道安装
3、比重轻、强度高、腐蚀、压性好等突出优点

AT(GT)系列气动执行机构相同规格有双作用式、单作用式(弹簧复位);标准旋转轴角度可调节-5~+50范围;所有滑动部件采用塑料轴承衬套、导向,保持*小摩擦力,并有效地抵抗磨损;外壳表面阳极化电镀,防腐蚀保护;旋转轴镀硬质镍磷合金;螺丝、 螺母为不锈钢;单作用式弹簧预装在弹簧座内,很容易装配或增补弹簧数量;连接、安装接口标准化模块设计,方便配装球阀、信号盒及控制附件;可选择旋转方向顺时针旋转或逆时针旋转;两端调节螺丝可调节小于标定角度调整。特殊的腐蚀环境可采用不锈钢外壳。1. 流体阻力小,其阻力系数与同长度的管段相等。
2. 结构简单、体积小、重量轻。
3. 紧密可靠,目前球阀的密封面材料广泛使用塑料、密封性好,在真空系统中也已广泛使用。
4. 操作方便,开闭迅速,从全开到全关只要旋转90°,便于远距离的控制。
5. 维修方便,球阀结构简单,密封圈一般都是活动的,拆卸更换都比较方便。
6. 在全开或全闭时,球体和阀座的密封面与介质隔离,介质通过时,不会引起阀门密封面的侵蚀。
7. 适用范围广,通径从小到几毫米,大到几米,从高真空*压力都可应用。
TA10钛合金气动球阀密封材质选择
气动球阀的配置与技术参数选择 常温 增强 通用温度 高温 耐磨、高温 材料代号 F Fs M PPL Y.H 适用温度 ≤150℃ ≤200℃ ≤250℃ ≤350℃ ≤425℃ 公称通径
(mm)15 20 25 32 40 50 65 80 100 125 150 200 额定流量
系数Kv20 38 72 100 170 270 400 510 940 1400 2200 3500 配
执
行
机
构
型
号PN
10
16双
作用GTD52 GTD65 GTD80 GTD90 GTD100
(GTD115)GTD
125GTD145
(GTD160)GTD
160GTD
190单
作用GTE65 GTE80 GTE90
(GTE100)GTE100
(GTE115)GTE125
(GTE145)GTE160
(GTE190)GTE190
(GTE210)GTE210
(GTE255)GTE
255PN
40
64双
作用GTD52 GTD65 GTD80 GTD90 GTD100 GTD125 GTD160 GTD190
(GTD210)GTD255 单
作用GTE65 GTE80 GTE90 GTE100 GTE115 GTE145 GTE190 GTE210 GTE255 气源操作
压力 KPa500 公称压力
MPa1.0、1.6、4.0、6.4 额定转角
°90 流量
特性快开 执行机构
注:如需详细执行器参数,请进入气动执行器页面进行查阅。执行器型号 GT、SR、ST、AT、AW系列单双作用气动执行器 供气压力 0.4~0.7MPa 气源接口 G1/4"、G1/8"、G3/8"、G1/2" 环境温度 -20~+90℃ 作用形式 单作用执行机构:气关式(B)--失气时阀位开(FO);气开式(K)--失气时阀位关(FC)
双作用执行机构:气关式(B)--失气时阀位保持(FL);气开式(K)-- 失气时阀位保持(FL)可配附件 定位器、电磁阀、空气过滤减压器、保位阀、行程开关、阀位传送器、手轮机构等 ■ TA10钛合金气动球阀主要性能指标
公称通径 DN(mm) 15 20 25 32 40 50 65 80 100 125 150 200 250 300 额定流量系数KV 21 38 72 112 170 273 384 512 940 1452 2222 3589 5128 7359 允许压差(MPa) ≤ 公称压力 动作范围 0~90° 泄露量Q 软密封为零泄露;金属密封符合ANSI B16.104 IV级标准 基本误差 带定位器:小于全行程的±2% 回差 带定位器:小于全行程的2% ■ 主要性能规范
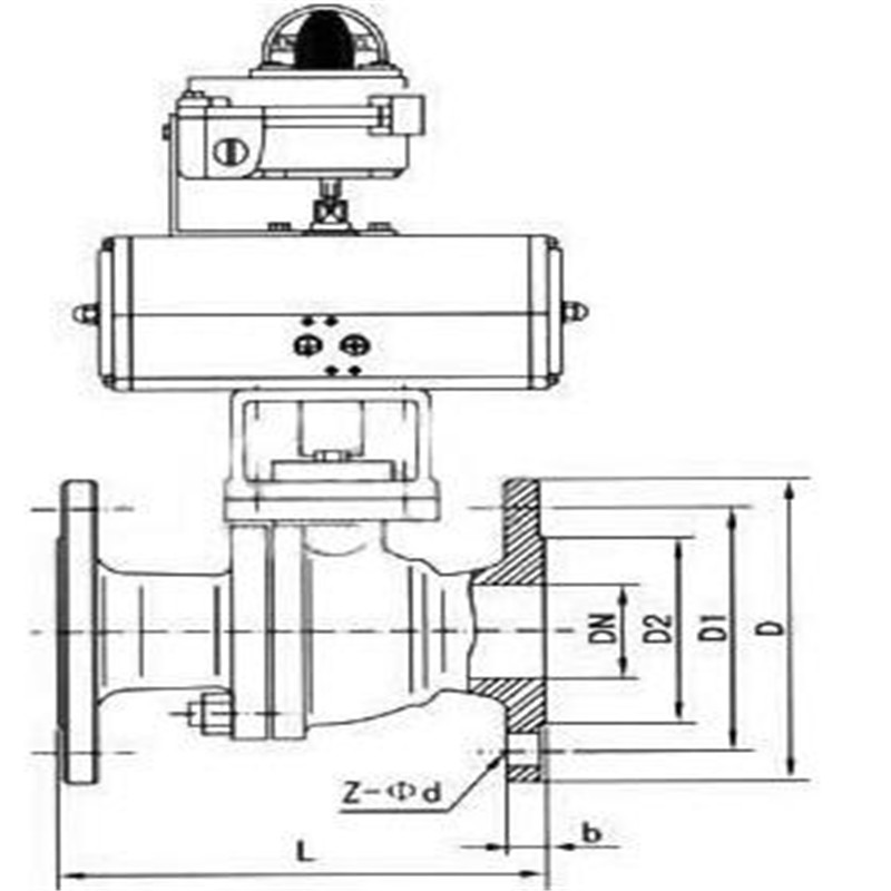
试验压力(MPa) 公称压力(MPa) 压力级(class) JIS(K) 1.6 2.5 4.0 6.4 10.0 150 300 600 10K 20K 强度试验 2.4 3.75 6.0 9.6 15.0 3.0 7.5 16.5 2.4 3.8 密封试验 1.76 2.75 4.4 7.04 11.0 2.2 5.5 12.1 1.5 2.8 气密试验 0.5~0.7MPa TA10钛合金气动球阀外形尺寸
国标阀体外形结构尺寸
注:以上参数均以国标PN1.6MPa为准,其他压力等级请咨询公司技术部,表中尺寸为不带标准附件数据,另由于产品改进技术创新参数可能有一定变化,请咨询公司技术部门索取*新数据。公称通径 DN(mm) 15 20 25 32 40 50 65 80 100 125 150 200 250 300 L 130 140 150 165 180 200 220 250 280 320 360 400 630 750 H 44.5 49 55 65 65 75 90 95 115 127 140 172.5 310 350 H1 根据所配而定 D 95 105 115 140 150 165 185 200 220 250 285 340 405 460 D1 65 75 85 100 110 125 145 160 180 210 240 295 355 410 D2 46 56 65 76 84 99 118 132 156 184 211 266 319 370 n-φd 4-14 4-14 4-14 4-18 4-18 4-18 4-18 8-18 8-18 8-18 8-22 12-22 12-26 12-26 A、A1 根据所需力矩而定,配置执行器不同,外形尺寸也不相同 ● 美标阀体外形结构尺寸
公称通径 DN(mm) 15 20 25 32 40 50 65 80 100 125 150 200 250 300 L 108 117 127 140 165 178 190 203 229 356 394 457 533 610 H 44.5 49 55 65 65 75 90 95 115 127 140 172.5 310 350 H1 根据所配而定 D 89 98 108 117 127 152 178 190 229 254 279 343 406 483 D1 60.3 69.8 79.5 88.9 98.4 120.6 139.7 152.4 190.5 216 241.3 298.5 362 432 D2 35 43 51 64 73 92 105 127 157 186 216 270 324 381 n-φd 4-15 4-15 4-15 4-15 4-15 4-19 4-19 4-19 4-19 8-22 8-22 8-22 12-25 12-25 A、A1 根据所需力矩而定,配置执行器不同,外形尺寸也不相同 注:以上参数均以国标ANSI150LB为准,其他压力等级请咨询公司技术部,表中尺寸为不带标准附件数据,另由于产品改进技术创新参数可能有一定变化,请咨询公司技术部门索取*新数据。

钛合金球阀启闭件(球体)由阀杆带动,并绕球阀轴线作旋转运动的阀门。亦可用于流体的调节与控制,其中硬密封V型球阀其V型球芯与堆焊硬质合金的金属阀座之间具有很强的剪切力,特别适用于含纤维、微小固体颗料等的介质。而多通球阀在管道上不仅可灵活控制介质的合流、分流、及流向的切换,同时也可关闭任一通道而使另外两个通道相连。本类阀门在管道中一般应当水平安装

一、确认TA10钛合金气动球阀在安装前的准备工作
1、保证气动球阀安装位置管线在同轴位置上,管线上两片法兰应保持平行,确认管线能够承受球阀自身重量,如果发现管线不能承受球阀重量,则在安装前为管线配备相应的支撑。
2、确认管线内是否有杂质、焊渣等,必须要把管线内吹扫干净。
3、核对气动球阀铭牌,并对气动球阀进行全开全闭数次操作,确认阀门能够正常工作,再全面检查一次阀门的各个细节,保证阀门完好无损。
4、除去气动阀门两端的保护盖,检查阀体内是否干净,清洗阀体内腔,由于气动球阀的密封面是球形状,即使微小的杂物也可能造成密封面的损伤。
二、气动球阀的安装
1、气动球阀的任何一段都可安装在上游端,手柄球阀可以安装在管线的任何位置,如果配置执行机构(如齿轮箱、电-气动执行器)的球阀,则必须垂直安装,阀门进出口处在水平位置上。
2、气动球阀法兰与管线法兰间按管路设计要求装上密封垫。
3、法兰上的螺栓需对称、逐次、均匀拧紧。
4、如果球阀采取气动、电动等执行器时,按说明书完成气源、电源的安装。
三、气动球阀安装后的检查
1、安装完毕后,启动球阀开、关数次,应该动作灵活,受力均匀,球阀工作正常。
2、根据管道压力设计要求,通压后检测球阀与管道法兰结合面的密封性能。
四、气动球阀的维修
1、只有卸除球阀前后的压力,才能对气动球阀进行拆卸分解操作。
2、上海明精防腐阀门制造有限公司在对球阀的分解与再装配过程,需要对有密封性零部件的保护,特别是非金属零部件,像O型圈等部件使用专用的工具。
3、气动球阀阀体重新装配时螺栓必须对称、逐步、均匀地拧紧。
4、清洗剂应与球阀中的橡胶件、塑料件、金属件及工作介质(例如燃气)等均相容。工作介质为燃气时,可用汽油(GB484-89)清洗金属零件。非金属零件用纯净水或酒精清洗。
5、分解下来的单个零件可以用浸洗方式清洗。尚留有未分解下来的非金属件的金属件可采用干净的细洁的浸渍有清洗剂的绸布(为避免纤维脱落粘附在零件上)擦洗。清洗时须去除一切粘附在壁面上的油脂、污垢、积胶、灰尘等。
6、非金属零件清洗后应立即从清洗剂中取出,不得长时间浸泡。
7、清洗后需待被洗壁面清洗剂挥发后(可用未浸清洗剂的绸布擦)进行装配,但不得长时间搁置,否则会生锈、被灰尘污染。
8、新零件在装配前也需清洗干净。
9、使用润滑脂润滑。润滑脂应与球阀金属材料、橡胶件、塑料件及工作介质均相容。工作介质为燃气时,可用例如特221润滑脂。在密封件安装槽的表面上涂一薄层润滑脂,在橡胶密封件上涂一薄层润滑脂,阀杆的密封面及摩擦面上涂一薄层润滑脂。
10、装配时应不允许有金属碎屑、纤维、油脂(规定使用的除外)灰尘及其它杂质、异物等污染、粘附或停留在零件表面上或进入内腔。

订货须知:
一、①产品名称与型号②口径③是否带附件以便我们的为您正确选型④使用压力⑤使用介质的温度。
二、若已经由设计单位选定公司的型号,请型号直接向我司销售部订购。三、当使用的场合非常重要或环境比较复杂时,请您尽量提供设计图纸和详细参数,由我们的阀门公司专家为您审核把关。产品所属保温阀门选型,感谢您访问我们申弘阀门的网站如有任何疑问.您可以致电给我们,我们一定会尽心尽力为您提供优质的服务。如需要了解更多其它减压阀类产品的信息可以点击减压阀查看。
-
联系方式
- 联系人:申弘阀门
- 电 话:021-59260058
- 手 机:15901754341
- 传 真:86-021-31662735
- 邮 箱:494522509@qq.com
- 邮 编:201718
- 地 址:上海市青浦区金泽工业园区
- 网 址: https://bengye.cn.goepe.com/
http://www.021-fm.com
-
产品搜索






