-
H72H对夹立式止回阀SH
详细信息| 询价留言H72H对夹立式止回阀产品说明
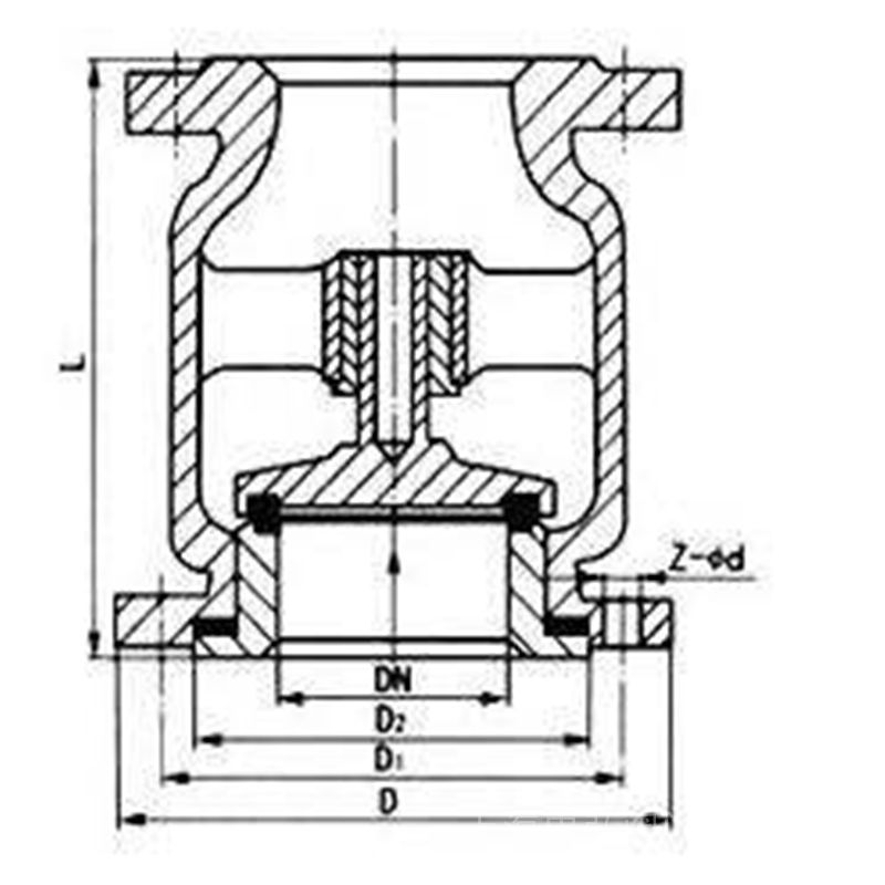
一种立式止回阀,包括立式安装的阀体、轴向贯通阀体的阀腔、紧固安装在阀腔内的阀座和阀瓣座、及启闭阀腔的阀瓣,所述的阀瓣座是一个倒扣在阀座上的圆筒;所述的阀座上设有进水孔,所述的阀瓣座顶部设有出水孔;所述的阀瓣轴向往复移动设置在阀瓣座内,并接触阀座而关闭进水孔,或脱离阀座而打开进水孔与出水孔相连通。所述的阀瓣座内周面上设有多个竖向凸筋,阀瓣座内顶面上设有多个围绕出水孔的横向凸筋;所述的竖向凸筋与所述阀瓣的外周面相接触,并使阀瓣外周面与阀瓣座内周面之间形成出水间隙;所述的横向凸筋与所述阀瓣的顶面相接触,并使阀瓣顶面与阀瓣座内顶面之间形成出水通道,该出水通道分别连通出水间隙和出水孔。
所述的阀瓣是一个圆柱状陶瓷件,阀瓣底面设有进水沉孔。H72型对夹立式止回阀适用于公称压力PN1.0MPa~42.0MPa、 Class150-2500;公称通径DN15~1200mm、NPS1/2~48;工作温度-196~540℃的各种管路上,用于防止介质倒流。通过选用不同的材质,H72型对夹立式止回阀可适用于水、蒸汽、油品、硝酸、醋酸、强氧化性介质及尿素等多种介质。

H72H对夹立式止回阀标准
设计与制造:API594、API6D、JB/T8937
结构长度:API594、API6D、DIN3202、JB/T8937
压力一温度等级:SNSIB16.34、DIN2401、GB/T9124、HG20604、HG20625、SH3406、JB/T74
试验与检验:API598、JB/T9092
配管法兰:JB/T74~90、GB/T9112!9124、HG20592~20635、SH3406、ANSIB16.5、DIN2543~2548、GB/T13402、API605、ASMEB16.47

所述的阀座和阀瓣座在阀腔内的紧固安装结构是阀瓣座顶部定位安装在阀腔的内肩上,阀瓣座底部接触在阀座顶部,该阀座顶部定位安装在阀腔的内止口上,阀座底部接触在环状阀盖上,该环状阀盖紧固连接在阀腔内。
所述的环状阀盖顶部设为圆锥凸台和成形于圆锥凸台外围的外肩,底部设有内六角孔,在外肩上设有与所述阀座形成接触密封的“O”型圈。
所述的阀体为一体式中空管结构,该中空管的上端口设为出水口,下端口设为进水口。
所述的进水口设有塞装固定在环状阀盖下方的密封圈,该密封圈内设有过滤网。

H72H对夹立式止回阀规范
型号 公称压力
PN(MPa)试验压力p(MPa) 工作压力
p/MPa工作温度
/℃工作介质 壳体 密封 H72Y-160 16 24 16 16 ≤200 氮、氢、铜按、氨气、碱液 H72Y-320 32 48 32 32 H72W-220R 22 33 22 22 尿素、甲胺 H72W-320R 32 48 32 32 四、H72H对夹立式止回阀零件材料
零件名称 阀座、阀瓣 阀盖 阀体 O形圈 H72Y-160 H72Y-320 铬钢 碳钢 铬钢 氟26-41橡胶 H72W-220R H72W-320R 铬镍钼不锈 — 五、H72H对夹立式止回阀规格尺寸
公称通径 尺寸(mm) 重量
(kg)D D1 d M L L1 10 95 42 10 M24 60 155 3.4 15 95 42 12 M24 60 158 4.1 25 105 50 15 M33 65 163 6.9 32 115 62 25 M42 80 180 8.0 40 165 88 32 M52 90 230 15 50 165 88 39 M64 115 265 27 365 200 116 53 M80 140 315 49 80 225 138 60 M100 160 360 88 100 260 160 76 M125 180 420 91 125 300 195 90 M155 200 460 115 150 330 212 120 M175 220 500 145 200 400 250 176 M215 240 570 160 公称通径
DN(mm)尺寸(mm) 重量
(kg)D D1 d M L L1 10 95 42 10 M24 60 155 3.4 15 105 50 12 M33 65 158 4.5 25 115 62 23 M42 80 180 7.3 32 135 70 29 M48 90 200 8.7 40 165 88 34 M52 115 255 17 50 200 116 53 M80 140 300 30 65 225 138 60 M100 160 345 56 80 260 160 68 M125 180 410 92 100 300 195 85 M155 200 470 109 125 330 212 120 M175 220 510 135 150 400 250 135 M215 240 570 160 200 480 320 176 M265 280 670 180 与现有技术相比,本实用新型主要是将阀瓣座设计成一个倒扣在阀座上的圆筒,且阀座上设有进水孔,阀瓣座顶部设有出水孔,再将陶瓷制成的阀瓣轴向往复移动设置在阀瓣座内;因此,当阀瓣下落接触在阀座上就能关闭进水孔,从而实现阀门的止回功能;当阀瓣受管路内的介质压力脱离阀座而打开进水孔,就能将进水孔与出水孔相连通,从而实现阀门的贯通功能;这种止回结构避免了传统止回阀必须受限于弹簧的弹性推力才能止回的缺陷,且结构设计更加简单、止回非常可靠、启闭密封性能良好,改进后的立式止回阀还具有使用寿命长、生产成本低、维修方便、品质优良等优点。
以上所述仅是本实用新型的具体实施例,本领域技术人员应该理解,任何与该实施例等同的结构设计,均应包含在本实用新型的保护范围之内。
订货须知:
一、①产品名称与型号②口径③是否带附件以便我们的为您正确选型④的使用压力⑤的使用介质的温度。
二、若已经由设计单位选定公司的型号,请按型号直接向我司销售部订购。三、当使用的场合非常重要或环境比较复杂时,请您尽量提供设计图纸和详细参数,由我们的阀门公司专家为您审核把关。如有疑问:请:我们一定会尽心尽力为您提供优质的服务。提供全面、*的“阀门系统解决方案",也十分愿意帮助用户解决生产中所遇到的难题。
-
联系方式
- 联系人:申弘阀门
- 电 话:021-59260058
- 手 机:15901754341
- 传 真:86-021-31662735
- 邮 箱:494522509@qq.com
- 邮 编:201718
- 地 址:上海市青浦区金泽工业园区
- 网 址: https://bengye.cn.goepe.com/
http://www.021-fm.com
-
产品搜索







