-
申弘不锈钢压力调节阀V230Y
详细信息| 询价留言V230Y不锈钢自力式压力调节阀 产品说明
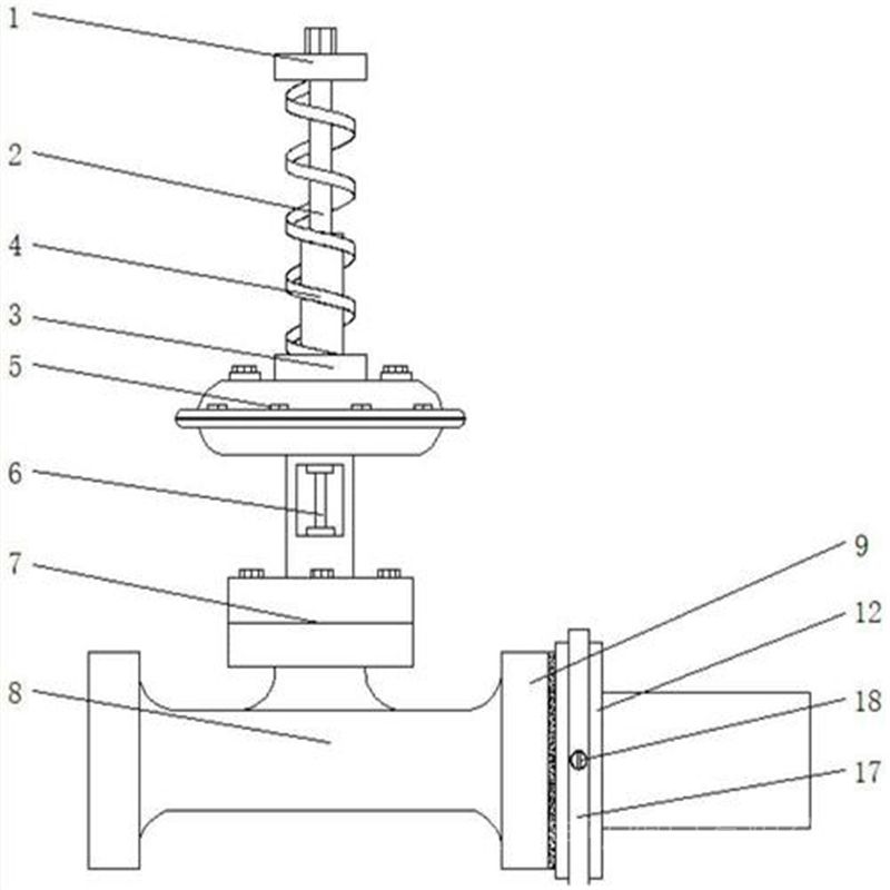
用于自力式调节阀的执行元件,其特征在于,包括圆柱体,圆柱体内开有空腔,空腔内设有密封的金属波纹管,圆柱体的一端设有端盖,在金属波纹管与端盖之间设有压簧,端盖上开有导向孔,毛细管穿过所述导向孔伸入到金属波纹管形成的容腔内,在容腔内设有可沿容腔长度方向运动的推杆,推杆的前端穿过容腔可伸出到空腔外,在空腔内位于推杆的外周设有用于推杆复位的复位弹簧。由阀体、阀座、阀芯部件等组成,是一种不用外来能源而只依靠被调介质自身的压力变化进行自动调节压力的节能型产品,可用于非腐蚀性的液体、气体和蒸汽等介质的压力控制装置。和ZZYP系列相比,控制弹簧由于离阀体较远,不易受介质温度而影响,以及更易于更换或调整弹簧的特点。因此自力式压力调节阀主要用于石油、化工、冶金、轻工等工业部门及城市供热、供暖系统。自力式压力调节阀系列产品公称压力PN16、40,公称通径范围20~300mm,使用温度≤350℃。多种多样的品种可供选择。比老型式有更大压差范围。
V230Y不锈钢自力式压力调节阀产品特点:
(1)自力式调节阀无需外加能源,能在无电无气的场所工作,既方便又节约了能源。
(2)压力分段范围细且互相交叉,调节准确度高。
(3)压力设定值在运行期间可连续设定。
(4)对阀后压力调节,阀前压力与阀后压力之比可为10:1~10:8。
(5)橡胶膜片式检测,执行机构测精度高、动作灵敏。
(6)采用压力平衡机构,使调节阀反应灵敏、控制准确。
自力式调节阀的执行元件,以解决油液流失,执行机构失灵的问题。用于自力式调节阀的执行元件,包括圆柱体,圆柱体内开有空腔,空腔内设有密封的金属波纹管,圆柱体的一端设有端盖,在金属波纹管与端盖之间设有压簧,端盖上开有导向孔,毛细管穿过所述导向孔伸入到金属波纹管形成的容腔内,在容腔内设有可沿容腔长度方向运动的推杆,推杆的前端穿过容腔可伸出到空腔外,在空腔内位于推杆的外周设有用于推杆复位的复位弹簧。

自力式阀后压力调节阀的工作原理。阀前压力P1经过阀芯、阀座的节流后,变为阀后压力P2。P2经过管线输入上膜室内作用在顶盘上,产生的作用力与弹簧的反作用力相平衡,决定了阀芯、阀座的相对位置,控制阀后压力。当P2增加时,P2作用在顶盘上的作用力也随之增加。此时,顶盘上的作用力大于弹簧的反作用力,使阀芯关向阀座的位置。这时,阀芯与阀座之间的流通面积减少,流阻变大,P2降低,直到顶盘上的作用力与弹簧反作用力相平衡为止,从而使P2降为设定值。同理,当P2降低时,作用方向与上述相反,这就是阀后压力调节的工作原理。

二、V230Y不锈钢自力式压力调节阀型号规格
类别 压力控制调节阀 差压控制调节阀 阀后压力控制 阀前压力控制 差压上升阀关闭 差压上升阀开启 硬密封 软密封 硬密封 软密封 硬密封 软密封 硬密封 软密封 型号 V230D01 V231D01 V230D02 V231D02 V230D03 V231D03 V230D04 V231D04 规格 DN15-250 公称通径DN(mm) 20 25 32 40 50 65 80 100 125 150 200 250 300 额定流量系数Kv 7 11 20 30 48 75 120 190 300 480 760 1100 1750 额定行程L(mm) 8 10 14 20 25 40 50 60 70 公称压力PN(MPa) 1.6、4.0 压力调节范围(KPa) 15~50、40~80、60~100、80~140、120~180、160~220、200~260、
240~300、280~350、330~400、380~450、430~500、480~560、540~620、
600~700、680~800、780~900、880~1000、600~1500、1000~2500固有流量特质 快开 调节精度(%) ±5 使用温度(℃) ≤350 允许泄漏量 硬密封(1/h) 单座:≤10-4×阀额定容量(Ⅳ级)、双座和套筒:≤5×10-3阀额定容量(Ⅱ级) 软密封(m1/min) 0.15 0.30 0.45 0.60 0.90 1.70 4.0 6.75 11.10 16.0 减压比 较大 10 较小 1.25 四、V230Y不锈钢自力式压力调节阀执行机构技术参数
产品型号 V230D01(D03),V231D01(D03) V230D02(D04),V231D02(D04) 有效面积(cm2) 32* 80* 250 630 32* 80* 250 630 压力设定范围(MPa) 0.8~1.6 0.1~0.6 0.015~0.15 0.005~0.035 1.0~1.6 0.1~0.5 0.015~0.12 0.005~0.035 0.3~1.2 0.05~0.3 0.01~0.07 0.3~1.1 0.05~0.25 0.01~0.06 保证正常工作较小压差(MPa) ≥0.05 ≥0.04 ≥0.01 ≥0.005 ≥0.05 ≥0.04 ≥0.01 ≥0.005 材质 膜盖:镀锌钢板;膜片:EPDM夹纤维 控制管线 铜管或不锈钢管M10x1;卡套式接头R1/4" 不易受介质温度而影响,以及更易于更换或调整弹簧的特点。可用于非腐蚀性的液体、气体和蒸汽等介质的压力控制装置。具有压力平衡功能,灵敏度高低噪音,性能可靠,免于维护,采用标准模块化设计,通过组合件,可以进行多项组合控制。广泛用于石油、化工、冶金、轻工等工业部门及城市供热、供暖系统。本产品有公称压力PN16、40,公称通径范围20~300mm,使用温度≤350℃。多种多样的品种可供选择。
受温度变化驱动的机构中,包括直接利用执行机构操作的阀门。这种阀门采用毛细管将执行机构与敏感元件连接起来,敏感元件置于流体介质中,且在敏感元件中设置油液,通过流体介质温度升高使油液膨胀,油液流经毛细管去推动执行机构动作。但上述温度驱动的调节阀存在的问题在于如果发生油液流失现象,如毛细管突然破裂,那么执行机构将无法带动阀门开启或关闭,将会失灵,造成系统安全风险。本实用新型涉及一种自力式调节阀部件,具体是指一种应用介质为蒸汽的新型自力式调节阀执行机构。

V230Y不锈钢自力式压力调节阀安装注意事项
1、阀在气体或低粘度液体介质中使用时,通常ZZY型自力式压力调节阀为直立安装在水平管上,当位置空间不允许时才倒装或斜装。
2、为便于现场维修及操作,调压阀四周应留有适当空间。
3、当介质为洁净气体或液体时,阀前过滤器可不安装。
4、调压阀通径过大(DN≥100 时),应有固定支架当确认介质很洁净时,件3可不安装。
5、位置实在不允许时,旁通阀可以省略。
6、阀组后根据需要用户可选配止回阀、安全阀等。
7、阀在蒸汽或高粘度液体介质中使用时,通常ZZY型自力式压力调节阀为倒立安装在水平管上,冷凝器(蒸汽用自力式)应高于调压阀的执行机构而低于阀前后接管。使用前冷凝器应灌满冷水,以后约 3个月灌水一次。

订货须知:
一、①产品名称与型号②口径③是否带附件以便我们的为您正确选型④的使用压力⑤的使用介质的温度。
二、若已经由设计单位选定公司的型号,请按型号直接向我司销售部订购。三、当使用的场合非常重要或环境比较复杂时,请您尽量提供设计图纸和详细参数,由我们的阀门公司专家为您审核把关。如有疑问:请:我们一定会尽心尽力为您提供优质的服务。提供全面、*的“阀门系统解决方案",也十分愿意帮助用户解决生产中所遇到的难题。
-
联系方式
- 联系人:申弘阀门
- 电 话:021-59260058
- 手 机:15901754341
- 传 真:86-021-31662735
- 邮 箱:494522509@qq.com
- 邮 编:201718
- 地 址:上海市青浦区金泽工业园区
- 网 址: https://bengye.cn.goepe.com/
http://www.021-fm.com
-
产品搜索








