-
J41N手动弹性尼龙软密封截止阀申弘
详细信息| 询价留言弹性尼龙密封手动截止阀J41N-16C 弹性尼龙密封手动截止阀J41N-16C作用 弹性尼龙密封手动截止阀作用 尼龙密封手动截止阀
J41N手动弹性尼龙软密封截止阀产品说明
之前介绍JIS日标不锈钢截止阀标准,弹性尼龙密封截止阀J41N-16C液化气截止阀产品信息请与上海申弘阀门有限公司联系沟通。采用弹性成型聚四氟乙烯为填料,填料密封性能随介质压力上升而增强,并具备倒密封功能,适用于高中压燃气输送管路。液化气截止阀使用于城市液化气石油气贮备站,也使用于炼油厂,石油化工厂,石油化工厂的液化气系统,作为控制介质截的启闭装置阀门中腔采用压力自紧式密封结构,内腔压力越高密封性能越好。支管两端为对焊连接,适应不同的接管要求。阀瓣、阀座的密封面采用stellite 司太立钴基硬质合金堆焊而成,耐磨、耐高温,抗擦伤性能好、使用寿命长。阀盖填料函尝试合理,填料加缓蚀剂,密封可靠,开关平稳。阀门具有上密封结构,保证阀门开启运行时阀杆处不会外漏。电动截止阀的开启和关闭由电动装置来控制,电动装置分别配有专用电机、减速器、转矩控制机构,现场操作机构,手动、电动切换机构。除就地操作外,还可进行远距离操作。上海申弘阀门有限公司主营阀门有:截止阀,电动截止阀

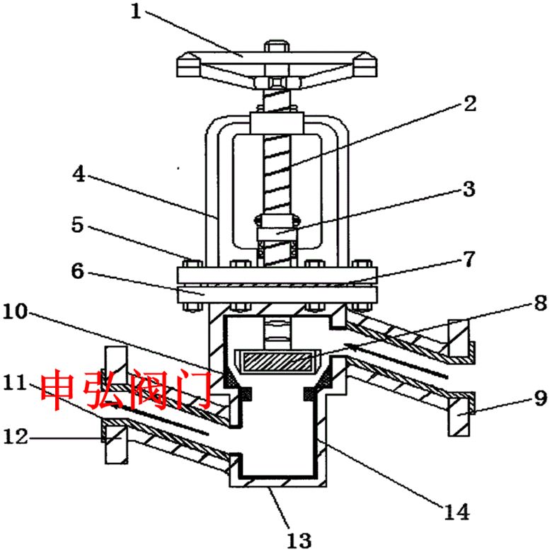
弹性尼龙密封手动截止阀J41N-16C操作原理和结构说明
手轮顺时针方向转时,阀杆向下移动,阀瓣下降使密封面密合,将通路切断.逆转时则开启,阀杆提到*高点上密封起作用。液化气截止阀增加了一个上密封.在阀门开启状态时,与填料一起两层密封作用,并对填料有一定的保护。弹性尼龙密封手动截止阀J41N-16C作用
采用尼龙制品作密封面,填料为软成形填料,上密封也为软材质,密封性能较好.
J41N-25/40截止阀
通径(DN):15∽200(mm)
压力(PN)2.5∽4.0MPa
材料:锻钢、碳钢弹性尼龙密封手动截止阀J41N-16CJ41N-16C液化气截止阀主要设计标准:
J41N-16C液化气截止阀设计、制造:GB/T12235-89
J41N-16C液化气截止阀法兰连接:JB/T79-94、GB9113-2000
J41N-16C液化气截止阀结构长度:GB12221-89
J41N-16C液化气截止阀公称通径:DN15~DN300mm
J41N-16C液化气截止阀公称压力:PN1.6、2.5、4.0MP。J41N手动弹性尼龙软密封截止阀的优点是:
( l )J41N-16C液化气截止阀在开启和关闭过程中,由于阀瓣与阀体密封面间的摩擦力比闸阀小,因而耐磨.( 2 )开启高度一般仅为阀座通道直径的l / 4 ,因此比闸阀小得多。
( 3 )J41N-16C液化气截止阀通常在阀体和阀瓣上只有一个密封面,因而制造工艺性比较好,便于维修。
弹性尼龙密封截止阀J41N-16C之弹性尼龙密封材质
上海申弘阀门有限公司主营阀门有:截止阀,电动截止阀,气动截止阀,电动蝶阀,气动蝶阀弹性体共混增韧和滑石粉填料来改善尼龙基体的性能。增韧改性包括:不同用量的粉末丁腈橡胶、块状丁腈橡胶、乙烯丙烯酸酯橡胶等对PA6力学性能的影响;不同用量的块状丁腈橡胶对三元尼龙力学性能的影响。并比较丁腈橡胶增韧PA6与三元尼龙的效果。尼龙(PA)分为:PA11、PA12、PA46、PA6、PA66、PA9T、PA6T、PA612、PA66/6。其中PA11、PA12、PA46、PA6T、PA9T为而高温尼龙。实验结果表明:尼龙与橡胶共混后,尼龙拉伸强度与弯曲强度随不同种类橡胶添加量的增加,呈现出不同程度下降的趋势;断裂伸长率随橡胶添加量增加有明显增加;乙烯丙烯酸酯橡胶能大幅改善PA6的冲击性能熔融状态的尼龙织带缓慢冷却时,在235~245℃急剧生成球晶。球晶不仅包含于结晶部分,也包含于非结晶部分,结晶度为20%~40%。PA塑料(尼龙)
比重:PA6-1.14克/立方厘米 PA66-1.15克/立方厘米 PA1010-1.05克/立方厘米
成型收缩率:PA6-0.8-2.5% PA66-1.5-2.2%
成型温度:220-300℃
干燥条件:100-110℃ 12小时弹性尼龙密封截止阀J41N-16C物料性能
坚韧,耐磨,耐油,耐水,抗酶菌,但吸水大.
尼龙6弹性好,冲击强度高,吸水较大
尼龙66性能优于尼龙6,强度高,耐磨性好
尼龙610与尼龙66相似,但吸水小,刚度低
尼龙1010半透明,吸水小,耐寒性较好
用途:适于制作一般机械零件,减磨耐磨零件

J41N手动弹性尼龙软密封截止阀执行标准
设计与制造 结构长度 法兰尺寸 压力-温度 试验-检验 GB12235 GB12221 GB9113 JB79 GB9131 GB/T13927 JB/T9092
性能参数型号 J41H-16C~160C J41Y-16C~160C J41W-16P~160P 工作压力(MPa) 1.6~16.0 适用温度(℃) ≤425 ≤150 适用介质 水、蒸汽、油品 弱腐蚀性介质 材料 阀体、阀盖 碳素钢 铬镍钛不锈钢 阀杆 铬不锈钢 铬镍钛不锈钢 密封面 堆焊铁基合金 堆焊硬基合金 本体材料 填料 石棉石墨、柔性石墨、聚四氟乙烯
J41N手动弹性尼龙软密封截止阀压力试验MPa公称压力 1.6 2.5 4.0 6.4 10.0 16.0 强度试验 2.4 3.8 6.0 9.6 15.0 24.0 水密封试验 1.8 2.8 4.4 7.4 11.0 18.0 上密封试验 1.8 2.8 4.4 7.04 11.0 18.0 气密封试验 0.4-0.7

J41N手动弹性尼龙软密封截止阀主要外形尺寸PN l.6MPa1.6MPa DN L D D1 D2 b n-Φd H D0 凸面法兰
RF
J41H
J41Y
J41W
J41F
J41N
16C
16P
16R
16I10 130 90 60 40 14 4-Φ14 198 120 15 130 95 65 45 14 4-Φ14 218 120 20 150 105 75 55 14 4-Φ14 258 140 25 160 115 85 65 14 4-Φ14 275 140 32 180 135 100 78 16 4-Φ18 280 160 40 200 145 110 85 16 4-Φ18 330 180 50 230 160 125 100 16 4-Φ18 350 200 65 290 180 145 120 18 4-Φ18 370 280 80 310 195 160 135 20 8-Φ18 400 280 100 350 215 180 155 20 8-Φ18 415 320 125 400 245 210 185 22 8-Φ18 460 360 150 480 280 240 210 24 8-Φ23 510 450 200 600 335 295 265 26 12-Φ23 710 500 250 650 405 335 320 30 12-Φ25 786 550 300 750 460 410 375 30 12-Φ25 925 600 1、手轮、手柄操作的法兰截止阀可安装在管道的任何位置上。
2、手轮、手柄及伟动机构,不允许作起吊用。
3、介质的流向应与阀体所示箭头方向一致。
4、法兰截止阀属于强制密封式阀门,所以在阀门关闭时,必须向阀瓣施加压力,以强制密封面不泄漏。当介质由阀瓣下方进入阀六时,操作力所需要克服的阻力,是阀杆和填料的磨擦力与由介质的压力所产生的推力,关阀门的力比开阀门的力大,所以阀杆的直径要大,否则会发生阀杆顶弯的故障。近年来,从自密封的阀门出现后,法兰截止阀的介质流向就改由阀瓣上方进入阀腔,这时在介质压力作用下,关阀门的力小,而开阀门的力大,阀杆的直径可以相应地减少。同时,在介质作用下,这种形式的阀门也较严密。我国阀门“三化给”曾规定,法兰截止阀的流向,一律采用自上而下。
5、法兰截止阀结构简单,可通过阀杆既旋转又升降的原理,达到阀门的开启或截断,并确保阀门的密封和上密封功能。由于该结构特殊的运动原理,也造成对阀门上密封副间受力极为不利的后果(形成既有密封副间必须的垂直压力,又有密封副间相对滑移的摩擦)。实践证明,阀门的上密封往往只启闭几次,就因为密封副间的擦伤而引起泄漏。擦伤轻微的需拆开修复,擦伤严重的均因损坏而报废,这样的后果不但增加了企业的制造成本,而且影响阀的性能。为解决此类问题对阀门上密封的结构和材料做了试验和改进。

法兰截止阀开启过程
1在关闭位置,法兰截止阀阀体受阀杆的机械施压作用,紧压在阀座上。
2当逆时针转动手轮时,阀杆则反向运动,其底部角形平面使球体脱开阀座。
3阀杆继续提升,并与阀杆螺旋槽内的导销相互作用,使球体开始无摩擦地旋转。
4直至到全开位置,阀杆提升到极限位置,球体旋转到全开位置。
订货须知:
一、①产品名称与型号②口径③是否带附件以便我们的为您正确选型④的使用压力⑤的使用介质的温度。
二、若已经由设计单位选定公司的型号,请按型号直接向我司销售部订购。三、当使用的场合非常重要或环境比较复杂时,请您尽量提供设计图纸和详细参数,由我们的阀门公司专家为您审核把关。如有疑问:请:我们一定会尽心尽力为您提供优质的服务。提供全面“阀门系统解决方案",也十分愿意帮助用户解决生产中所遇到的难题。
-
联系方式
- 联系人:申弘阀门
- 电 话:021-59260058
- 手 机:15901754341
- 传 真:86-021-31662735
- 邮 箱:494522509@qq.com
- 邮 编:201718
- 地 址:上海市青浦区金泽工业园区
- 网 址: https://bengye.cn.goepe.com/
http://www.021-fm.com
-
产品搜索







