-
申弘等分三通换向球阀120o
详细信息| 询价留言120º等分三通换向球阀简介
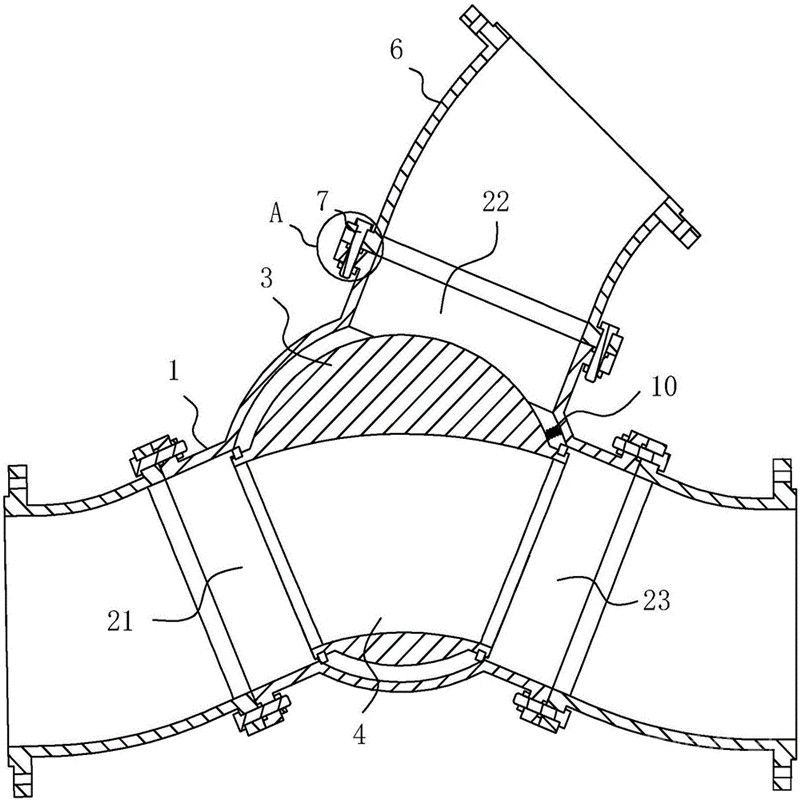
本实用新型涉及三通阀门领域,特别涉及一种三通球阀。本实用新型公开了一种Y型三通球阀,包括阀体,阀体中设有阀芯以及具有三个管口的流体通道,阀芯内设有两端开口的连接通道,阀体上的任意两个管口随着阀芯的转动实现与连接通道的导通或关闭,连接通道的任意径向截面都为与管口内径一致的圆,连接通道的两端开口径向截面的法向夹角大于90°,流体通道的三个开口处设有阀座,阀座的通孔构成管口,阀座朝向阀芯的一端与阀芯的外周面之间设有压紧块,压紧块朝向阀芯的侧面具有与阀芯外周面的弧面配合的抵接面,压紧块的另一侧与阀座之间设有内密封结构.本实用新型可以实现三种不同的流向切换,且密封结构牢固耐用使用寿命长,流体流动阻力小,便于三通管道的清理.

有相互成120°或135°的通道,阀座密封根据工况不同,可分别采用软密封、喷焊镍基合金(硬度大于HRC60)、超音速涂钨钴合金(硬度大于HRC70)及特种硬化材料等多种先进工艺,适用各种苛刻工况,软密封适用200℃以下工况,硬密封碳钢不超过425℃,不锈钢不硬密封不超过350℃。 Y型三通球阀有相互成120°和两通孔成135°,根据需要可实现对介质流向切换两种工况。

【120º等分三通换向球阀产品特点】:
1、Y型三通球阀有相互成120°和两通孔成135°,根据需要可实现对介质流向切换两种工况。
2、适用各种苛刻工况,软密封适用200℃以下工况,硬密封碳钢不超过425℃,不锈钢不硬密封不超过350℃。
3、采用软密封、喷焊镍基合金(硬度大于HRC60)、超音速涂钨钴合金(硬度大于HRC70)及特种硬化材料等多种先进工艺。

背景技术:
三通球阀广泛应用于建筑、食品、水暖卫生间、消防等领域的管路系统中,起到分流或分配的作用。三通球阀包括设有进气口和出气口的阀体、置于阀体内腔的球形阀芯、相对设置于球形阀芯两侧的阀座、置于阀体上端的阀盖、与球形阀芯相配合的阀杆和与阀杆相连接的手柄。现有技术的三通球阀一般在进气口处设置有螺纹,可通过螺纹直接与气源管路相连接,则一条气源管路只能配装一个三通球阀。而在船用消防系统中,往往要同时对多个房间进行布控,则需要设置多条气源管路,而每条气源管路均需要与之相配的三通球阀来对管路进行控制,使管路十分复杂,占据较大空间,对系统安装、维修均造成较大影响。

二、120º等分三通换向球阀主要零部件材料表
序号
零件名称
材质名称(常规配置)
Q42F/H-C
Q42F/H-P
Q42F/H-R
Q42F/H-RL
1
阀体、阀盖
WCB
304(CF8)
316(CF3)
316L(CF3M)
2
填料
PTFE、PPL、柔性石墨
3
球体
WCB+HCr
304(CF8)
316(CF3)
316L(CF3M)
4
密封圈
PTFE、PPL
5
垫片
PTFE、PPL
6
阀杆
2Cr13
304
316
316L
7
双头螺栓
35CrMoA
304
316
316L
三、主要性能规范表
公称压力
PN(MPa)试验压力PS(MPa)
壳体
高压液密封
低压液密封
1.6
2.4MPa
1.76MPa
0.6MPa
2.5
3.75MPa
2.75MPa
4.0
6.0MPa
4.4MPa
适用工况
适用介质
水、油品、气等非腐蚀介质和酸碱腐蚀介质
适用温度
-28~450℃
执行标准
设计
GB/T12237-89
结构长度
GB12221
连接法兰
JB/T79.1-79.4、GB/T9113.1-9113.4、HG20592、 ASTM B16.5
检验试验
GB/T13927、JB/T9092、API598
公称压力
PN(MPa)
公称通径
DN(mm)
尺寸(mm)
L
D
K
R
C
f
N-d
1.6
50
340
160
125
100
20
3
4-ø18
65
400
180
145
120
20
3
4-ø18
80
410
195
160
135
20
3
8-ø18
100
460
215
180
155
22
3
8-ø18
125
560
245
210
185
22
3
8-ø18
150
660
280
240
210
24
3
8-ø23
200
800
335
295
265
24
3
12-ø23
250
1030
405
355
320
30
3
12-ø25
300
1140
460
410
375
30
4
12-ø25

发明内容
本实用新型所要解决的技术问题是提供一种可以有效解决现有技术管路复杂、 占据空间大的问题、更加便于安装和维修的三通球阀。本实用新型解决上述问题所采用的技术方案为一种三通球阀,设有进气口和出气口的阀体、置于阀体内腔的球形阀芯、相对设置于球形阀芯两端的阀座、置于阀体上端的阀盖、与球形阀芯相配合的阀杆和与阀杆相连接的手柄,所述的阀体的下部设有与所述的进气口垂直设置且贯穿阀体的通孔,

请按以下指示进行安装:
(1)取掉法兰端两边的保护盖,在阀打开的状态下进行冲洗清洁。
(2)安装前应按规定的信号(电动或气动)进行整机测试(防止因运输产生振动影响使用性能),合格后方可上线安装(接线按电动执行机构线路图)。
(3)准备与管道连接前,须冲洗和清除干净管道中残存的杂质(这些物质可能会损坏阀座和球)。
(4)在安装期间,请不要用阀的执行机构部分作为起重的吊装点,以避免损坏执行机构及附件。
(5)本类阀应安装在管道的水平方向或垂直方向。
(6)安装点附近的管道不可有低垂或者承受外力的现象,可以用管道支架或者支撑物来消除管线的偏离。
(7)与管道连接后,请用规定的扭矩交叉锁紧法兰连接螺栓。

订货须知:
一、①产品名称与型号②口径③是否带附件以便我们的为您正确选型④的使用压力⑤的使用介质的温度。
二、若已经由设计单位选定公司的型号,请按型号直接向我司销售部订购。
三、当使用的场合非常重要或环境比较复杂时,请您尽量提供设计图纸和详细参数,由我们的阀门公司专家为您审核把关。如有疑问:请:我们一定会尽心尽力为您提供优质的服务。提供全面、阀门系统解决方案",也十分愿意帮助用户解决生产中所遇到的难题。 -
联系方式
- 联系人:申弘阀门
- 电 话:021-59260058
- 手 机:15901754341
- 传 真:86-021-31662735
- 邮 箱:494522509@qq.com
- 邮 编:201718
- 地 址:上海市青浦区金泽工业园区
- 网 址: https://bengye.cn.goepe.com/
http://www.021-fm.com
-
产品搜索






