-
申弘电动低温焊接式球阀DQ961F
详细信息| 询价留言DQ961F电动低温焊接式球阀 简介
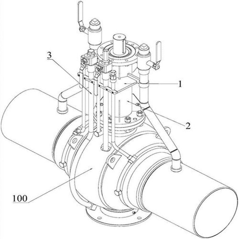
实施例不应视为对本实用新型的限制,但任何基于本实用新型的精神所作的改进,都应在本实用新型的保护范围之内。本实用新型涉及一种超低温全焊接球阀,包括阀体,球阀,阀杆,阀座及阀盖,所述阀杆外套设有保温管,所述保温管内填充有保温材料,保温管顶端与阀盖固定连接,保温管底端通过支撑座与阀座固定连接,保温管与支撑座,阀盖的接缝处采用堆焊连接.该超低温全焊接球阀由于设置了保温管,可以防止冷能损失,同时,由于在各焊缝处采用全焊接连接,避免了螺栓连接带来的松动,外漏,可以防止发生金属形变,从而大大提高了密封性能,能够在-196℃-120℃的环境中使用较长时间而不会导致密封失效,保证了阀门的有效性,使用寿命较长.

是球体绕阀体中心线作旋转来达到开启、关闭的一种阀门。球阀在管路中主要用来做切断、分配和改变介质的流动方向。开关轻便,体积小,密封可靠,结构简单,维修方便,不易被介质冲蚀,广泛的应用在水、油品、天然气、弱腐蚀性液体中。对于温度高于-50℃,一般不采用长颈结构,对于温度低于-50℃的球阀,颈部长度一般为250mm,或根据设计和计算确定。电动低温球阀主要用于输出液态低温介质如乙烯、液氧、液氢、液化天然气、液化石油产品等,不但易燃易爆,而且在升温时要气化,气化时,体积膨胀数百倍。
电动低温球阀的材料非常重要,材质不合格,会造成壳体及密封面的外漏或内漏;零部件的综合机械性能、强度和钢度满足不了使用要求甚至断裂。导致液化天然气介质泄漏引起爆炸。电动低温球阀经特殊的低温处理,将粗加工的零件置于冷却介质中数小时(2-6小时),以释放应力,确保材料的低温性能,保证精加工尺寸,以防阀门在低温工况时,因温度变化造成变形而导致的泄漏。

产品性能:
1. 由于聚四氟乙烯等材料具有良好的自润滑性,与球体的磨擦损失系数小、性能稳定、不易老化、温度适用范围广和密封性能优良的综合性特点。球阀的球体是浮动的,在介质压力作用下,球体能产生一定的位移并紧压在出口端的密封面上,保证出口端密封。阀座密封性能好,采用聚四氟乙烯等弹性材料制成的密封圈,结构易于密封,而且球阀的密封能力随着介质压力的增高而增大。
2. 我们的密封原材料采用标准PTFE、PPL;碳纤维等,产品高温压制成形、冷却,经数控车床精密加工而成。这样确保产品的密封性和耐磨性,从而大大提高产品的使用寿命,减少维护成本。

结构特点:
1、顶装式设计:在管线系统降压后,可在线检查和维修,使维护简单化。
2、滴水盘设计:在填料函上焊接一片滴水盘,这样既能防止填料函表面的冷质水进入保冷层,避免或减少保冷层的腐蚀,提高了保冷层的使用寿命,而且填料函在焊接了滴水盘后,会使得填料函与空气自然对流的换热面积大大増加,蹈氐填料处的冷量。
3、长颈阀盖设计:长颈阀盖的设计避免了填料密封处由于温度低于0℃,冷凝水在填料处结冰引起阀杆不能正常开启,造成密封失效等问题。
4、阀杆处密封:阀杆处采用低泄漏填料(通过API 622认证)、泛塞封、重密封,密封更可靠。
5、填料加载密封:填料处采用碟簧加载设计,长期密封更可靠。
6、双止推垫片设计:可以减小阀门扭矩,防止阀门长时间使用后卡涩或爬行,延长阀门的使用寿命。DQ961F电动低温焊接式球阀技术规范
设计依据 GB 设计标准 GB12237-89 结构长度 GB12221-89 连接法兰 GB/T 9113-2000 JB/T79-94 试验和检验 JB/T 9092-99 
材料及主要参数序号 零件名称 AS to ASTM SS to ASTM Type A352 LCB Type A352 LC3 Type F304(L) Type F304(L) 1-2 阀体/阀盖 Type A352 LCB Type A352 LC3 A182 F304(L) A182 F304(L) 3 等长双头螺栓 A193L7+镀镉 A193 3 B8 A193 B8 A193 B8M 4 螺母 A193L7+镀镉 A194 8 A194 8 A194 8M 5,8 密封圈、垫片 RTFE+Cu粉/尼龙1010/PPL 6 球体 A182 F304 A182 F304(L) A182 F304(L) A182 F316(L) 7 阀杆 A182 F304 A182 F304(L) A182 F304(L) A182 F316(L) 9,10 止推片、填料 RTFE+Cu粉/尼龙1010/PPL,碳素纤维 11 压盖 A105N A351 CF8 12 定位片 A182 F321 13 扁螺母 A194 4+镀镉 A194 8 A194 8 A194 8 14 手柄 A193 L7+镀镉 A193 B8 A193 B8 A193 B8 15 圆柱销 Q235A 适用温度 ≥-40°C ≥-101°C ≥-196°C 执行器类别 3610R系列执行器参数 HQ系列执行器参数 电源电压 标准:220V AC单相 可选:110V AC 单相、380/440V AC 三相、24V/110V/220V AC 输出力矩 50N·M~1500N·M 50N·M~3000N·M 动作范围 0~90° 0~90°、0°~270°可选 控制方式 开关到位灯(开关两位控制)、无源触点信号、1/5K电位计、智能调节(4~20mA模拟量信号控制) 动作时间 10秒/15秒/30秒 18S~112S 保护装置 过载保护 内置过热保护、过载保护 环境温度 -30°~60° -20℃~+70℃ 手动操作 同附带手柄操作 机械离合机构,配手轮操作 机械限位 电气、机械二重限位 2个外部调整螺栓 防护等级 IP55 IP65、IP67、可定制IP68 防爆等级 ExdⅡ BT4 ExdⅡ BT4,ExdⅡ CT6 位置测量 比例控制单元 电位计、比例控制单元 驱动电机 AC可逆电机 鼠笼式异步电机 进线接口 2-PF 1/2〞进线线锁 2个 PF 3/4" 壳体材料 钢,铝合金 钢,铝合金,铝青铜,聚碳酸脂 外涂层 干粉,环氧聚酯,具有超强防腐功能 采用独特的电制动线路,因而定位精度高,执行机构灵敏,启动停止迅速,运行平稳。同时具有抗干扰、抗浪涌电压、防击穿能力强的特点 产品型号
DQ61F-40P低温球阀
重量
(kg)
产品代号
通径
DN(mm)
尺寸(mm)
A
b
D
a
H
L
411Q15AB2A3
15
140
6
18
2
207
140
3.2
411Q20AB2A3
20
152
6
25
2.5
239
160
4.1
411Q25AB2A3
25
165
6
32
2.5
254
180
5.3
411Q32AB2A3
32
178
6
38
3
280
200
10.2
411Q40AB2A3
40
190
7
48
3.5
292
200
14.3
411Q50AB2A3
50
216
8
57
3.5
322
250
20.2
411Q65AB2A3
65
241
10
76
4
354
320
25.4
411Q80AB2A3
80
283
10
89
4
375
320
50.8
411Q100AB2A3
100
305
12
108
4
420
360
70.9
411Q125AB2A3
125
381
12
133
4.5
452
500
81.1
411Q150AB2A3
150
403
12
159
4.5
491
700
131.3
411Q200AB2A3
200
419
16
219
4.5
544
900
216.8

本实用新型提供一种一体式上装低温浮动球阀,其包括阀体、上盖、球体、阀杆,所述球体置于阀体内,且与阀杆连接,所述上盖与阀体固定连接,所述球体两侧与阀体之间均设有阀座,所述阀座与阀体接触面垂直设置,所述球体置于阀座之间,所述球体具有阀门全开时,与阀座留有间隙的*状态和在阀门全关时,与阀座之间密封配合的第二状态,本实用新型的阀座采用背面垂直的结构,并且无需提供压迫球体向下运动的力,省去了弹簧。由于球体特殊的尺寸设计,使阀门在开启过程中球面与阀座密封面逐渐脱离接触,这样就减少了密封面间的摩擦行程,提高了阀门密封的使用寿命。

在操作维护时应注意的12点事项:
1、低温球阀在关闭状态下,阀体内部依旧存在受压流体,开启时需要注意压力的变化;
2、维修前,解除管线压力并使阀门处于打开位置;断开电源或气源;将执行机构与支架脱离;
3、必须先查明低温球阀上、下游管道确已卸除压力后,才能进行拆卸分解操作;
4、分解及再装配时必须小心防止损伤零件的密封面,特别是非金属零件,取出O型圈时宜使用专用工具;
5、连接的低温球阀装配时法兰上的螺栓必须对称、逐步、均匀地拧紧;
6、焊接连接的低温球阀焊接装配时要注意对阀体进行浇水降温;
7、清洗剂应与球阀中的橡胶件、塑料件、金属件及工作介质均相容。工作介质为燃气时,可用汽油清洗金属零件。非金属零件用纯净水或酒精清洗;
8、分解下来的单个零件可以用浸洗方式清洗,尚留有未分解下来的非金属件的金属件可采用干净的细洁的浸渍有清洗剂的绸布(为避免纤维脱落粘附在零件上)擦洗,清洗时须去除一切粘附在壁面上的油脂、污垢、积胶、灰尘等;
9、低温球阀非金属零件清洗后应立即从清洗剂中取出,不得长时间浸泡;
10、清洗后需待被洗壁面清洗剂挥发后再装配,但不得长时间搁置,否则会生锈、被灰尘污染;
11、新零件在装配前也需清洗干净,并吹干后再进行组装;
12、低温球阀装配时应不允许有金属碎屑、纤维、油脂(规定使用的除外)灰尘、焊渣及其它杂质、异物等污染、粘附或停留在零件表面上或进入内腔。

订货须知:
一、①产品名称与型号②口径③是否带附件以便我们的为您正确选型④的使用压力⑤的使用介质的温度。
二、若已经由设计单位选定公司的型号,请按型号直接向我司销售部订购。
三、当使用的场合非常重要或环境比较复杂时,请您尽量提供设计图纸和详细参数,由我们的阀门公司专家为您审核把关。如有疑问:请:我们一定会尽心尽力为您提供优质的服务。提供全面、“阀门系统解决方案",也十分愿意帮助用户解决生产中所遇到的难题。 -
联系方式
- 联系人:申弘阀门
- 电 话:021-59260058
- 手 机:15901754341
- 传 真:86-021-31662735
- 邮 箱:494522509@qq.com
- 邮 编:201718
- 地 址:上海市青浦区金泽工业园区
- 网 址: https://bengye.cn.goepe.com/
http://www.021-fm.com
-
产品搜索






