-
申弘固定式衬氟球阀Q347F46
详细信息| 询价留言Q347F46固定式衬氟球阀简介
本实用新型涉及一种衬氟球阀,具体涉及一种具有密封件保护功能的衬氟球阀。现有的球阀一般包括阀体、阀杆、阀座和阀球。阀体开设有液流通道和安装通道,液流通道和安装通道相交,阀球设置在液流通道和安装通道的相交处且中心开设有直径与液流通道直径相适配的通孔,阀杆设于安装通道内且与阀球固定连接,阀座设于阀球与阀体之间且阀球可相对阀座旋转,阀体包括左端盖、阀体和右端盖三部分组成, 在安装阀门时需要三部分组合起来安装,安装麻烦,且阀门的各个组成部件与通过阀门的液体之间直接接触,容易被腐蚀,从而缩短阀门的使用寿命。

针对现有技术存在的不足,本实用新型的目的在于提供一种衬氟固定式球阀,该种阀门安装方便,耐腐蚀性强,使用寿命长。为实现上述目的,本实用新型提供了如下技术方案:包括阀体、衬氟球体、阀杆及主阀座,所述的阀体内设置有流道,所述的阀杆控制衬氟球体动作构成流道切断及联通,所述的主阀座安装于流道并与衬氟球体密封配合,所述的流道设置有与罐车联通的内联端及与外界联通的外联端,其特征在于:还包括设置于流道并位于内联端与衬氟球体之间的颗粒物料密封件及操作件,所述的颗粒物料密封件在操作件控制下相对流道具有*状态及第二状态,所述的颗粒物料密封件位于*状态时,颗粒物料自由通过颗粒物料密封件;所述的颗粒物料密封件位于第二状态时,颗粒物料密封件与流道内壁形成间距小于颗粒物料直径的流体间隙。
为实现上述目的,本实用新型提供了如下技术方案:
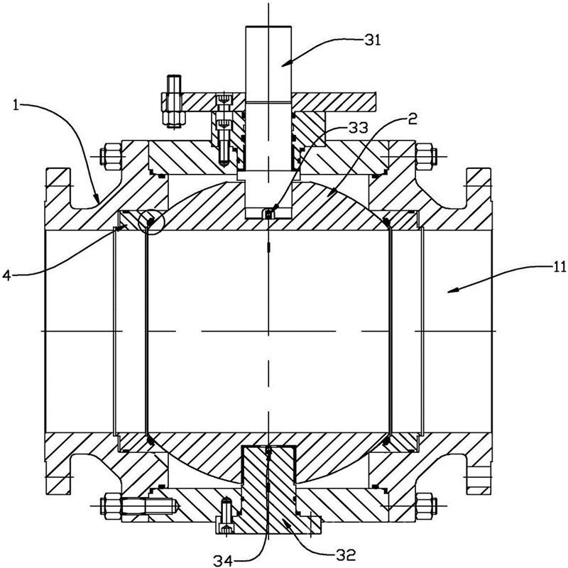
一种衬氟固定式球阀,包括阀体、阀杆、阀座以及球体,阀体开设有液流通道和安装通道,液流通道和安装通道相交,球体设置在液流通道和安装通道的相交处且中心开设有直径与液流通道直径相适配的通孔,阀杆设于安装通道内且与球体固定连接,阀座设于球体与阀体之间且球体可相对阀座旋转,所述阀体包括左阀体和右阀体,所述左阀体和右阀体通过对夹法兰连接,所述左阀体和右阀体连接后组成安装通道,所述对夹法兰的径线与阀杆轴线处于同一平面,所述左阀体内壁、右阀体内壁、球体内表面、球体外表面和阀杆外表面均衬有氟塑料层。
通过采用上述技术方案,阀体采用两段分体式的结构,对夹法兰的径线与阀杆轴线处于同一平面阀体与阀体内部的阀杆以及球体之间的同心度高,安装比较方便,将阀门与液体接触的部位都衬设氟塑料层,增强了阀门的耐腐蚀性,耐腐蚀性强,使用寿命长。
作为上述技术方案的进一步改进:所述对夹法兰相对左阀体和右阀体的两侧通过螺柱和螺母固定。
通过采用上述技术方案,侧面设置螺柱和螺母固定,安装时较为方便且阀门整体较为美观。
本实用新型进一步设置为:所述阀座为四氟密封座。
通过采用上述技术方案,增强了阀座的耐腐蚀性,且其防污、防粘性好、动静摩擦系数值极小且相近,减摩润滑性能好,将其做为阀门启、闭件的密封副,要降低密封面间磨擦力,减小阀门操作扭矩,提高阀门使用寿命。

Q347F46固定式衬氟球阀产品特点:
1、采用FEP衬里层的球阀,具有极高的化学稳定性,可以适用除“熔融碱金属和元素氟”以外其它任何强腐蚀性质。
2、采用全通径、固定球结构,阀门可在整个压力范围内进行无泄漏关闭,更便于管路系统的通球扫线和管路维护。
3、启闭件的球件与阀杆铸(锻)为一体,杜绝了由于压力变化引起阀杆冲出承压件内的可能性,从根本上保证了工程中的使用安全性。
4、结构紧凑合理,阀体内腔空间小,减小了介质滞留;另外,特殊的模压工艺,使密封面致密度良好;加之人字环形PTFE填料组合,使阀门达到零泄漏。
背景技术:
衬氟球阀是对阀体内介质所能达到的地方全部采用衬里工艺,内衬材料一般采用FEP(F46)、PCTFE(F3)、FPA等氟塑料,可以适用于各种浓度的硫酸、盐酸、氢氟酸、王水和各种有机酸、强酸、强氧化剂及其它腐蚀性颗粒、粉末等管路。
传统的衬氟球阀包括阀体、衬氟球体、阀杆及阀座,阀体内设置有流道,阀杆控制衬氟球体动作构成流道切断及联通,阀座安装于流道并与衬氟球体密封配合,当衬氟球阀安装于运输颗粒物料的罐车的进出位作为其进出的控制件时,经常会出现罐车的颗粒物料逆流至衬氟球阀处,在衬氟球体切断流道的过程中,逆流的颗粒物料会附着于衬氟球体外壁,该部分颗粒物料会在衬氟球体与阀座之间产生摩擦,造成衬氟启闭件及阀座磨损,降低密封性及使用寿命。
技术实现要素:
针对现有技术存在的不足,本实用新型的目的在于提供一种避免因颗粒物料造成衬氟启闭件及阀座损伤的具有密封件保护功能的衬氟球阀。

Q347F46固定式衬氟球阀零件材料:
阀体
WCB
ZG1Cr18Ni9Ti
CF8
CF3
ZG1Cr18Ni12Mo2Ti
CF8M
CF3M
球体 阀杆
2Cr13
1Cr18Ni9Ti
304
304L
1Cr18Ni12Mo2Ti
316
316L
阀 座
PCTEF(F3)、FEP(F46)、PFA(可溶F4)、PP、PO
垫片
聚四氟乙烯PTFE 不锈钢/柔性石墨齿形垫片
阀杆座
PCTEF(F3)、FEP(F46)、PFA(可溶F4)、PP、PO 不锈钢/柔性石墨
填料
聚四氟乙烯PTFE 增强柔性石墨
填料压盖
WCB
1Cr18Ni9Ti
304
304L
1Cr18Ni12Mo2Ti
316
316L
温度℃
-29~+150(聚四氟乙烯 PTFE); -29~+200(加玻纤增强聚四氟乙烯 PTFE+GLASS) ;-29~+300(对位聚苯 PPL)
介质
水 蒸汽 油品
硝酸类
强氧化介质
醋酸类
尿素类
压力测试:
公称压力
1.6
2.5
4.0
强度试验
2.4
3.8
6.0
水密封试验
1.8
2.8
4.4
气密封试验
0.4 ~ 0.7
Q347F46固定式衬氟球阀连接尺寸:
1.6MPa
DN
L
D
D1
D2
b
Z-φd
H0
H1
H2
凸面法兰
Q347F4616C
16P
16R
32
140
135
100
78
16
4-18
30
85
160
40
165
145
110
85
16
4-18
32
95
230
50
178
160
125
100
16
4-18
43
107
230
65
190
180
145
120
18
4-18
70
142
400
80
203
195
160
135
20
8-18
110
152
400
100
305
215
180
155
20
8-18
150
178
500
125
356
245
210
185
22
8-18
200
252
500
150
394
280
240
210
24
8-23
230
278
600
200
457
335
295
265
26
12-23
260
395
600
250
533
405
355
320
30
12-25
283
480
800
300
610
460
410
375
30
12-25
380
585
800
350
686
520
470
435
34
16-25
425
625
800
400
762
580
525
485
36
16-30
492
720
800
500
914
705
650
608
44
20-34
555
840
830
600
1067
840
770
718
48
20-41
675
1050
830
700
1245
910
940
788
50
24-41
850
1150
830

本实用新型进一步设置为:所述的颗粒物料密封件为球阀球体,所述的操作件包括球体操作手柄及球体操作轴,所述的球体操作轴与阀体转动配合,一端延伸至流道内与半球阀球体呈联动配合,另一端位于阀体外用于安装驱动其转动的球体操作手柄,所述的球体操作轴的轴线与半球阀球体的中心线呈偏心设置。

一、确认衬氟球阀产品在安装前的准备工作:
1)保证衬氟球阀安装位置管线在同轴位置上,管线上两片法兰应保持平行,确认管线能够承受球阀自身重量,如果发现管线不能承受衬氟球阀产品重量,则在安装前为管线配备相应的支撑。
2)确认管线内是否有杂质、焊渣等,必须要把管线内吹扫干净。
3)核对衬氟球阀产品铭牌,并对衬氟球阀进行全开全闭数次操作,确认阀门能够正常工作,再全面检查一次阀门的各个细节,保证阀门完好无损。
4)除去阀门两端的保护盖,检查阀体内是否干净,清洗阀体内腔,由于衬氟球阀的密封面是球形状,即使微小的杂物也可能造成密封面的损伤。
二、衬氟球阀的安装说明:
1.衬氟球阀的任何一段都可安装在上游端,手柄衬氟球阀可以安装在管线的任何位置,如果配置执行机构(如齿轮箱、电-气动执行器),则必须垂直安装,阀门进出口处在水平位置上。
2.衬氟球阀法兰与管线法兰间按管路设计要求装上密封垫。
3.法兰上的螺栓需对称、逐次、均匀拧紧。
4.如果衬氟球阀采取气动、电动等执行器时,按说明书完成气源、电源的安装。
三、衬氟球阀安装后的检查:
①安装完毕后,启动球阀开、关数次,应该动作灵活,受力均匀,球阀工作正常。
②根据管道压力设计要求,通压后检测球阀与管道法兰结合面的密封性能。

四、衬氟球阀的维修:
(1)只有卸除衬氟球阀前后的压力,才能进行拆卸分解操作。
(2)在对衬氟球阀的分解与再装配过程,需要对有密封性零部件的保护,特别是非金属零部件,像O型圈等部件使用的工具。
(3)阀体重新装配时螺栓必须对称、逐步、均匀地拧紧。
(4)清洗剂应与球阀中的橡胶件、塑料件、金属件及工作介质(例如燃气)等均相容。工作介质为燃气时,可用汽油(GB484-89)清洗金属零件。非金属零件用纯净水或酒精清洗。
(5)分解下来的单个零件可以用浸洗方式清洗。尚留有未分解下来的非金属件的金属件可采用干净的细洁的浸渍有清洗剂的绸布(为避免纤维脱落粘附在零件上)擦洗。清洗时须去除一切粘附在壁面上的油脂、污垢、积胶、灰尘等。
(6)非金属零件清洗后应立即从清洗剂中取出,不得长时间浸泡。
(7)清洗后需待被洗壁面清洗剂挥发后(可用未浸清洗剂的绸布擦)进行装配,但不得长时间搁置,否则会生锈、被灰尘污染。
(8)新零件在装配前也需清洗干净。

订货须知:
一、①产品名称与型号②口径③是否带附件以便我们的为您正确选型④的使用压力⑤的使用介质的温度。
二、若已经由设计单位选定公司的型号,请按型号直接向我司销售部订购。
三、当使用的场合非常重要或环境比较复杂时,请您尽量提供设计图纸和详细参数,由我们的阀门公司专家为您审核把关。如有疑问:请:我们一定会尽心尽力为您提供优质的服务。提供全面、阀门系统解决方案",也十分愿意帮助用户解决生产中所遇到的难题。 -
联系方式
- 联系人:申弘阀门
- 电 话:021-59260058
- 手 机:15901754341
- 传 真:86-021-31662735
- 邮 箱:494522509@qq.com
- 邮 编:201718
- 地 址:上海市青浦区金泽工业园区
- 网 址: https://bengye.cn.goepe.com/
http://www.021-fm.com
-
产品搜索




