-
申弘气动调节V型陶瓷球阀VQ647TC
详细信息| 询价留言VQ647TC气动调节V型陶瓷球阀简介
本发明涉及到根据现场工况需求专门设计新技术方案而生产的一种高压陶瓷球阀,在一些气化灰水、除灰脱硫、高压系统及工况比较特殊的环境中使用的较为广泛,其结构由金属阀体、金属阀盖、合金阀杆、结构陶瓷阀球、结构陶瓷阀座、全氟高弹密封垫及O型圈、石墨材质的阀杆填料、金属压盖、执行器等等部分组成,整台阀门的零部件均是按非标生产而成,且经过特殊处理,由多道加工工艺生产并装配在一起,使其在使用过程中减少磨损、冲刷,具有很高的强度、硬度,很好的耐高压、耐高温、耐腐蚀性,在一些高温、高压场合中有很好的密封性,*解决了世界性难题,特别是在高压、高温、强腐蚀、高磨损等系统中的应用更为广泛,大大降低停机次数,提高整个生产系统的工作效率。

背景技术:
:一种采用新技术方案生产的高压陶瓷球阀,有很高的耐压性,很好的强度、硬度,具有耐高温、耐冲刷、耐腐蚀,使用寿命长等优点;目前公知的球阀,其各个零部件尺寸均是按照国标、行标生产并装配在一起,其结构是由金属阀体、阀盖、阀体,金属阀球或陶瓷阀球,金属或金属球阀易腐蚀、易磨损、易堵塞,使用寿命短,需频繁更换;而陶瓷球阀在一般的工况下可以满足使用,但在一些高压系统中往往满足不了工况需求,使用寿命短,影响生产,大大降低其生产效率

优点
1、采用氧化锆制作阀门的密封部件和易损部件,*地提高了阀门产品的耐磨性、耐腐蚀性,大大延长了阀门的使用寿命,其寿命是钛合金和蒙乃尔阀的2~4倍。所有与介质接触的部分均为结构陶瓷,其化学性能及硬度极高(洛氏硬度HRC87),仅次于金刚石,具有极高的耐磨损、耐腐蚀、耐冲蚀性能,且隔热性能好、热膨胀小。
2、氧化锆陶瓷阀门的使用可以大大降低阀门的维修更换次数,提高配套设备运行系统的安全性、稳定性,减轻工人的劳动强度,节约设备修理费用,并且避免停产检修阀门所造成的生产损失。
3、氧化锆陶瓷阀门的球体采用先进研磨设备及工艺制造,球圆度精度高,表面质量好。与阀座对研后,利用ZrO2陶瓷的自滑润性,可取得极好的密封性能。彻底改变了金属硬密封球阀易泄露、扭矩大、密封面不耐腐蚀的缺点。提高了工业管路系统的密封性,同时能*大限度的杜绝泄露,保障安全生产和保护环境。
发明内容
为了解决高压系统中球阀的不足,本发明提供一种根据现场工况需求专门设计新技术方案生产的高压陶瓷球阀,具有很高的抗压性,耐高温、耐磨损、耐腐蚀,使用寿命长,具有很好综合性能,大大降低此类备品件的费用,提高整个系统生产效率。

权利要求
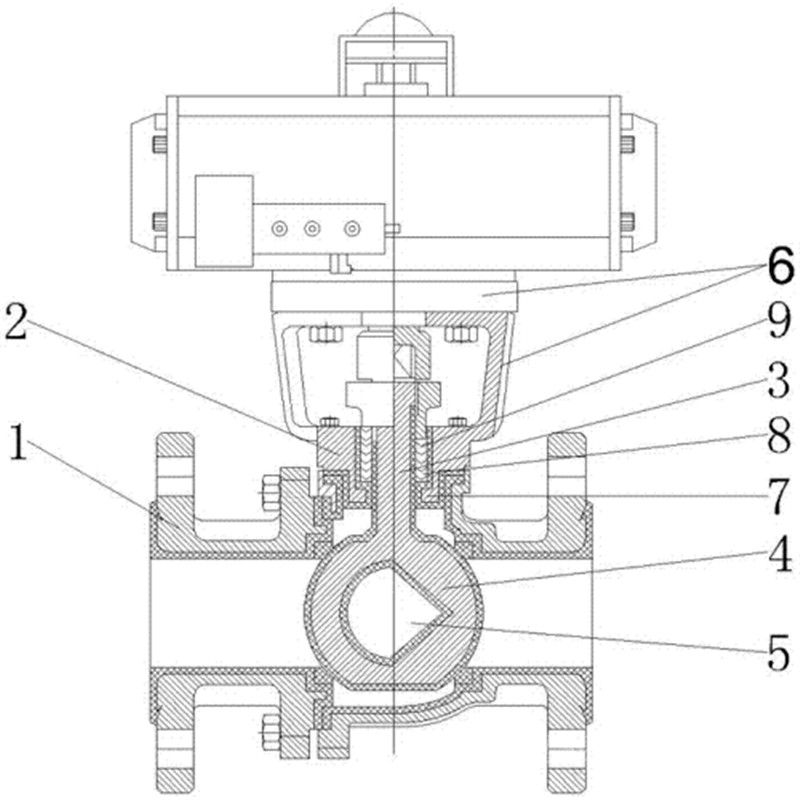
1.一种根据现场工况需求专门设计新技术方案生产的一种高压陶瓷球阀,其特征在于:结构由阀体、阀盖、阀球、阀座、密封垫片、O型圈、阀杆填料、压盖、阀杆、执行器等部分组成,其中阀体、阀盖、压盖采用金属材质,阀球、阀座采用工业陶瓷材质,密封垫及O型圈采用均采用全氟高弹体材质。
2.根据权利要求1所述的一种高压陶瓷球阀,其特征是:整台阀门各个零部件进行相应的压力等级实验,并对它们的尺寸进行严格及详细的设计,采用加厚、加大的阀体、阀盖及压盖,加强型阀球,特殊的阀座设计,弹性好的密封垫片及O型圈。
3.根据权利要求1所述的一种高压陶瓷球阀,其特征是:陶瓷阀球与陶瓷阀座之间是硬密封配合,确保了 阀门工作时的密封性。

全文摘要
本发明涉及一种根据现场工况需求专门设计新技术方案而生产的一种高压陶瓷球阀,在一些气化灰水、除灰脱硫、高压系统及工况比较特殊的环境中使用较为广泛,其结构是由金属阀体、金属阀盖、合金阀杆、结构陶瓷阀球、结构陶瓷阀座、全氟高弹密封垫及O型圈、石墨材质的阀杆填料、金属压盖、执行器等部分组成,整台阀门的零部件均是按非标生产而成,进行相应的压力等级实验,尺寸进行严格及详细的设计,且经过特殊处理,由多道加工工艺生产并装配在一起,使其在使用过程中减少磨损、冲刷,具有很高的强度、硬度,很好的耐高压、耐高温、耐腐蚀性,在一些高温、高压场合中有很好的密封性,*解决了世界性难题,特别是在高压、高温、强腐蚀、高磨损等系统中的应用更为广泛。

主要性能指标
公称通径 DN(mm) 15 20 25 32 40 50 65 80 100 125 150 200 250 300 额定流量系数KV 21 38 72 112 170 273 384 512 940 1452 2222 3589 5128 7359 允许压差(MPa) ≤ 公称压力 动作范围 0~90° 泄露量Q 软密封为零泄露;金属密封符合ANSI B16.104 IV级标准 基本误差 带定位器:小于全行程的±2% 回差 带定位器:小于全行程的2% 主要性能规范
试验压力(MPa) 公称压力(MPa) 压力级(class) JIS(K) 1.6 2.5 4.0 6.4 10.0 150 300 600 10K 20K 强度试验 2.4 3.75 6.0 9.6 15.0 3.0 7.5 16.5 2.4 3.8 密封试验 1.76 2.75 4.4 7.04 11.0 2.2 5.5 12.1 1.5 2.8 气密试验 0.5~0.7MPa 执行机构
执行器型号 GT、SR、ST、AT、AW系列单双作用气动执行器 供气压力 0.4~0.7MPa 气源接口 G1/4"、G1/8"、G3/8"、G1/2" 环境温度 -30~+70℃ 作用形式 单作用执行机构:气关式(B)--失气时阀位开(FO);气开式(K)--失气时阀位关(FC)
双作用执行机构:气关式(B)--失气时阀位保持(FL);气开式(K)-- 失气时阀位保持(FL)可配附件 定位器、电磁阀、空气过滤减压器、保位阀、行程开关、阀位传送器、手轮机构等 设计制造标准规范
设计依据 GB API 设计与制造标准 JB/T10529-2005,GB/T12237-2007 API608-2012 结构长度设计标准 GB/T12221-2005 ASME B16.10-2009 连接端设计标准 GB/T9113-2010 ASME B16.5-2013 驱动装置连接设计标准 GB/T12223-2005 BS EN ISO 5211-2001 主体材料设计标准 GB/T12228-2006,NB/T47010-2010 ASTM A105/A105M-2014,ASTM A182/A182M-2015 检验与试验标准 JB/T 9092-1999 API 598-2009 材料选型表
序号 名称 材质 1 阀体 A105、WCB、SS304、SS316、CF8、CF8M、CF3、CF3M 2 阀芯 氧化锆(3Y-ZrO2)、氧化铝(AI2O3) 3 阀杆/轴套/填料压套 17-4PH、316L、合金材料 4 密封部件 VMQ、FKM、PTFE 5 填料 PTFE、RPTFE、石墨 6 压板/支架 CF8、WCB 7 螺栓/垫圈 A193-B7/A194-2H/SS304 
主要材质表1 阀体 SS304 2 支架 CF8 3 填料压套 CF8 4 球体 陶瓷 5 阀座 陶瓷 6 中体 陶瓷 7 接管 陶瓷 8 阀杆 17-4PH 9 密封填料 PTFE 10 O型圈 硅胶 外形结构图
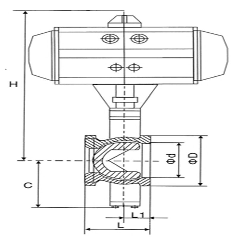
外形连接尺寸
GB/T9113.1-2000 PN1.6MPA RFDN H L ØD ØK ØG T F Z 15 85 108 95 65 45 14 2 4-M12 20 94 117 105 75 55 16 2 4-M12 25 98 127 115 85 65 16 2 4-M12 32 112 140 140 100 76 18 2 4-M16 40 124 165 150 110 84 18 2 4-M16 50 135 178 165 125 99 20 2 4-M16 65 156 190 185 145 118 20 2 4-M16 80 177 203 200 160 132 20 2 8-M16 100 207 229 220 180 156 22 2 8-M16 125 240 356 250 210 184 22 2 8-M16 150 240 394 285 240 211 24 2 8-M16 200 280 457 340 295 266 24 2 12-M20 250 - 533 405 355 319 30 2 12-M24 300 - 610 460 410 370 30 2 12-M24 
本发明解决其技术问题所采用的技术方案是:针对在一些气化灰水、除灰脱硫、高压高温等系统需要使用球阀的工况下,高压陶瓷球阀是一种根据现场工况需求专门设计新技术方案生产,整台阀门各个零部件进行相应的压力等级实验,并对它们的尺寸进行严格及详细的设计,采用角行程气动执行器及球阀组成。是在引进国外先进技术的基础上进行特殊设计、精心制造的产品。气动调节球阀采用智能控制与定位,与电气阀门定位器配套,输入4~20mADC信号及0.4~0.7MPa气源即可控制运转,实现对压力、流量、温度、液位等参数的调节。气动调节球阀是以压缩空气为动力,阀杆带动阀芯在阀体内转动90°可以实现全开—全闭的动作。
一、确认气动球阀在安装前的准备工作
1、保证气动球阀安装位置管线在同轴位置上,管线上两片法兰应保持平行,确认管线能够承受球阀自身重量,如果发现管线不能承受球阀重量,则在安装前为管线配备相应的支撑。
2、确认管线内是否有杂质、焊渣等,必须要把管线内吹扫干净。
3、核对气动球阀铭牌,并对气动球阀进行全开全闭数次操作,确认阀门能够正常工作,再全面检查一次阀门的各个细节,保证阀门完好无损。
4、除去气动阀门两端的保护盖,检查阀体内是否干净,清洗阀体内腔,由于气动球阀的密封面是球形状,即使微小的杂物也可能造成密封面的损伤。

二、气动球阀的安装
1、气动球阀的任何一段都可安装在上游端,手柄球阀可以安装在管线的任何位置,如果配置执行机构(如齿轮箱、电-气动执行器)的球阀,则必须垂直安装,阀门进出口处在水平位置上。
2、气动球阀法兰与管线法兰间按管路设计要求装上密封垫。
3、法兰上的螺栓需对称、逐次、均匀拧紧。
4、如果球阀采取气动、电动等执行器时,按说明书完成气源、电源的安装。

订货须知:
一、①产品名称与型号②口径③是否带附件以便我们的为您正确选型④的使用压力⑤的使用介质的温度。
二、若已经由设计单位选定公司的型号,请按型号直接向我司销售部订购。
三、当使用的场合非常重要或环境比较复杂时,请您尽量提供设计图纸和详细参数,由我们的阀门公司专家为您审核把关。如有疑问:请:我们一定会尽心尽力为您提供优质的服务。提供全面、“阀门系统解决方案",也十分愿意帮助用户解决生产中所遇到的难题。 -
联系方式
- 联系人:申弘阀门
- 电 话:021-59260058
- 手 机:15901754341
- 传 真:86-021-31662735
- 邮 箱:494522509@qq.com
- 邮 编:201718
- 地 址:上海市青浦区金泽工业园区
- 网 址: https://bengye.cn.goepe.com/
http://www.021-fm.com
-
产品搜索






