-
申弘陶瓷V型球阀VQ40TC
详细信息| 询价留言VQ40TC陶瓷V型球阀简介
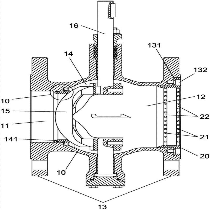
本实用新型的技术方案是:一种高压浮动式硬密封耐磨球阀,包括阀体、阀盖、球体、阀杆、填料函和填料压盖,所述的填料函与阀体相固接,所述的阀盖与阀体配合形成介质通道,所述的球体设于介质通道内,所述的填料函设于阀体和阀盖的上方,所述的阀杆依次穿过填料压盖、填料函、阀体与球体联动连接,所述的球体与阀体的内壁之间设有间隙,所述阀体上设有台阶,所述的台阶上设有阀座组件,所述的阀座组件包括与球体相密封的金属阀座,所述的金属阀座与台阶之间设有压环、密封件和弹簧,所述的弹簧通过压环与金属阀座相抵。

性能特点:
1、与介质接触的部分均为结构陶瓷材料,其化学稳定性及硬度高。因此,本阀具有耐磨损、耐腐蚀、耐冲蚀性能,且隔热性好、热膨胀小。
2、球体采用研磨设备及工艺,球圆度高,与阀座对研后,利用Zr02陶瓷的自滑润性,可取得好的密封性能。
3、改变了金属硬密封球阀泄露、扭矩大、密封面不耐腐蚀的缺点。
4、陶瓷良好的耐磨性,让本阀使用长。
5、用于高硬度的颗粒介质,或有软颗粒但又有腐蚀的介质中。

作为本实用新型的一种改进,所述的压环为L型,所述L型压环的横向部通过密封件与金属阀座相抵。本实用新型涉及一种碳化硅球阀。阀门是工业生产管道系统必不可少的重要运行设备,但是至今仍在广泛使用的金属阀门存在着耐腐蚀差,强硬度低,高温易变形,造成密封泄漏,不耐冲刷易磨损,使用寿命短等缺陷。
作为本实用新型的进一步改进,所述的弹簧上设有弹簧垫片,所述的弹簧为蝶形弹費。
作为本实用新型的进一步改进,所述的密封件为石墨密封件。
作为本实用新型的进一步改进,所述的阀体上设有挡肩,所述的阀杆与阀体内壁之间设有轴承,所述的轴承设于挡肩上。
作为本实用新型的进一步改进,所述的阀杆上设有限位部,所述的填料函上设有插入阀体内的按压部,所述的按压部通过止推垫片与阀杆上的限位部相抵。
作为本实用新型的进一步改进,所述的填料压盖上设有与填料压盖限位配合的限位板。

本实用新型的有益效果是,金属阀座使得阀座与球体密封为硬密封,工作中不容易磨损,使用寿命长,而且阀座与球体的密封面即使有磨损,压环、密封件和弹簧的设置使得弹簧仍能顶压金属阀座,使得阀座与球体可靠密封。本实用新型还具有结构简单、装配方便、使用寿命长、密封可靠等优点。
本实用新型的目的在于提供一种结构合理,使用寿命长的碳化硅陶瓷球阀。
本实用新型的技术方案如下它主要由阀杆,阀体及阀球三部分构成,阀体分为中段阀体和左、右阀体,其特征在于在阀杆的下端套有一陶瓷轴套,陶瓷轴套的下方与陶瓷阀球连接,陶瓷阀球的下方装有陶瓷支承轴,在陶瓷阀球的两端设有左、右阀体,陶瓷阀球位于中段阀体内腔,在左右阀体内分别套有T型左右陶瓷外衬套和T形左右陶瓷内衬套,在内衬套内套有阀座,在阀座与外衬套间设有碟形弹簧。
本实用新型对阀门结构和加工工艺提出创新设计,把碳化硅陶瓷材料应用在工业阀门上作密封件和防腐衬里材料。本实用新型产品可广泛应用于各类腐蚀性气体、液体、硬颗粒等介质的管道系统,具有耐腐蚀、耐高温、耐磨损、耐冲刷等优良特性,其密封件寿命达部颁标准六倍以上。

VQ40TC陶瓷V型球阀设计制造标准规范
设计依据 GB API 设计与制造标准 JB/T10529-2005,GB/T12237-2007 API608-2012 结构长度设计标准 GB/T12221-2005 ASME B16.10-2009 连接端设计标准 GB/T9113-2010 ASME B16.5-2013 驱动装置连接设计标准 GB/T12223-2005 BS EN ISO 5211-2001 主体材料设计标准 GB/T12228-2006,NB/T47010-2010 ASTM A105/A105M-2014,ASTM A182/A182M-2015 检验与试验标准 JB/T 9092-1999 API 598-2009 材料选型表
序号 名称 材质 1 阀体 A105、WCB、SS304、SS316、CF8、CF8M、CF3、CF3M 2 阀芯 氧化锆(3Y-ZrO2)、氧化铝(AI2O3) 3 阀杆/轴套/填料压套 17-4PH、316L、合金材料 4 密封部件 VMQ、FKM、PTFE 5 填料 PTFE、RPTFE、石墨 6 压板/支架 CF8、WCB 7 螺栓/垫圈 A193-B7/A194-2H/SS304 
主要材质表1 阀体 SS304 2 支架 CF8 3 填料压套 CF8 4 球体 陶瓷 5 阀座 陶瓷 6 中体 陶瓷 7 接管 陶瓷 8 阀杆 17-4PH 9 密封填料 PTFE 10 O型圈 硅胶 外形结构图
VQ40TC陶瓷V型球阀外形连接尺寸
GB/T9113.1-2000 PN1.6MPA RFDN H L ØD ØK ØG T F Z 15 85 108 95 65 45 14 2 4-M12 20 94 117 105 75 55 16 2 4-M12 25 98 127 115 85 65 16 2 4-M12 32 112 140 140 100 76 18 2 4-M16 40 124 165 150 110 84 18 2 4-M16 50 135 178 165 125 99 20 2 4-M16 65 156 190 185 145 118 20 2 4-M16 80 177 203 200 160 132 20 2 8-M16 100 207 229 220 180 156 22 2 8-M16 125 240 356 250 210 184 22 2 8-M16 150 240 394 285 240 211 24 2 8-M16 200 280 457 340 295 266 24 2 12-M20 250 - 533 405 355 319 30 2 12-M24 300 - 610 460 410 370 30 2 12-M24 
摘要一种碳化硅陶瓷球阀,其主要特征是在阀杆的下端套有一陶瓷轴套,陶瓷轴套的下方与陶瓷阀球连接,陶瓷阀球的下方装有陶瓷支承轴,阀体内套有陶瓷外衬套和陶瓷内衬套。本实用新型对阀门结构和加工工艺提出创新设计,把碳化硅陶瓷材料应用于工业阀门上作密封件和防腐衬里材料,本品可广泛应用于各类腐蚀性气体、液体、硬颗粒等介质的管道系统,具有耐腐蚀、耐高温、耐磨损、耐冲刷等优良特性,其密封件寿命达部颁标准六倍以上。

VQ40TC陶瓷V型球阀产品说明
1.手动陶瓷球阀采用高技术新型陶瓷结构材料制作阀门的密封部件和易损部件,提高了阀门产品的耐磨性、防腐性及密封性,大大延长了阀门的使用寿命。
2.手动陶瓷球阀的使用可以大大降低阀门的维修更换次数,提高配套设备运行系统的安全性、稳定性,节约设备修理费用。
3.手动陶瓷球阀的使用能提高工业管路系统的密封性,能大限度的减小泄露,从而保护环境。
4.制造陶瓷的原料广泛,成本低廉,用铝、碳、硅等普通元素就能制造出性能优越的陶瓷材料,可以节约大量金属材料和稀有的矿产资源。
耐磨陶瓷阀门主要应用于电力、石油、化工、冶金、采矿、污水处理等工业领域,尤其是面对高磨损、强腐蚀、高温、高压等恶劣工况,陶瓷阀更显示出它卓越的性能。陶瓷阀门能满足高磨损、强腐蚀的使用环境,尤其突出的特点是超长的使用寿命,陶瓷阀门的性能价格比远远优于其它同类金属阀门。

订货须知:
一、①产品名称与型号②口径③是否带附件以便我们的为您正确选型④的使用压力⑤的使用介质的温度。
二、若已经由设计单位选定公司的型号,请按型号直接向我司销售部订购。
三、当使用的场合非常重要或环境比较复杂时,请您尽量提供设计图纸和详细参数,由我们的阀门公司专家为您审核把关。如有疑问:请:我们一定会尽心尽力为您提供优质的服务。提供全面、*的“阀门系统解决方案",也十分愿意帮助用户解决生产中所遇到的难题。 -
联系方式
- 联系人:申弘阀门
- 电 话:021-59260058
- 手 机:15901754341
- 传 真:86-021-31662735
- 邮 箱:494522509@qq.com
- 邮 编:201718
- 地 址:上海市青浦区金泽工业园区
- 网 址: https://bengye.cn.goepe.com/
http://www.021-fm.com
-
产品搜索






