-
申弘不锈钢偏心半球阀SUS304
详细信息| 询价留言SUS304不锈钢偏心半球阀简介
与现有技术相比,本实用新型的有益效果如下:新型多偏心半球阀包括圆柱形筒 体状的阀体和设在阀体一端的阀座,阀座上设有压紧圈,设置压紧圈使得阀座与阀芯配合 紧密;阀芯具有1个偏心球面,偏心球面的截面形心与阀芯的轴向力作用点之间的连线与阀 轴的中心线形成的夹角为,阀芯形成一个多偏心几何体,与现有的双偏心半球阀相比增 加了 一个偏心值,使得阀芯开启关闭更加迅速,阀芯与阀座的摩擦面减小,阀芯相对阀座环 形密封面存在迅速脱离和瞬时挤压的作用,降低了启闭时阀芯与阀座之间的机械磨损和擦 伤,延长设备的使用寿命;阀体上还设有半轴,半轴与阀芯滑动连接,减少对阀芯的摩擦,保 证阀芯启闭顺畅。
利用偏心阀体,偏心球体和阀座,阀杆作旋转运动时在共同轨迹自动定心,关闭过程中越关越紧,完全达到良好的密封目的。阀门的球体和阀座完全脱离,消除了密封圈的磨损,克服了传统球体阀座与球体密封面始终磨损的问题,非金属弹性材料被嵌入金属座中,阀座金属面受到良好的保护。本产品特别适用于钢铁业,铝业,纤维,微小固体颗粒,纸浆,煤灰,石油气等介质.

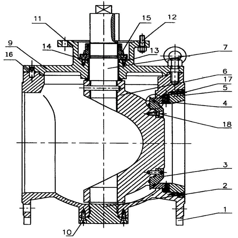
SUS304不锈钢偏心半球阀产品特点
1、其结构采用偏心契紧原理通过传动机构达到闸紧、调节、关闭的目的,密封副是金属面环带硬面接触密封,双偏心结构在开启时阀芯位于藏球室内,流通截面大,且阀门不被冲刷,关闭时阀芯不被冲刷,开启时阀芯球面沿阀座渐进,有效地切除结垢障碍,实现可靠密封。它对两相混流易结垢固体析出的混流输送特别有效 偏心半球阀
2、阀门的半球用双金属,母材上堆焊不同的合金,阀座也作相应堆焊经特殊的处理,密封面组合成防腐、耐磨、高强度等各种类型,满足不同场合需求
3、密封严密、输送有害气体可达零泄露
4、密封副的阀芯留有补偿量、当阀做磨损后,关闭时再转动少许,任能可靠密封,延长了使用寿命。此外,用户将压紧螺母拧掉,调整或更换后阀座仍可用,避免了阀门密封失效后,整台报废的弊端 因堆焊不同合金(或组合球)双金属密封副的选配可以用于耐磨、耐腐蚀、耐高温且要求严格密封的工况

SUS304不锈钢偏心半球阀
1、通用阀:规格型号DN40-1600。适用于污水处理、纸浆、城市采暖供热等要求严紧的场合
2、油化工专用阀:规格DN40-1600。适用于原油、重油等各类油品、化工行业弱腐蚀、二相混流介质
3、煤气专用阀:规格DN40-1600。适用于煤气、天然气、液化气的输送控制
4、料浆专用阀:规格DN40-1600。适用于液态、固态两相混流或液态输送中化学反应有结晶析出或结垢的工业管道输送
5、煤粉灰渣专用阀:规格DN40-1600。适用于电厂、水力除渣或气态输送管道的控制
本发明公开一种高抗硫硬密封偏心球阀,包括一球体、阀座、阀盖、阀杆、阀体,其中阀杆的轴线与球体的通道轴线之间有一水平方向偏移距离e,阀座的轴线与阀盖的轴线(即流体通道轴线)之间也有一水平方向偏移距离e,阀杆轴线与阀座轴线在同一平面内,与阀盖轴线平行;球体的通道轴线与流体通道轴线以球体中心为旋转中心,偏转角度@。球体上还开设有应变槽。本发明通过双偏心设计,使球面与阀座密封面产生密封预紧力而进行密封,并且可使球面与阀座密封快速脱离,减少磨擦,密封性能良好,耐用度高;同时应变槽的设计,避免在高温环境下,球体能适应微变形,进一步保证阀门的密封性,并保证阀门的开关性能,减少维修,适用于油、气井等腐蚀、高温环境。
硬密封球阀被越来越多应用于油井、海洋平台、石化、蒸汽、纸浆、冶金、选矿、电力、煤化工、制粉等生产系统中,介质中多含有粘结性的固体颗粒、含硫磷氯离子等腐蚀性介质,使用一段时间后,容易出现因磨擦、腐蚀、高温冲刷、频繁开关等原因而出现泄漏、卡阻、开关不到位等故障情况,造成系统停工检修,影响正常的生产运行。目前的硬密封球阀类型中有偏心球阀,但不足以解决一些根本矛盾。
现有常见的硬密封偏心球阀,其结构主要由阀体、阀杆、球体、阀座、密封装置等组成,其球形阀芯大多是一个完整的球形表面,密封用阀座紧压在球面上,形成双面密封副。该类球阀的缺点是:阀芯是球形的,阀芯与阀座的密封是靠阀座压向阀芯球面的预紧力时刻压牢的,无论开启或关闭时都保持密封压紧状态;这样,使得球阀开启或关闭沉重,磨损较快,密封装置发生磨损后就会关闭不严,结果密封性很快遭到破坏,球阀的使用寿命缩短且使用时易发生故障。

【SUS304不锈钢偏心半球阀发明内容】
本发明着力于解决现有硬密封球阀易磨损、易腐蚀、使用寿命不长、高温应变能力差之不足,提供一种双偏心带补偿的高抗硫硬密封偏心球阀,其能够适应高温环境,耐腐蚀、耐磨损、适应密封工况,操作扭矩轻。
本发明解决以上技术问题所采用的技术方案如下:一种高抗硫硬密封偏心球阀,包括一球体,置于阀体中,在球体通道两侧各接一套阀座与阀盖的组合件,在垂直于通道方向的球体的两侧,各自外接阀杆和底盖;
进一步讲,所述球体上开设有应变槽,应变槽是以穿过球体通道中心的垂直平面为对称面,由阀杆插入侧向球体内开设,一直与球体通道相通为止。
进一步讲,所述球体具有双侧对称平面,在双侧对称平面上各自外接一套阀座和阀盖的组合件,阀座连接球体,阀盖连接阀座。
进一步讲,所述阀杆穿过接盘和填料箱,安装在球体上;所述底盖穿过阀体连接球体。

与已有技术相比,本发明显著的有益效果体现在:
1.本发明设计的阀密封性强,通过采取轴线间的平行线性偏移设计和轴线间的旋转偏移设计,两种偏移相结合,增强硬密封性。
2.在球体上设计应变槽,高温、高压环境下应变能力强,当遇高温时或高压时,应变槽能化解高温或高压产生的微变形,即受挤压时收缩各受力消失后复位,避免阀门卡死/胀死或过分磨擦,使管道系统能正常运行,并提高阀门使用性能和使用寿命。本发明的其他特征和优点将在随后的说明书中阐述,并且部分的从说明书中变得显而易见,或者通过实施本发明而了解。

SUS304不锈钢偏心半球阀主要零部件材料表
序号
零件名称
材料名称
1
阀体/阀盖
ZG1Cr18Ni9Ti
ZG0Cr18Ni12Mo2Ti
2
球体
1Cr18Ni9Ti表面特殊处理
0Cr18Ni12Mo2Ti表面特殊处理
3
阀杆
1Cr18Ni9Ti
0Cr18Ni12Mo2Ti
4
阀座
1Cr18Ni9Ti/PTFE
0Cr18Ni12Mo2Ti/PTFE
5
填料
柔性石墨
柔性石墨
6
螺栓
0Cr18Ni9
0Cr18Ni9
7
螺母
0Cr18Ni9
0Cr18Ni9
三、不锈钢偏心半球阀主要性能规范表
公称压力PN(Mpa)
0.6
1.0
1.6
2.5
4.0
6.4
常温*大工作压力(Mpa)
0.6
1.0
1.6
2.5
4.0
6.4
壳体强度试验压力(Mpa)
1.0
1.5
2.4
3.8
6.0
9.6
气密封试验压力(Mpa)
0.6
0.6
0.6
0.6
0.6
0.6
高压密封试验压力(Mpa)
0.7
1.1
1.76
2.75
4.4
7.1
渗漏率
<0.1×DNmm³/s (符合GB/T13927-2008标准)
适用温度(℃)
软密封:-46℃~280℃;硬密封:-46℃~545℃
适用介质
天然气、水蒸气、油品类、酸碱类、煤粉煤灰、废渣、泥浆、含颗粒状、含纤维等介质。
传动形式
蜗轮传动
公称压力
PN(MPa)公称通径
DN(mm)
主要尺寸(mm)
L
D
D1
D2
b
f
Z-φd
0.6-1.6
-
参考偏心半球阀尺寸表或咨询我厂销售人员
2.5
40
125
145
110
85
18
3
4-18
50
140
160
125
100
20
3
4-18
65
190
180
145
120
22
3
8-18
80
178
195
160
135
22
3
8-18
100
200
230
190
160
24
3
8-23
125
254
270
220
188
28
3
8-25
150
267
300
250
218
30
3
8-25
200
292
360
310
278
34
3
12-25
250
330
425
370
332
36
3
12-30
300
390
485
430
390
40
4
16-30
350
430
550
490
448
44
4
16-34
400
530
610
550
505
48
4
16-34
450
660
600
555
-
20-34
-
-
500
630
730
660
610
52
4
20-41
600
800
840
770
718
56
5
20-41
700
900
955
875
815
60
5
24-48
800
1000
1070
990
930
64
5
24-48
4.0
40
125
145
110
85
18
3
4-18
50
140
160
125
100
20
3
4-18
65
190
180
145
120
22
3
8-18
80
178
195
160
135
22
3
8-18
100
200
230
190
160
24
3
8-23
125
254
270
220
188
28
3
8-25
150
267
300
250
218
30
3
8-25
200
292
375
320
282
38
3
12-30
250
330
445
385
345
42
3
12-34
300
390
510
450
408
46
4
16-34
350
430
570
510
465
52
4
16-34
400
530
655
585
535
58
4
16-41
450
580
680
610
560
60
4
20-41
500
630
755
670
612
62
4
20-48
600
800
890
795
730
62
5
20-54
700
900
995
900
835
68
5
24-54
800
1000
1135
1030
960
76
5
24-58

下面结合附图和实施例对本发明进行详细的描述,其中,附图构成本申请一部分,并与本发明的实施例一起用于阐释本发明。但本领域的技术人员应该知道,以下实施例并不是对本发明技术方案作的唯一限定,凡是在本发明技术方案精神实质下所做的任何等同变换或改动,均应视为属于本发明的保护范围。
*偏心与第二偏心同时存在,米用此两个偏心,使阀门关闭时球与阀座受挤压密封,实现良好密封;打开时球与阀座迅速脱离,可使球体与阀座之间的摩擦力降到*低,使得阀门使用寿命延长。如果是普通无偏心球阀,怎么转它的压紧力是固定的,正是有了阀杆转动中心与球体中心的偏移,使球体产生位移而对阀座有强制的压力。
偏心半球阀可装于任何位置,但须注意检修和操作方便。 安装前,必须仔细核对阀门标志和铭牌是否与工况要求相符。 安装本阀应清洗内腔和密封面,检查密封面、螺栓连接、填料压紧、阀杆旋转是否自如等情况。 手柄及传动机构不允许作起吊用。 安装时,应均匀对称拧紧连接螺栓。 安装后,阀门须全开进行管道吹扫和系统压力试验。

SUS304不锈钢偏心半球阀使用
偏心半球阀使用工况必须与铭牌和使用说明书的规定相符。 本阀使用时,可以允许轻微用来作调节流量。 开启阀门时,以开、关指示针作为全开标志,即开不动的位置作为它的全开或全关位置。 本阀靠旋转手轮使球启闭。 偏心半球阀是一种比较新型的球阀类别,它有着自身结构所*的一些优越性,如开关无摩擦,密封不易磨损,启闭力矩小。这样可减小所配执行器的规格。配以多回转电动执行机构,可实现对介质的调节和严密切断。广泛适用于石油、化工、城市给排水等要求严格切断的工况。
在安装前的准备有:
1、球阀前后管线已准备好。前后管道应同轴,两法兰密封面应平行。管道应能承受球阀的重量,否则管道上必须配有适当的支撑。
2、把阀前后管线吹扫干净,清除掉管道内的油污、焊渣和一切其它杂质。
3、核对球阀的标志,查明球阀完好无损。将阀全开全闭数次证实其工作正常。
4、拆去球阀两端连接法兰上的保护件。
5、检查阀孔清除可能有的污物,然后清洗阀孔。阀座与球之间即使仅有微小颗粒的异物也可能会损伤阀座密封面。

在安装时要注意:
1、把阀装上管线。阀的任何一端都可装在上游端。用手柄驱动的阀可安装在管道上的任意位置。但带有齿轮箱或气动驱动器的球阀应直立安装,即安装在水平管道上,且驱动装置处于管道上方。
2、阀法兰与管线法兰间按管路设计要求装上密封垫。
3、法兰上的螺栓需对称、逐次、均匀拧紧。
4、连接气动管线(采用气动驱动器时)。
维护检查
阀门在使用期间应定期检查如下项目,发现问题及时修理。紧固件是否被均匀坚固。填料是否被严重磨损,垫片是否被损坏(停车检修)。驱动是否轻便、灵活。阀杆是否被严重磨损或变形。密封面是否被损坏或严重磨损(停车检修)。阀座与阀体连接处是否出现渗漏(停车检修)。壳体是否被严重腐蚀或磨损,导致壳体明显变薄,甚至出现渗漏,如果出现这些现象,应报废(停车检修)。阀门检修装配后,必须按相应标准进行压力试验,每次检修后应做好情况记录,以备考查。

订货须知:
一、①产品名称与型号②口径③是否带附件以便我们的为您正确选型④的使用压力⑤的使用介质的温度。
二、若已经由设计单位选定公司的型号,请按型号直接向我司销售部订购。
三、当使用的场合非常重要或环境比较复杂时,请您尽量提供设计图纸和详细参数,由我们的阀门公司专家为您审核把关。如有疑问:请:我们一定会尽心尽力为您提供优质的服务。提供全面、阀门系统解决方案",也十分愿意帮助用户解决生产中所遇到的难题。 -
联系方式
- 联系人:申弘阀门
- 电 话:021-59260058
- 手 机:15901754341
- 传 真:86-021-31662735
- 邮 箱:494522509@qq.com
- 邮 编:201718
- 地 址:上海市青浦区金泽工业园区
- 网 址: https://bengye.cn.goepe.com/
http://www.021-fm.com
-
产品搜索





