当前位置:
上海申弘阀门有限公司 >
产品中心 >
手动阀门 > 申弘喷煤粉耐磨球阀Q347MF
申弘喷煤粉耐磨球阀Q347MF
| 产品型号: |
Q347MF |
| 品 牌: |
申弘 |
|
|
| 所 在 地: |
上海闵行区 |
| 更新日期: |
2025-06-17 |
Q347MF喷煤粉耐磨球阀简介
本实用新型涉及一种阀门,特别涉及一种耐磨耐酸专用固定球阀,两个球阀为一体式双球并排设置结构。本实用新型公开了一种卸灰球阀,它包括阀体、与阀体固连的阀盖、安装在阀体中的制有通孔的阀芯球体、与阀芯球体连接的传动轴,其特征在于在所述阀芯球体的两侧还分别设有与其球面相适配的阀座,所述阀座与阀芯球体构成密封副,在阀座和阀体或阀盖之间设有弹性密封垫。由于阀座的内球面经研磨制成,所以与阀芯球体的接触面积大,密封效果好;阀芯球体的通孔两端均被密封,所输送的介质不会磨损阀芯球体的外表面和阀体的内腔,另外阀芯球体和阀座均可用耐高温并且表面硬度大的金属材料制作。因此本实用新型具有密封可靠、耐高温、使用寿命长的优点,可以用在发电、钢铁等生产企业气流输送煤灰的管路系统中。

陶瓷球阀所有与介质接触的部分均为结构陶瓷材料,其化学稳定性及硬度极高,仅次于金刚石,广泛应用于电厂干灰系统、脱硫系统及矿山洗矿管道。目前在脱硫系统管道系统中使用陶瓷球阀,要达到双保险、双切断、双堵塞、双排放功能,至少需要两个球阀直接串联安装,分别用以控制管道的启闭、分流、调节等,同时需要在安装时调试两个球阀的流量中心线,不仅加大了安装难度,而且操作上十分繁琐,控制人员很难快速、准确的对管道进行启闭、调节等操作,给使用者带来了诸多不便,并且在管道需要切断时,需要对两个球阀或多个阀门同时进行切断动作,如切断动作过多,造成陶瓷球阀受损过快,减低阀门使用寿命,给用户带来经济损失。

Q347MF喷煤粉耐磨球阀产品特点
1、阀座带有磨损自动补偿装置,有效确保阀门的密封性能。
2、特殊材料制成的密封圈,具有耐高温、耐磨损、使用寿命长的特点。
3.阀杆采用整体锻造并调制处理,硬度达到HB220~250,阀杆采用防吹出结构设计,根据需要可加长阀杆用于埋地场所;
4.根据客户需要,卸灰球阀可设计成防静电结构,在球体与阀杆、阀杆与阀体之间设置导电弹簧,避免静电打火点燃易燃物质,确保系统安全。
5.密封副形式多样,根据不同工况可选用软密封结构、硬密封结构、防火阀座结构等结构设计。
6.根据需要可设置注脂辅助密封结构,在阀座和阀杆部位加装注脂阀,紧急情况下可暂时密封。
7.喷煤粉专用球阀还具有结构紧凑、启闭灵活、安装维修方便等特点。

【发明内容】
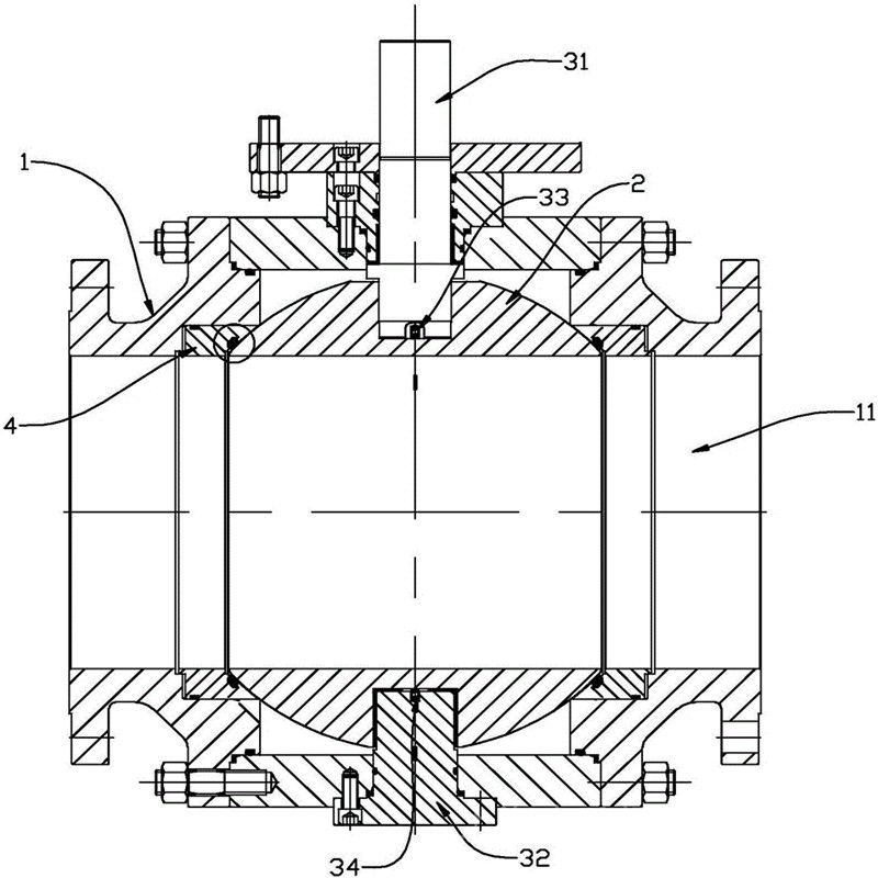
针对现有技术存在的不足,本实用新型的目的在于提供一种耐磨耐酸专用固定球阀,由端盖、前陶瓷体、衬里四氟、弹簧、阀座、球体、O型圈、中体陶瓷、底座、中阀座、金属缠绕垫、轴套、上阀杆、阀盖、填料组成。
本实用新型解决其技术问题所采用的技术方案是:端盖为双法兰联体结构,端盖外观剖面图为“工”字形状,端盖的外法兰直径大于内法兰直径,端盖内壁剖面图为“凹”字形状,端盖内壁中间部位设有环形凸台,盖陶瓷中间部位设有环形台阶,端盖环形凸台与盖陶瓷环形台阶连接成密封结构,中阀座的上下两端中均有设置阀座结构,阀座结构在弹簧作用下构成密封,整体阀门形成一体式双球并排设置结构。

Q347MF喷煤粉耐磨球阀主要零件材料及性能
| 阀体 |
阀杆 |
阀球 |
密封面 |
垫片 |
填料 |
工作温度 |
适用介质 |
| WCB |
1Cr13 |
1Cr13 |
1Cr13
司太立合金
本体材料 |
柔性石墨
不锈钢加柔性石墨
08软钢
F304 F316 |
柔性石墨
编结石墨 |
-29-425℃ |
水、蒸汽、油品 |
| WC6 |
15CrMo |
15CrMo |
-29-425℃ |
| WC9 |
25Cr2MoV |
25Cr2MoV |
| LCB |
304 |
304 |
-46-354℃ |
| CF8 |
304 |
304 |
-196-600℃ |
部分酸、碱 |
| CF3 |
304L |
304L |
| CF8M |
316 |
316 |
| CF3M |
316L |
316L |
要主性能
| 型号 |
公称压力 MPa |
强度试验 MPa |
密封试验压力 MPa |
适用温度℃ |
适用介质 |
| Q347MF |
0.6 |
0.9 |
0.66 |
≤350、150 |
煤粉、废渣、
泥浆、煤灰等 |
| Q347MF |
1.6 |
2.4 |
1.76 |
气动装置性能参数
| 公称通径 |
气缸型号 |
供气压力 |
管接头 |
动作时间 |
| DN200~250 |
QYQGA200×250 |
0.40.6-MPa |
H18×1.5 |
≤8S |
| DN300 |
QYQGA250×340 |
0.40.6-MPa |
H27×2 |
≤8S |
| DN350~400 |
QYQGA300×460 |
0.40.6-MPa |
H27×2 |
≤8S |
| DN500~600 |
QYQGA400×580 |
0.40.6-MPa |
H27×2 |
≤8S |
液压装置性能参数
| 公称通径 |
液压型号 |
液压系统压力 |
管接头 |
动作时间 |
| DN200-300 |
QYDG100 |
4-6.3MPa |
H18×1.5 |
≤15S |
| DN350-400 |
QYDG120 |
| DN500-600 |
QYDG160 |
H27×2 |
Q347MF喷煤粉耐磨球阀主要外形连接尺寸表
| 型号 |
公称压力PN |
公称通径DN |
200 |
250 |
300 |
350 |
400 |
5D0 |
600 |
| 蜗轮传动传动卸灰球阀Q347MF |
0.6Mpa |
D |
315 |
370 |
435 |
485 |
535 |
640 |
755 |
| D1 |
280 |
335 |
395 |
445 |
495 |
6D0 |
705 |
| L |
500 |
600 |
700 |
800 |
900 |
1000 |
1100 |
| L3 |
655 |
655 |
815 |
1043 |
1043 |
1243 |
1243 |
| H |
714 |
821 |
936 |
1010 |
1049 |
1240 |
1320 |
| H1 |
270 |
330 |
374 |
414 |
431 |
515 |
595 |
| b |
22 |
24 |
24 |
26 |
28 |
30 |
30 |
| n-φd |
8-φ18 |
12-φ18 |
12-φ23 |
12-φ23 |
16-φ23 |
16-φ23 |
20-φ25 |
| 1.6MPa |
D |
335 |
405 |
460 |
520 |
580 |
705 |
840 |
| D1 |
295 |
355 |
410 |
470 |
525 |
650 |
770 |
| L |
500 |
600 |
700 |
800 |
900 |
1000 |
1100 |
| L3 |
655 |
655 |
815 |
1043 |
1043 |
1243 |
1243 |
| H |
714 |
821 |
936 |
1010 |
1049 |
1240 |
1320 |
| H1 |
270 |
330 |
374 |
414 |
431 |
515 |
595 |
| b |
30 |
32 |
34 |
38 |
40 |
46 |
54 |
| n-φd |
12-φ23 |
12-φ25 |
12-φ25 |
16-φ25 |
16-φ30 |
20-φ34 |
20-φ41 |
| 液动卸灰球阀Q847MF |
1.6MPa |
D |
335 |
405 |
460 |
520 |
580 |
705 |
840 |
| D1 |
295 |
355 |
410 |
470 |
525 |
650 |
770 |
| D2 |
265 |
320 |
375 |
435 |
485 |
608 |
718 |
| L |
500 |
600 |
700 |
800 |
900 |
1000 |
1100 |
| L2 |
578 |
578 |
578 |
578 |
578 |
668 |
668 |
| H |
708 |
797 |
836 |
866 |
896 |
1101 |
1161 |
| H1 |
270 |
330 |
374 |
414 |
431 |
515 |
595 |
| b |
30 |
32 |
34 |
38 |
40 |
46 |
54 |
| z-d |
12-φ23 |
12-φ25 |
12-φ25 |
16-φ25 |
16-φ30 |
20-φ34 |
20-φ41 |
| 气动卸灰球阀Q347MF |
1.6MPa |
M |
18×1.5 |
18×1.5 |
18×1.5 |
18×1.5 |
18×1.5 |
27×2 |
27×2 |
| D |
335 |
405 |
460 |
520 |
580 |
705 |
840 |
| D1 |
295 |
355 |
410 |
470 |
525 |
650 |
770 |
| L |
500 |
600 |
700 |
800 |
900 |
1000 |
1100 |
| H |
612 |
701 |
754 |
784 |
842 |
1010 |
1102 |
| H1 |
270 |
330 |
374 |
414 |
431 |
515 |
595 |
| b |
30 |
32 |
34 |
38 |
40 |
46 |
54 |
| n-φd |
12-φ23 |
12-φ25 |
12-φ25 |
16-φ25 |
16-φ30 |
20-φ34 |
20-φ41 |
| 配用手动装置 |
S-01 |
S-02 |
S-03 |
S-04 |
S-05 |
S-06 |
S-07 |
| 电动卸灰球阀Q947MF |
1.6MPa |
D |
335 |
405 |
460 |
520 |
580 |
705 |
840 |
| D1 |
295 |
355 |
410 |
470 |
525 |
650 |
770 |
| L |
500 |
600 |
700 |
800 |
900 |
1000 |
1100 |
| L1 |
225 |
300 |
322 |
400 |
450 |
500 |
550 |
| L2 |
274 |
476 |
476 |
476 |
476 |
476 |
476 |
| L3 |
216 |
400 |
400 |
400 |
4D0 |
400 |
400 |
| L4 |
185 |
381 |
381 |
381 |
381 |
381 |
381 |
| H |
702 |
898 |
937 |
997 |
1027 |
1147 |
1207 |
| H1 |
270 |
330 |
374 |
414 |
431 |
515 |
595 |
| b |
30 |
32 |
34 |
38 |
40 |
46 |
54 |
| n-φd |
12-φ23 |
12-φ25 |
12-φ25 |
16-φ25 |
16-φ30 |
20-φ34 |
20-φ41 |
| 配用电动置 |
DQ200A |
QB4400 |
QB4000 |
QB44000 |
QB45000 |
Q856000 |
QB56000 |

本实用新型有益效果:可交替动作两个球体使用,寿命更长,对管线使用达到双保险、双切断作用、可调节流量、双堵塞、双排放、安全等功能。简化了安装程序,减少成本,适应于电厂干灰系统、脱硫系统及矿山洗矿管道。一种喷煤粉专用球阀,主要由驱动机构、上阀杆、球体、下阀杆、密封圈、阀座、阀盖及阀体组成,物料进口为缩孔状,阀门出口端为喇叭形。驱动机构输出轴以键与上阀杆连接,带动球体旋转实现启闭,球体通孔截面较小,增加物料流速减少阻料,下端盖以螺钉与阀体固连,阀座与球体间设有密封圈,与球体形成密封副,上阀杆由对开圆环、上端盖及紧定螺钉及上阀杆组成。其适用于管道中如煤粉、尘气及气体和固体两项介质的流动和密封,具有启闭轻便、自动化操作及密封可靠的功效。

Q347MF喷煤粉耐磨球阀安装与使用
长期存放时,定期检查,需要保持表面积流道清洁,清除污垢,涂以防腐剂,使之处于半开启状态,两端法兰面用胶垫堵紧,请放在室内通风干燥处。
安装前核对半球阀标注通径,压力,温度是否符合使用工程条件,消除运输,存储造成的缺陷,将外表及流道清洗干净,检查并拧紧限位螺丝上的螺母。
安装时按阀体上的介质流通方向直接安装在管道上。一般情况下,可安装在管路的任意位置。如果半球阀用在含颗粒剂悬浮物的流体时其安装位置有水平管路安装及垂直管路安装两种方式。
操作时顺时针旋转手轮为关闭,逆时针旋转手轮为开启,阀芯旋转98度为全开全闭。气动时只能使用阀门配置的手轮,严禁借助于加长杆或其他操作,以免损坏机件,影响阀门正常工作。
使用时,应经常保持阀门清洁,定期检查传动机制是否润滑正常,及时排除故障隐患。

订货须知:
一、①产品名称与型号②口径③是否带附件以便我们的为您正确选型④的使用压力⑤的使用介质的温度。
二、若已经由设计单位选定公司的型号,请按型号直接向我司销售部订购。
三、当使用的场合非常重要或环境比较复杂时,请您尽量提供设计图纸和详细参数,由我们的阀门公司专家为您审核把关。如有疑问:请:我们一定会尽心尽力为您提供优质的服务。提供全面、阀门系统解决方案",也十分愿意帮助用户解决生产中所遇到的难题。