-
SH电动V型调节球阀ZJAV
详细信息| 询价留言ZJAV电动V型调节球阀产品说明
本实用新型涉及一种V形球体调节球阀,特别涉及一种两体式全通径V形球体硬密封调节球阀,与相同口径的V型球阀对比,该阀加大V型球体外径、增大阀座直径,加大的流道直径,提高该阀的流量。电子式电动V型调节球阀,配用DTR系列电动执行机构,无需另配伺服放大器,有输入控制信号(4-20mADC或1-5ADC)及单相电源即可控制运转,明精公司实现对压力、流量、温度、液位等参数的调节。阀芯上开有V型切口,与硬密封阀座相对转动产生剪切力,可将纤维切断,防止卡死。具有流通能力,调节精度高,可调比大,密封性好,重量轻等特点。适用于除小口径,角型、三通连接外的大部分场合,是替代进口产品的产品,特别适用于泥浆和含有纤维性介质,以及含有微小固体悬浮物介质的调节。广泛应用于造纸业、制糖、石油、化工、冶金等行业的工业过程自动控制系统中。

V型球阀采用板簧加载的可动阀座结构,阀座与球体不会产生卡阻或脱离等问题,密封可靠,使用寿命长。V型球阀阀芯设计成带有特殊开关的V型缺口,流通能力大,压力损失小,并具有精确的截流特性和控制功能,流量特性为近似等百分比。启闭件采用V型球缺结构,完全解决了阀腔易沉积介质的问题。
V型球阀适用于Class150~600、PN1.6~10.0MPa,工作温度≤300℃的各种管路上,用于调节管路中介质的压力及流量。选用不同的材质,可分别适用于水、蒸汽、油品、硝酸、醋酸、氧化性介质、尿素等多种介质。由于阀芯和阀座之间是无间隙回转,所以具有很大的剪切力及自洁性能,尤其适用于含有纤维性或有微小固体颗粒的悬浊液及固态颗粒状的控制。因此本产品可广泛用于石油、化工、造纸、电力、冶金、制药、环保等工业部门的自控系统。

ZJAV电动V型调节球阀主要特点
1、结构紧凑,体积小,可竖卧安装等优点。
2、具有出色的调节特性:V型球阀具有一个近似等百分比的固有流量特性及高达100:1的可调比。因此V型阀可以在广幅的变化范围内提供精确的控制。
3、*大流动容积:由于它的流线型外形以及满直角回转控制缘故,使容积的*大值特别高,流通能力特别大,流通阻力小,因此可以使用较小的更加经济实用的阀门尺寸。
4、V型球阀采用双轴承结构,机械稳定性能高,启动扭矩小,保证了阀门具有极好的灵敏度和感应速度。
5、*大可靠(安全)性:阀体为一个整体,坚固耐用,操作不受管道压力影响,并可避免阀体渗漏。
6、金属阀座的优越密封性:V型球阀采用可动金属阀座,自助补偿功能,并具有优越密封性能及超长的使用寿命。在流向上,泄漏量≤10-6×额定流量系数。
7、超强的剪切能力:V型球阀采有金属硬密封结构,V型球阀芯及金属阀座在回转过程中,V型缺口与阀座产生一个强大的剪切力能切断纤维等杂质,并具有自洁功能,避免阀门卡死现象发生。
8、可选配本公司生产的气动、电动、及气动调节型、电动调节型。具体请见本站执行器及调节阀部份。

对夹v型球阀采用带有V型切口的球芯结构,当阀在关闭时,可以剪切介质中纤维、微小颗粒,同时由于阀芯和阀座之间是无间隙回转,可自行擦拭球体及阀座上的积垢物,保持球体与阀座之间的良好密封。
V型球阀采用带弹簧或板簧加载阀座结构,由于弹簧/板簧的弹性恢复力推动阀座,可使球芯与阀座之间长期具有良好的密封性能。同时由于阀座采用弹簧加载的活动结构,可使阀座自动校正,以达到与球芯的*佳吻合。
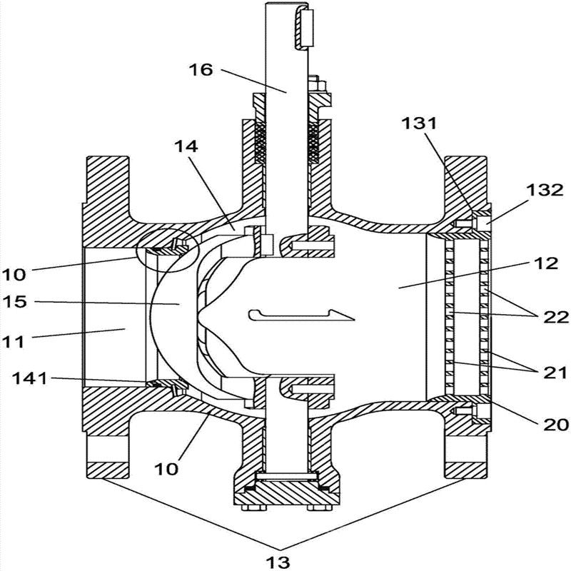
V型球体调节球阀的球体带有V型缺口结构,该阀对管道中的介质具有剪切作用。特别适用于制浆、造纸生产过程中的纸浆、白水、黑液、白液等悬浮颗粒的流体及浓、浊浆状或带少量纤维的流体介质的流量调节。现有的侧装整体式V形球体调节球阀,由于侧装整体式V形球体调节球阀必须设计成缩径结构,其流通直径只能采用比公称通径小一档,在使用存有局限性,尤其是一些管道中对流体流量要求比较特殊,由于阀门的缩径结构,就会产生流通能力小,流体流量不足,达不到要求等情况。

【ZJAV电动V型调节球阀发明内容】
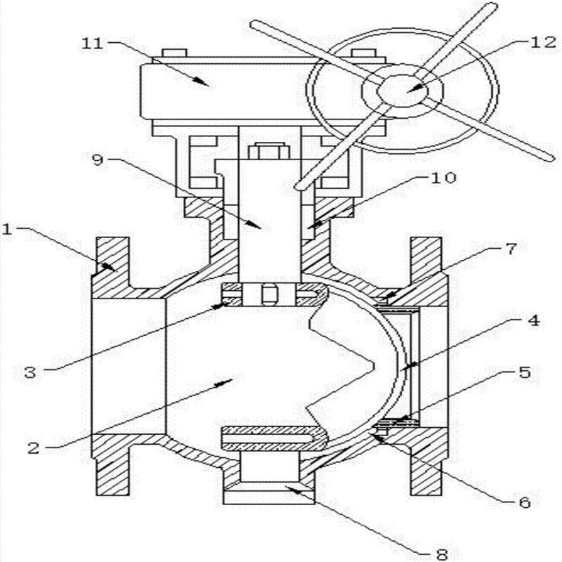
针对现有技术存在的不足,本实用新型的目的在于提供一种两体式全通径V形球体硬密封调节球阀,由下端盖、下阀杆、主阀体、V型球体、阀座、副阀体、上阀杆、填料压盖、支架组成。是一种直角回转结构的高级电动控制球阀,其由回转型角行程电子式电动执行器和法兰式V型球阀组成,以电源电压为动力,接受工业自动化控制仪表来源的电流信号或电压信号的输入,可实现对工艺管路中流体介质的比例调节和二位开关控制。
电动V型球阀阀芯设计成带有特殊形状的V型缺口,具有精确的流量特性和控制功能,适用于气体、液体、固态颗粒状等介质的控制,由于阀芯和阀座之间是无间隙回转,所以具有很大的剪切力及自洁性能,尤其适用于含有纤维性或有微小固体颗粒的悬浊液及固态颗粒状的工况场合的自动控制系统。

ZJAV电动V型调节球阀主要零件部件材料表
序号
零件名称
材料名称
VQ947F/H/Y-C
VQ947F/H/Y-P
VQ947F/H/Y-R
VQ947F/H/Y-RL
1
底座
WCB
CF8
CF8M
CF3M
2
阀体
WCB
CF8
CF8M
CF3M
3
下阀轴
2Cr13
304
316
316L
4
密封圈
聚四氟乙烯(PTFE)/对位聚苯(PPL)/硬质合金/不锈钢
5
球体
2Cr13
CF8
CF8M
CF3M
6
上阀轴
2Cr13
304
316
316L
7
填料
柔性石墨+不锈钢/聚四氟乙烯(PTFE)
8
填料压盖
WCB
CF8
CF8M
CF3M
9
压板
WCB
CF8
CF8M
CF3M
三、主要性能参数表
公称压力
PN(MPa)试验压力
适用介质
适用温度
壳体试验
密封试验
1.6
2.4MPa
1.76MPa
水、油、气及
高粘度、含纤维、
固体颗粒等介质-28℃~550℃
2.4
3.75MPa
2.75MPa
4.0
6.0MPa
4.4MPa
应用规范
连接法兰
JB79-59、 GB20592-97、AMSI B16.5
检验和试验
JB/T 9092-99 、API 598
四、主要技术参数表
公称通径DN(mm)
25
32
40
50
65
80
100
125
150
200
250
300
350
400
额定流量系数Cv
32
43
78
90
160
250
360
610
1120
1850
2950
3700
7195
11466
公称压力PN(MPa)
1.6-6.4
流量特性
近似等百分比、直线特性
阀板转角(度)
0°~至90°(可调)
允许泄漏量等级
软密封:零泄露
硬密封:≤额定Cv×0.001%软密封:VI微气泡级;金属密封:≤额定CV×0.065%
动作时间(S/90度)
8.5~30
36~60
可调节比
250:1
300:1
基本误差
回差
死区
输入信号
输出信号
全行程的≤±2%
全行程的≤±2%
全行程的≤0.8%
4~20mADC
4~20mADC
公称压力
PN(MPa)
公称通径
DN(mm)
尺寸(mm)
L
L1
D
D1
D2
b
Z-ød
Dc
H1
1.6
25
-
-
-
-
-
-
-
38
57
40
-
-
-
-
-
-
-
49
63
50
124
62
160/165
125
100/102
16/18
4-ø18
60
92
65
145
72.5
180/185
145
120/122
18
4-ø18
75
100
80
165
82.5
195/200
160
135/138
20
8-ø18
89
108
100
194
97
215/220
180
155/158
20
8-ø18
113
117
125
210
105
245/250
210
185/188
22
8-ø18
140
140
150
229
114.5
280/285
240
210/212
24/22
8-ø23/8-ø22
164
177
200
243
121.5
335/340
295
265/268
26/24
12-ø23/12-ø22
205
200
250
297
148.5
405
355
320
30/26
12-ø25/12-ø26
259
252
300
338
169
460
410
375/378
30/28
12-ø25/12-ø26
300
270
2.5
25
-
-
-
-
-
-
-
38
57
40
-
-
-
-
-
-
-
49
63
50
124
62
160/165
125
100/102
20
4-ø18
60
92
65
145
72.5
180/185
145
120/122
22
8-ø18
75
100
80
165
82.5
195/200
160
135/138
22/24
8-ø18
89
108
100
194
97
230/235
190
160/162
24
8-ø23/8-ø22
113
117
125
210
105
270
220
188
28/26
8-ø25/8-ø26
140
140
150
229
114.5
300
250
218
30/28
8-ø25/8-ø26
164
177
200
243
121.5
360
310
278
34/30
12-ø25/12-ø26
205
200
250
297
148.5
425
370
332/335
36/32
12-ø30
259
252
300
338
169
485
430
390/395
40/36
16-ø30
300
270

本实用新型有益效果:提高了 V型球阀的流体流量,从而达到了相同口径的V型球阀流体流量增大的要求。电动V型球阀是很常见的一种闸阀,电动V型球阀假如安装不善就不容易具有应该有的功效,对客户导致多余的损害。那麼电动V型球阀应当怎样安装?下边就为大伙儿梳理几个电动V型球阀的安装部位及留意的事宜:

1、电动V型球阀是多功能性配件,电动V型球阀前后左右务必设截断阀、调压阀,电动V型球阀前后左右应设置气压表,为避免电动V型球阀失效而又保证电动V型球阀后的管路系统软件处于相对的安全性压力范畴内,电动V型球阀后一定要安装阀门。
2、电动V型球阀阀组不可设置在挨近移动设备或非常容易受到损伤的地区,而应设置在震动较小、便于维护保养维修处。电动V型球阀关键用以减少蒸气比如蒸气电动V型球阀、空气压缩、天然气等管道,电动V型球阀前后左右的截断阀应选用截止阀门。
3、电动V型球阀阀组的安装有二种状况:一种是沿墙铺设安装,另一种状况是安装在空架管道上。后面一种安装时要设置永久实际操作服务平台。电动V型球阀阀组的安装高宽比为1.1m上下。

订货须知:一、①产品名称与型号②口径③是否带附件以便我们的为您正确选型④使用压力⑤使用介质的温度。
二、若已经由设计单位选定公司的型号,请型号直接向我司销售部订购。三、当使用的场合非常重要或环境比较复杂时,请您尽量提供设计图纸和详细参数,由我们的阀门公司专家为您审核把关。产品所属球阀选型,感谢您访问我们申弘阀门的网站如有任何疑问.您可以致电给我们,我们一定会尽心尽力为您提供优质的服务。如需要了解更多其它阀类产品的信息可以点击减压阀查看。
-
联系方式
- 联系人:申弘阀门
- 电 话:021-59260058
- 手 机:15901754341
- 传 真:86-021-31662735
- 邮 箱:494522509@qq.com
- 邮 编:201718
- 地 址:上海市青浦区金泽工业园区
- 网 址: https://bengye.cn.goepe.com/
http://www.021-fm.com
-
产品搜索






