-
申弘氧用固定式球阀QY347F
详细信息| 询价留言QY347F氧用固定式球阀简介
本实用新型公开一种氧气用固定球阀,主、副阀体通过螺栓连接,球体由支承板固定在副阀体上,球体通过传动销与阀杆连接,阀杆通过联轴器与执行机构连接,实现球阀的开/关。本实用新型的优点是耐磨、抗高压氧气吹扫、操作力矩低、阀杆密封低泄漏、避免灰尘和油污进入阀杆和阀体内,不会形成静电聚集。
采用优质材料,先进结构,特殊工艺和检测手段,使该类球阀与原冶金企业用的铜截止阀比较有启闭迅速、灵活、密封可靠、结构紧凑、流阻特小等优点。根据氧气输送的特殊性,该球阀设计有防静电,耐火结构,各零部件在装配中严格进行脱脂处理。阀体等部件选用优质不锈钢并经酸洗、钝化,检查和试验用不含任何油脂的纯净自来水进行高压密封试验,用0.6Mpa气体做泄漏试验,阀门应无泄漏;经上述特殊工艺处理,此类球阀不仅操作快速灵便,流阻小,安全可靠,而且使用寿命长(密封副冲刷小)。

QY347F氧用固定式球阀设计特色
1、防燃阻火:主要部件的材质为铜合金,属不可燃材料,即使与高速气流中的固体粒子碰撞也不会产生火花。因此,本阀具有*佳的防燃阻火性能;
2、安全可靠:本阀带有防尘、防水、防油污装置,所有与氧气接触的阀件在组装前均经过严格脱脂和禁油措施,填料材质为聚四氟乙烯,可确保使用时安全可靠;
3、法兰端均设有导电螺孔,以防静电。
氧气专用球阀是为冶金行业在常温下输送氧气的需要而研制开发的特殊阀门。采用优质材料,先进结构,特殊工艺和检测手段,使该类球阀与原冶金企业用的铜截止阀比较有启闭迅速、灵活、密封可靠、结构紧凑、流阻特小等优点。根据氧气输送的特殊性,该球阀设计有防静电,耐火结构,各零部件在装配中严格进行脱脂处理。阀体等部件选用优质不锈钢并经酸洗、钝化,检查和试验用不含任何油脂的纯净自来水进行高压密封试验,用0.6Mpa气体做泄漏试验,阀门应无泄漏;经上述特殊工艺处理,此类球阀不仅操作快速灵便,流阻小,安全可靠,而且使用寿命长(密封副冲刷小)。

QY347F氧用固定式球阀以下几点结构特点:
1 双阻塞与排放
固定球阀采用弹簧预紧浮动阀座,无论阀门处于全开或全关状态时,上下游侧的阀座使流体阻断,阀体中腔滞留物通过排放阀排泄。
2 自动泄压
阀门体腔停留介质温度升高而引起异常升压时,不需通过安全阀,而仅靠阀座功能就可自动泄压,这对保证阀门在输送液体介质时的安全性非常重要。
3 防火安全
阀门都具备防火安全功能,其设计、制造均严格遵循API 607和API 6FA 规范要求,并通过权威机构试验验证。
4 密封紧急救护
由于介质中的异物或火灾造成阀座密封意外失效,注脂阀提供了与注脂枪的快速连接,方便快捷地将密封脂注入到阀座密封部位,缓解泄漏。
5 可靠的阀杆密封和低操作力矩
除了设置标准密封套圈外,填料压盖上也设置了“O”型密封圈,双重密封保证了阀杆密封的可靠性;增设的石墨填料和密封脂注入使火灾后的阀杆泄漏降至*低。阀杆滑动轴承和止推轴承使阀门操作轻便。
6 全通径或缩径
可根据需要选用全通径或缩径结构。全通径阀门流量孔径与管线内径一致,便于管线清扫。
7 阀杆加长
根据安装或操作的需要,可对阀门阀杆进行加长。加长杆球阀,特别适用于城市煤气等需要埋地铺设管线的场合。加长阀杆尺寸按客户需要确定。
8 操作灵活
采用具有小摩擦系数和良好自润滑性的特氟隆(TEFLON)阀座和阀杆轴承,大大地减少了阀门的操作扭矩。因此即使在没有提供密封润滑脂的情形下,也能够长期灵活自如地对阀门进行操作。

氧气专用球阀--执行标准
设计与制造 结构长度 法兰尺寸 压力-温度 试验-检验 GB122237 GB12221 GB9113 JB79 GB9131 GB/T13927 JB/T9092 三、压力试验
公称压力 1.6 2.5 4.0 强度试验 2.4 3.8 6.0 水密封试验 1.8 2.8 4.4 气密封试验 0.4-0.7 
四、QY347F氧用固定式球阀主要零件材料及性能阀体 WCB ZG1Cr18Ni9Ti CF8 CF3 ZG1Cr18Ni12Mo2Ti CF8M CF3M 球体 阀杆 2Cr13 1Cr18Ni9Ti 304 304L 1Cr18Ni12Mo2Ti 316 316L 阀 座 聚四氟乙烯PTFE 加坡纤增强聚四氟乙烯PTFE+Glass 对位聚笨PPL 垫片 聚四氟乙烯PTFE 不锈钢/柔性石墨 齿形垫片 阀杆座 聚四氟乙烯PTFE 不锈钢/柔性石墨 填料 聚四氟乙烯PTFE 增强柔性石墨 填料压盖 WCB 1Cr18Ni9Ti 304 304L 1Cr18Ni12Mo2Ti 316 316L 温度 -29~150(聚四氟乙烯 PTFE) -29~200(加玻纤增强聚四氟乙烯 PTFE+GLASS) -29~300(对位聚笨 PPL) 介质 水 蒸汽 油品 硝酸类 强氧化介质 醋酸类 尿素类
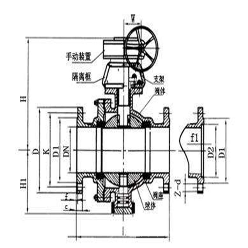
QY347F氧用固定式球阀外形尺寸公称压力
公称直径DN(mm)
D
D1
D2
K
L
F
F1
C
Z-d
H
H1
W
1.6
125
245
185
/
210
381
3
/
20
8-φ18
252
195
115
150
280
210
/
240
403
3
/
24
8-φ23
272
215
115
200
335
295
/
295
502
3
/
26
12-φ23
342
295
115
250
405
320
/
355
568
3
/
30
12-φ25
495
335
115
300
460
375
/
410
648
4
/
30
12-φ25
580
385
171
350
520
435
/
470
762
4
/
34
16-φ25
625
430
171
400
580
485
/
525
838
4
/
36
16-φ30
720
470
171
450
640
545
/
585
914
4
/
40
20-φ30
800
560
171
2.5
125
270
188
/
220
381
3
/
28
8-φ25
252
195
115
150
300
218
/
250
403
3
/
30
8-φ25
272
215
115
200
360
278
/
310
502
3
/
34
12-φ25
342
295
115
250
425
332
/
370
568
3
/
36
12-φ30
495
335
115
300
485
390
/
430
648
4
/
40
16-φ30
580
385
171
350
550
448
/
490
762
4
/
44
16-φ34
625
430
171
400
610
505
/
550
838
4
/
48
16-φ34
720
470
171
450
660
555
/
600
914
4
/
50
20-φ34
800
560
171
4
125
270
188
176
220
381
3
4.5
28
8-φ25
252
195
115
150
300
218
204
250
403
3
4.5
30
8-φ25
272
215
115
200
375
282
260
320
502
3
4.5
38
12-φ30
398
295
115
250
445
345
313
385
568
3
4.5
42
12-φ34
495
335
115
300
510
408
364
450
648
4
4.5
46
16-φ34
580
385
171
350
570
465
422
510
762
4
5
52
16-φ34
625
430
171
400
655
535
474
585
838
4
5
58
16-φ41
720
470
171
450
680
560
524
610
914
4
5
60
20-φ41
820
560
171

本实用新型公开了一种氧气球阀,包括阀体和设置于所述阀体阀腔内的球体,所述阀体左侧设有球体安装孔,所述球体安装孔上设有阀盖,阀杆穿过所述阀体与所述球体连接,所述阀杆下部设有凸台,所述凸台下端设有插入端,所述插入端上套设有防静电弹簧,所述球体上设有与所述插入端适配的插入孔;所述阀体上设有多个用于阀杆密封的填料槽,所述填料槽上设有填料压盖.本实用新型,阀杆与球体连接处套设有防静电弹簧,以消除阀体内部的静电,用于阀杆密封的填料槽上,增加填料压盖,用于将填料槽内的填料压紧,加强阀杆的密封性,防止阀杆断裂或变形,提高安全性和使用寿命.

QY347F氧用固定式球阀的使用
1、必须先查明球阀上、下游管道确已卸除压力后,才能进行拆卸分解操作。
2、非金属零件清洗后应立即从清洗剂中取出,不得长时间浸泡。
3、装配时法兰上的螺栓必须对称、逐步、均匀地拧紧。
4、清洗剂应与球阀中的橡胶件、塑料件、金属件及工作介质(例如燃气)等均相容。工作介质为燃气时,可用汽油(GB484-89)清洗金属零件。非金属零件用纯净水或酒精清洗。
5、分解下来的每单个球阀零件可以用浸洗方式清洗。尚留有未分解下来的非金属件的金属件可采用干净的细洁的浸渍有清洗剂的绸布(为避免纤维脱落粘附在零件上)擦洗。清洗时须去除一切粘附在壁面上的油脂、污垢、积胶、灰尘等。
6、球阀分解及再装配时必须小心防止损伤零件的密封面,特别是非金属零件,取出O型圈时宜使用专用工具。
7、清洗后需待被洗壁面清洗剂挥发后(可用未浸清洗剂的绸布擦)进行装配,但不得长时间搁置,否则会生锈、被灰尘污染。
(8)新零件在装配前也需清洗干净。
9、使用润滑脂润滑。润滑脂应与球阀金属材料、橡胶件、塑料件及工作介质均相容。工作介质为燃气时,可用例如特221润滑脂。在密封件安装槽的表面上涂一薄层润滑脂,在橡胶密封件上涂一薄层润滑脂,阀杆的密封面及摩擦面上涂一薄层润滑脂。
10、装配时应不允许有金属碎屑、纤维、油脂(规定使用的除外)灰尘及其它杂质、异物等污染、粘附或停留在零件表面上或进入内腔。

订货须知:
一、①产品名称与型号②口径③是否带附件以便我们的为您正确选型④的使用压力⑤的使用介质的温度。
二、若已经由设计单位选定公司的型号,请按型号直接向我司销售部订购。
三、当使用的场合非常重要或环境比较复杂时,请您尽量提供设计图纸和详细参数,由我们的阀门公司专家为您审核把关。如有疑问:请:我们一定会尽心尽力为您提供优质的服务。提供全面、阀门系统解决方案",也十分愿意帮助用户解决生产中所遇到的难题。 -
联系方式
- 联系人:申弘阀门
- 电 话:021-59260058
- 手 机:15901754341
- 传 真:86-021-31662735
- 邮 箱:494522509@qq.com
- 邮 编:201718
- 地 址:上海市青浦区金泽工业园区
- 网 址: https://bengye.cn.goepe.com/
http://www.021-fm.com
-
产品搜索





