-
申弘气动固定式氧气球阀AW
详细信息| 询价留言AW气动固定式氧气球阀产品说明
针对国内高温高压氧气切断球阀(下文简称氧阀)主要依赖进口,而国外氧阀问题频出的现象,提出了氧阀国产化的课题.在研究当前高温输氧管线中氧阀故障现象的基础上,分析了其发生故障的原因.通过对现有氧阀结构进行技术改进,并采用全新的设计理念和设计方法,研发出了全新的氧阀.实际使用情况表明,该阀门可以替代进口氧阀在输氧管线上长周期稳定运行.同时给出了氧阀选择的建议.

产品特点:
1、气动固定式球阀采用固定球设计,相对运动部位均采用磨擦系数极小自润滑材料,因而操作扭矩小,此外密封润滑脂的长期密封,使得操作更加灵活。
2、气动固定式球阀采用高平台结构,ISO5211连接标准,能使安装电/气动执行器更为*化。
3、气动固定式球阀采用全通径设计,流通阻力小。
4、金属硬密封气动固定式球阀采用双向金属可动密封结构,具有自动补偿及自洁功能,密封性能优越。
5、气动固定式球阀采用固定球设计,并增加了预紧力弹簧,使得球阀具有自动泄压功能。
6、每个球阀都有两个可动密封座,两个方向都能密封,因而安装时不须考虑介质的流向。
7、具有防火防静电结构,在阀杆与阀体及阀杆与球体之间设置导电弹簧,避免静电打火点燃易燃介质。确保系统安全。
8、耐火结构双重保护,当万一发生火灾而使密封圈烧损时,球阀的各个密封部位均能形成金属对金属的硬密封结构。
9、自动泄压结构,当滞留在阀门中腔的液体介质由于温度升高而气化,从而中腔压力异常升高时,中腔介质能依靠本身的推力推动阀座而自动泄压,从而确保阀门安全。
10、可选气动、电动、液动、及气动调节型、电动调节型。

采用新型系列AT型气动执行器,有双作用式和单作用式(弹簧复位),齿轮传动,安全可靠;
1、齿轮式双活塞,输出力矩大,体积小。
2、气缸选用铝金材料,重量轻、外形美观。
3、可在顶部、底部安装手动操作机构。
4、齿条式连接可调节开启角度、额定流量。
5、执行器可选带电讯号反馈指示及各类附件以实现自动化操作。
6、IS05211标准连接为产品的安装更换提供了方便。
7、两端调的节螺钉可使标准产品在0°和90°有±4°的可调范围。确保与阀门的同步精度。

二、AW气动固定式氧气球阀 执行标准
设计与制造 结构长度 法兰尺寸 压力-温度 试验-检验 GB122237 GB12221 GB9113 JB79 GB9131 GB/T13927 JB/T9092 三、 试验压力
公称压 1.6 2.5 4.0 强度试验 2.4 3.8 6.0 水密封试验 1.8 2.8 4.4 气密封试验 0.4-0.7 四、主要零件材料及性能
阀体 WCB ZG1Cr18Ni9Ti CF8 CF3 ZG1Cr18Ni12Mo2Ti CF8M CF3M 球体阀杆 2Cr13 1Cr18Ni9Ti 304 304L 1Cr18Ni12Mo2Ti 316 316L 阀 座 聚四氟乙烯 加坡纤增强聚四氟乙烯 对位聚笨 垫片 聚四氟乙烯 不锈钢/柔性石墨 齿形垫片 阀杆座 聚四氟乙烯
不锈钢/柔性石墨填料 聚四氟乙烯
增强柔性石墨填料压盖 WCB 1Cr18Ni9Ti 304 304L 1Cr18Ni12Mo2Ti 316 316L 温度 -29~150(聚四氟乙烯 PTFE)
-29~200(加玻纤增强聚四氟乙烯PTFE+GLASS)
-29~300(对位聚笨 PPL)介质 水 蒸汽 油品 硝酸类 强氧化介质 醋酸类 尿素类 AW气动固定式氧气球阀主要技术参数
● 阀体
阀体形式 直通铸造两段式阀体 公称通径 DN15~300mm 公称压力 国标PN1.6、2.5、4.0、6.4 MPa;美标ANSI 150、300LB ;日标JIS 10、20、30K 法兰标准 JIS、ANSI、GB、JB、HG等 连接形式 法兰式 阀盖形式 整体式 压盖型式 螺栓压紧式 密封填料 V型聚四氟乙烯填料、含浸聚四氟乙烯填料、石棉编织填料、柔性石墨 ● 阀内件
阀芯形式 O型球体阀芯 流量特性 快开特性 
● 执行机构
注:如需详细执行器参数,请进入气动执行器页面进行查阅。执行器型号 GT、SR、ST、AT、AW系列单双作用气动执行器 供气压力 0.4~0.7MPa 气源接口 G1/4"、G1/8"、G3/8"、G1/2" 环境温度 -20~+90℃ 作用形式 单作用执行机构:气关式(B)--失气时阀位开(FO);气开式(K)--失气时阀位关(FC)
双作用执行机构:气关式(B)--失气时阀位保持(FL);气开式(K)-- 失气时阀位保持(FL)可配附件 定位器、电磁阀、空气过滤减压器、保位阀、行程开关、阀位传送器、手轮机构等 ■ 主要性能指标
公称通径 DN(mm) 15 20 25 32 40 50 65 80 100 125 150 200 250 300 额定流量系数KV 21 38 72 112 170 273 384 512 940 1452 2222 3589 5128 7359 允许压差(MPa) ≤ 公称压力 动作范围 0~90° 泄露量Q 软密封为零泄露;金属密封符合ANSI B16.104 IV级标准 基本误差 带定位器:小于全行程的±2% 回差 带定位器:小于全行程的2% 
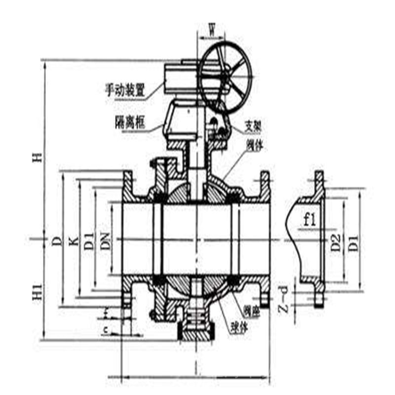
AW气动固定式氧气球阀外形及结构尺寸公称压力
公称直径DN(mm)
D
D1
D2
K
L
F
F1
C
Z-d
H
H1
W
1.6
125
245
185
/
210
381
3
/
20
8-φ18
252
195
115
150
280
210
/
240
403
3
/
24
8-φ23
272
215
115
200
335
295
/
295
502
3
/
26
12-φ23
342
295
115
250
405
320
/
355
568
3
/
30
12-φ25
495
335
115
300
460
375
/
410
648
4
/
30
12-φ25
580
385
171
350
520
435
/
470
762
4
/
34
16-φ25
625
430
171
400
580
485
/
525
838
4
/
36
16-φ30
720
470
171
450
640
545
/
585
914
4
/
40
20-φ30
800
560
171
2.5
125
270
188
/
220
381
3
/
28
8-φ25
252
195
115
150
300
218
/
250
403
3
/
30
8-φ25
272
215
115
200
360
278
/
310
502
3
/
34
12-φ25
342
295
115
250
425
332
/
370
568
3
/
36
12-φ30
495
335
115
300
485
390
/
430
648
4
/
40
16-φ30
580
385
171
350
550
448
/
490
762
4
/
44
16-φ34
625
430
171
400
610
505
/
550
838
4
/
48
16-φ34
720
470
171
450
660
555
/
600
914
4
/
50
20-φ34
800
560
171
4
125
270
188
176
220
381
3
4.5
28
8-φ25
252
195
115
150
300
218
204
250
403
3
4.5
30
8-φ25
272
215
115
200
375
282
260
320
502
3
4.5
38
12-φ30
398
295
115
250
445
345
313
385
568
3
4.5
42
12-φ34
495
335
115
300
510
408
364
450
648
4
4.5
46
16-φ34
580
385
171
350
570
465
422
510
762
4
5
52
16-φ34
625
430
171
400
655
535
474
585
838
4
5
58
16-φ41
720
470
171
450
680
560
524
610
914
4
5
60
20-φ41
820
560
171

AW气动固定式氧气球阀安装维护
气动球阀在安装使用之前,必须对阀门进行安装前的检查和开关运行试验。只有在运行动作正常的条件下,才能安装使用。气动球阀的安装要尽可能是阀门与管路法兰同心,并加支撑固定。不能使球阀受其它外力作用,以免损坏阀门的密封剂阀门变形。造成阀门开关不灵及阀门的损坏而无法使用。
要保证气动球阀及气动元件所提供的动力气源必须洁净,尽可能不带油污和水。清洁度应该小于0.4为米。
在接入气源之前,必须清洁供气管路、气源接口和开关等器件,防止由于管路不清洁带上污物泥沙等冲进气动执行元件而造成故障。
气动执行器、电磁阀、定位器、过滤器减压器等的连接。可用铜管或PU管,电磁阀的排气口应安装消音器或节流消音器。
安装好阀门以后,对气动球阀就行试验,给气动执行器加压至额定值,压力位0.4-0.4Mpa,对气动球阀进行开关试验,观察阀门的开闭情况。应转动灵活无卡阻现象。如有爬行现象,可适当加大气源压力。反复开关使阀门开关灵活即可。
安装调试开关型气动球阀时,先用手动装置进行(电磁阀上有手动按钮)调试,动作正常后再通电调试。
气动球阀应定期进行维护保养阀杆转动处,应三个月加润滑油一次。定期对空气过滤器进行防水、排污。正常的情况下六个月检查一次,每年检修一次。

请按以下指示进行安装:
a:取掉法兰端两边的保护盖,在阀完全打开的状态下进行冲洗清洁。
b:安装前应按规定的信号(电动或气动)进行整机测试(防止因运输产生振动影响使用性能),合格后方可上线安装(接线按电动执行机构线路图)。
C:准备与管道连接前,须冲洗和清除干净管道中残存的杂质(这些物质可能会损坏阀座和球)。
d:在安装期间,请不要用阀的执行机构部分作为起重的吊装点,以避免损坏执行机构及附件。
e:本类阀应安装在管道的水平方向或垂直方向。
f:安装点附近的管道不可有低垂或者承受外力的现象,可以用管道支架或者支撑物来消除管线的偏离
g:与管道连接后,请用规定的扭矩交叉锁紧法兰连接螺栓。

订货须知:一、①产品名称与型号②口径③是否带附件以便我们的为您正确选型④使用压力⑤使用介质的温度。
二、若已经由设计单位选定公司的型号,请型号直接向我司销售部订购。三、当使用的场合非常重要或环境比较复杂时,请您尽量提供设计图纸和详细参数,由我们的阀门公司专家为您审核把关。产品所属球阀选型,感谢您访问我们申弘阀门的网站如有任何疑问.您可以致电给我们,我们一定会尽心尽力为您提供优质的服务。如需要了解更多其它阀类产品的信息可以点击减压阀查看。
-
联系方式
- 联系人:申弘阀门
- 电 话:021-59260058
- 手 机:15901754341
- 传 真:86-021-31662735
- 邮 箱:494522509@qq.com
- 邮 编:201718
- 地 址:上海市青浦区金泽工业园区
- 网 址: https://bengye.cn.goepe.com/
http://www.021-fm.com
-
产品搜索




