-
Q41F卫生级法兰型直通球阀申弘
详细信息| 询价留言Q41F卫生级法兰型直通球阀简介
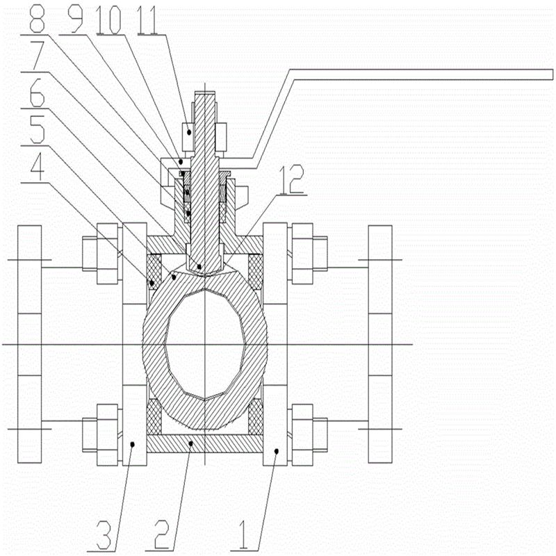
本实用新型公开了卫生级法兰型直通球阀,包括法兰,阀体,球体和阀杆,所述法兰位于所述阀体两端面,且通过螺栓组件固定连接,所述阀体内设有流通通道,所述球体位于所述流通通道内,所述球体上设有扁槽口,且与所述阀杆一端固定连接,所述球体两侧设有球体座,所述球体座嵌于所述阀体内,且通过所述法兰固定,所述阀体上设有台阶孔,台阶孔内设置阀杆衬套,所述阀杆贯穿阀杆衬套,所述阀杆与所述阀体之间设有阀杆一级密封圈,所述阀杆衬套与所述阀体之间设有阀杆二级密封圈.本实用新型优化了球体座的固定方式,球体座通过阀体及两侧法兰固定,再通过螺栓组件固定阀体与法兰,并且优化了阀杆与阀体之间的密封件,从而达到有效的密封性能.通过90°旋转手柄,从而90°带动有贯通腔的制造的球体,以开启或关闭阀门, 达到控制介质流置。

应用:
该类型球阀系列是_款卫生型的用于物料传送控 制的一类阀门系列。广泛用于食品、饮料加工,以及 制药和化学工业领域。本实用新型公开了一种卫生级法兰型直通球阀,包括阀体和阀盖,所述阀体两侧通过螺栓连接有阀盖,所述阀盖一端安装有法兰盘,所述阀体内设置有球体,所述球体上端螺纹连接有阀杆,所述阀杆另一端穿出阀体,所述阀体上设置有安全挡板,所述安全挡板上安装有限位板,所述阀杆穿过安全挡板和限位板,所述球体两侧设置有密封件,所述密封件上设置有圆孔,所述阀体上侧设置有肩阶,所述肩阶和密封件上的台阶相配合.本实用新型通过安全挡板焊接在阀体上方,能够很好的避免阀杆飞离,提高了安全性,通过法兰盘和阀盖接触面之间设置有多个密封圈,能够使管线在热胀冷缩时自动补偿,而且该设备解决了现有设备中存在密封死角的问题,从而避免液体滞留.
采用不锈钢SUS304、316L制作,可以满足食品、生物制药领域各种介质的要求,其光滑、无缝、自动排空、洁净的流体通道,还非常适用于蒸汽踏它就地清洗的需要,在制造加工过程中严格按要求进行质量管控,是按卫生级要求而制造的。
卫生级球阀可分低平台(手动控制)和高平台两种(气动控制),球阀平台采用ISO-5211标准,拆装清洗容易,不形成残留。
标准设计
有各标准的阀门系列可以向客户提供,即用于 DIN标准系列,3A标准系列,SMS标准系列, ISO/IDF标准系列,BS/RJT标准系列,ASME/BPE等 标准系列。
球阀的组成部件一般包括:一个手柄、一个带有 贯通腔的球体、阀体、阀门轴芯以及轴密封圏。
本公司现有的球阀系列规格有:焊接式球阀、卡 箍式球阀、螺纹式球阀等系列球阀.

Q41F卫生级法兰型直通球阀性能规范
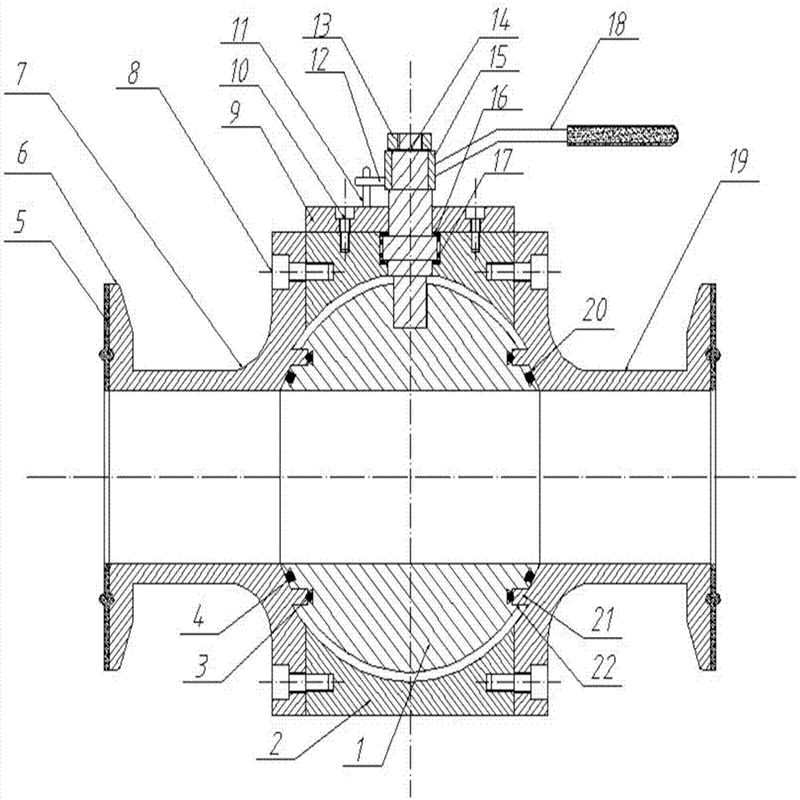
Q41F卫生级法兰型直通球阀产品参数金属材质 与产品接触的零部件 304L/316L(1.4306/1.4404)锻造 可提供材料检测报告 不与产品接触的零部件 304/202(1.4301/202) 密封材质 标配 聚四氟乙烯 采用进口密封材料,所有密封材质均符合FDA117.2600 选配 三元乙丙EPDM/硅橡胶 压力 工作压力 0~16bar 控制气源压力 5~8bar 温度 工作温度 VMQ:(-50~+180℃)EPDM:(-20~+135℃)PTFE:(-25~+250℃) 去菌温度 150℃(MAX20min) 表面处理 内表面处理 Ra≥0.4-0.8μm 外表面处理 Ra≥0.8-1.6μm 连接方式 焊接端管径 焊接口: DIN 11850-2与11850-1/SMS/3A/ISO等系列 连接方式:焊接、快装、外螺纹、内螺纹、法兰等 气动控制 气动头固定支架 产品型号 Q81F-16P 工作温度 -10°C~+135°C 灭菌温度150°C (MA*20MIN) 阀体材料 不锈钢SUS304 SUS316L 连接方式 常用快装卡箍式、其他焊接式、螺纹式、法兰式补充 密封材料 聚四氟乙烯PTFE(铁氟龙) 表面抛光精度 内外镜面抛光Ra<0.4UM 驱动方式 手动、气动或电动 工作压力 0~16bar 结构方式 浮动直通式 体系标准 国标 产品型号 Q41F-10P、Q41F-16P、Q41F-16R、Q41F-16RL 工作温度 -10~135℃、灭菌温度150℃(Max20min) 阀体材质 不锈钢SUS304、SUS316、SUS316L 密封材料 聚四氟乙烯PTFE 表面抛光精度 内外镜面抛光Ra<0.4um 驱动方式 手动、气动、或电动 工作压力 0-16bar 结构形式 浮动直通式 四、 结构图
五、Q41F卫生级法兰型直通球阀连接标准和尺寸
规格 D d L D1 DN15 95 15 100 65 DN20 105 20 105 75 DN25 115 25 120 85 DN32 135 32 136 100 DN40 145 40 145 110 DN50 160 50 160 125 DN65 180 65 195 145 DN80 195 80 235 160 DN100 215 100 270 180 注:由于产品改进技术创新参数可能有一定变化,公司不另行通知,请咨询公司技术部门索取*新数据。

Q41F卫生级法兰型直通球阀安装
1、把球阀装上管线,球阀的任何一端都可装在上游端。用手柄驱动的球阀可安装在管道上的任意位置。但带有齿轮箱或气动球阀应直立安装,即安装在水平管道上,且驱动装置处于管道上方。
2、阀法兰与管线法兰间按管路设计要求装上密封垫。
3、法兰上的螺栓需对称、逐次、均匀拧紧。
4、连接气动管线(采用气动驱动器时)。
球阀安装后的检查
1、操作驱动器启闭球阀数次,应灵活无滞涩,证实其工作正常。
2、按管路设计要求对管道与球阀间的法兰结合面进行密封性能检查。

球阀的维修
1、必须先查明球阀上、下游管道确已卸除压力后,才能进行拆卸分解操作。
2、分解及再装配时必须小心防止损伤零件的密封面,特别是非金属零件,取出O型圈时宜使用专用工具。
3、装配时法兰上的螺栓必须对称、逐步、均匀地拧紧。
4、清洗剂应与球阀中的橡胶件、塑料件、金属件及工作介质(例如燃气)等均相容。工作介质为燃气时,可用汽油清洗金属零件。非金属零件用纯净水或酒精清洗。
5、分解下来的单个零件可以用浸洗方式清洗。尚留有未分解下来的非金属件的金属件可采用干净的细洁的浸渍有清洗剂的绸布(为避免纤维脱落粘附在零件上)擦洗。清洗时须去除一切粘附在壁面上的油脂、污垢、积胶、灰尘等。
6、非金属零件清洗后应立即从清洗剂中取出,不得长时间浸泡。
7、清洗后需待被洗壁面清洗剂挥发后(可用未浸清洗剂的绸布擦)进行装配,但不得长时间搁置,否则会生锈、被灰尘污染。
8、新零件在装配前也需清洗干净。
9、使用润滑脂润滑。润滑脂应与球阀金属材料、橡胶件、塑料件及工作介质均相容。工作介质为燃气时,可用例如特221润滑脂。在密封件安装槽的表面上涂一薄层润滑脂,在橡胶密封件上涂一薄层润滑脂,阀杆的密封面及摩擦面上涂一薄层润滑脂。
10、装配时应不允许有金属碎屑、纤维、油脂(规定使用的除外)灰尘及其它杂质、异物等污染、粘附或停留在零件表面上或进入内腔。

订货须知:
一、①产品名称与型号②口径③是否带附件以便我们的为您正确选型④的使用压力⑤的使用介质的温度。
二、若已经由设计单位选定公司的型号,请按型号直接向我司销售部订购。
三、当使用的场合非常重要或环境比较复杂时,请您尽量提供设计图纸和详细参数,由我们的阀门公司专家为您审核把关。如有疑问:请:我们一定会尽心尽力为您提供优质的服务。提供全面、阀门系统解决方案",也十分愿意帮助用户解决生产中所遇到的难题。 -
联系方式
- 联系人:申弘阀门
- 电 话:021-59260058
- 手 机:15901754341
- 传 真:86-021-31662735
- 邮 箱:494522509@qq.com
- 邮 编:201718
- 地 址:上海市青浦区金泽工业园区
- 网 址: https://bengye.cn.goepe.com/
http://www.021-fm.com
-
产品搜索






