-
Q341F国标法兰式球阀申弘
详细信息| 询价留言Q341F国标法兰式球阀简介
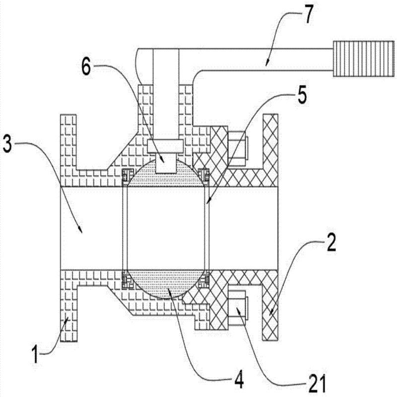
本实用新型涉及阀体设备领域,更具体地说,涉及一种法兰球阀。球阀和闸阀是同属一个类型的阀门,区别在它的关闭件是个球体,球体绕阀体心线作旋转来达到开启、关闭的一种阀门。球阀在管路中主要用来做切断、分配和改变介质的流动方向。现有法兰球阀的把手与阀杆固定焊接或采用螺母扭紧安装连接,不方便拆卸,儿童或其他人员容易转动把手,导致供水缓慢或停止供水,同时,球阀与管道的连接一般都是采用螺栓扭紧固定环和连接环,这样的连接结构使用的螺栓零件较多,不方便水管和球阀的快速连接。因此,需要对现有技术进行改进。

技术实现要素:
针对现有技术中存在的问题,本实用新型的目的在于提供一种法兰球阀,它通过将把手的钐钴磁钢卡接在磁环外侧,使得钐钴磁钢紧固吸附磁环,便于拆装把手,可拆卸式把手的设计可以防止儿童或其他人员转动把手,导致供水缓慢或停止供水;通过顺时针转动扭紧螺帽,带动连接环向右移动,带动左密封垫紧贴右密封垫,便于水管和球阀的快速连接,采用右密封垫和左密封垫双密封垫的设计可以提高水管和球阀连接处的防渗水性能。
Q341F国标法兰式球阀主要优点
(1)流体阻力小,全通径的球阀基本没有流阻。
(2)结构简单、体积小、重量轻。
(3)紧密可靠。它有两个密封面,而且目前球阀的密封面材料广泛使用各种塑料,密封性好,能实现完全密封。在真空系统中也已广泛使用。
(4)操作方便,开闭迅速,从全开到全关只要旋转90°,便于远距离的控制。
(5)维修方便,球阀结构简单,密封圈一般都是活动的,拆卸更换都比较方便。
(6)在全开或全闭时,球体和阀座的密封面与介质隔离,介质通过时,不会引起阀门密封面的侵蚀。
(7)适用范围广,通径从小到几毫米,大到几米,从高真空*压力都可应用。
(8)由于球阀在启闭过程中有擦拭性,所以可用于带悬浮固体颗粒的介质中。

为解决上述问题,本实用新型采用如下的技术方案。
一种法兰球阀,包括球阀,所述球阀的上端固定焊接有阀座,所述阀座的内部通过螺纹连接有阀杆,所述阀杆的外侧固定连接有磁环,所述磁环的外侧通过钐钴磁钢紧固吸附有把手,所述球阀的左侧固定焊接有固定环,所述固定环的左侧紧固粘黏有右密封垫,所述右密封垫的左侧紧贴有左密封垫,所述左密封垫的左侧紧固粘黏有连接环,所述连接环的左侧固定焊接有水管,所述水管的外侧通过通孔滑动套接有螺帽,所述水管的左侧固定焊接有法兰盘,所述固定环和连接环的外侧通过螺纹连接有螺帽,它通过将把手的钐钴磁钢卡接在磁环外侧,使得钐钴磁钢紧固吸附磁环,便于拆装把手,可拆卸式把手的设计可以防止儿童或其他人员转动把手,导致供水缓慢或停止供水;通过顺时针转动扭紧螺帽,带动连接环向右移动,带动左密封垫紧贴右密封垫,便于水管和球阀的快速连接,采用右密封垫和左密封垫双密封垫的设计可以提高水管和球阀连接处的防渗水性能。
进一步的,所述磁环和钐钴磁钢为多边形结构,所述把手的左侧内部紧固粘黏有钐钴磁钢,通过将把手的钐钴磁钢卡接在磁环外侧,使得钐钴磁钢紧固吸附磁环,便于拆装把手。
进一步的,所述把手是由不锈钢材料制成,所述把手的右侧外表面使用强力胶紧固粘黏有橡胶套,可拆卸式把手的设计可以防止儿童或其他人员转动把手,导致供水缓慢或停止供水。
进一步的,所述螺帽为六边形结构,所述固定环和连接环的外侧切割有螺纹,通过顺时针转动扭紧螺帽,带动连接环向右移动,带动左密封垫紧贴右密封垫,便于水管和球阀的快速连接。
进一步的,所述右密封垫和左密封垫是由硅胶材料制成,采用右密封垫和左密封垫双密封垫的设计可以提高水管和球阀连接处的防渗水性能。

Q341F国标法兰式球阀性能规范设计与制造 结构长度 法兰尺寸 压力-温度 试验-检验 GB122237 GB12221 GB9113 JB79 GB9131 GB/T13927 JB/T9092 压力试验
公称压力NominalPressure 1.6 2.5 4.0 强度试验
Shell Test2.4 3.8 6.0 水密封试验
Water Seal Test1.8 2.8 4.4 气密封试验
Air Seal Test0.4-0.7 阀体
BodyZG1Cr18Ni9Ti CF8 CF3 ZG1Cr18Ni12Mo2Ti CF8M CF3M 球体阀杆
Ball Stem1Cr18Ni9Ti 304 304L 1Cr18Ni12Mo2Ti 316 316L 阀座
Seat聚四氟乙烯PTFE 加坡纤增强聚四氟乙烯PTFE+Glass 对位聚笨PPL 垫片
Shim聚四氟乙烯PTFE 不锈钢/柔性石墨Stainless Steel/flexible Graphite 齿形垫片Tooth Profile Gasket 阀杆座
Stem Seat聚四氟乙烯PTFE 不锈钢/柔性石墨 Stainless Steel/Flexible Graphite 填料
Packing聚四氟乙烯PTFE 增强柔性石墨 Enhanced Flexible Graphite 填料压盖
Gland1Cr18Ni9Ti 304 304L 1Cr18Ni12Mo2Ti 316 316L 温度
Temperature-29℃~150℃(聚四氟乙烯 PTFE) -29℃~200℃(加玻纤增强聚四氟乙烯 PTFE+GLASS)
-29℃~300℃(对位聚笨 PPL)
-29℃~550℃(金属硬密封)介质
Medium水蒸汽油品
Water steam
Oil goods硝酸类 Nitric Acid 强氧化介质
strongey oxidable medium醋酸类 Acetic Acid 尿素类Urea 
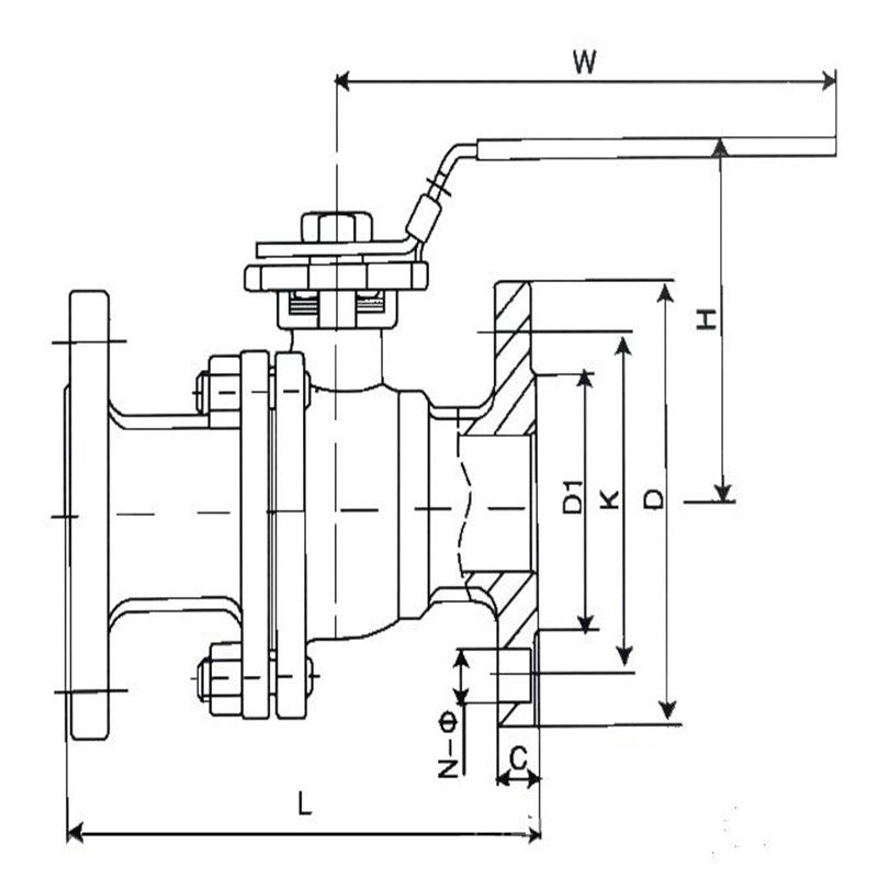
Q341F国标法兰式球阀外形尺寸
1.6MPa主要连接尺寸型号 公称通径 DN(mm) 尺寸(mm) L D D1 D2 b-f z-Φd H W Q41F-16C
Q41F-16P
Q41F-16R
Q41F-16RL
Q341F-16C
Q341F-16P
Q341F-16R
Q341F-16RL15 130 95 65 45 14-2 4-Φ14 65 115 20 140 105 75 55 14-2 4-Φ14 75 130 25 150 115 85 65 14-2 4-Φ14 85 150 32 165 135 100 78 16-2 4-Φ18 95 190 40 180 145 110 85 16-3 4-Φ18 105 230 50 200 160 125 100 16-3 4-Φ18 115 240 65 220 180 145 120 18-3 4-Φ18 145 280 80 250 195 160 135 20-3 8-Φ18 160 310 100 280 215 180 155 20-3 8-Φ18 185 330 125 320 245 210 185 22-3 8-Φ18 215 600 150 360 280 240 210 24-3 8-中23 245 800 200 400 335 295 265 26-3 12-Φ23 300 1000 250 450 405 355 320 30-3 12-Φ25 380 1200 2.5MPa主要连接尺寸
型号 公称通径 DN(mm) 尺寸(mm) L D D1 D2 b-f z-Φd H W Q41F-25C
Q41F-25P
Q41F-25R
Q41F-25RL
Q341F-25C
Q341F-25P
Q341F-25R
Q341F-25RL15 130 95 65 45 14-2 4-Φ14 65 115 20 140 105 75 55 14-2 4-Φ14 75 130 25 150 115 85 65 14-2 4-Φ14 85 150 32 165 135 100 78 16-2 4-Φ18 95 190 40 180 145 110 85 18-3 4-Φ18 105 230 50 200 160 125 100 20-3 4-Φ18 115 240 65 220 180 145 120 22-3 8-Φ18 145 280 80 250 195 160 135 22-3 8-Φ18 160 310 100 280 230 190 160 24-3 8-Φ23 185 330 125 320 270 220 188 28-3 8-Φ25 215 600 150 360 300 250 218 30-3 8-Φ25 245 800 200 400 360 310 278 34-3 12-Φ25 300 1000 250 450 425 370 332 36-3 12-Φ30 380 1200 
4.0MPa主要连接尺寸型号 公称通径 DN(mm) 尺寸 (mm) L D D1 D2 D6 b-f z-Φd H W Q41F-40C
Q41F-40P
Q41F-40R
Q41F-40RL
Q341F-40C
Q341F-40P
Q341F-40R
Q341F-40RL15 130 95 65 45 40 16-2 4-Φ14 70 115 20 140 105 75 55 51 16-2 4-Φ14 80 130 25 150 115 85 65 58 16-2 4-Φ14 90 150 32 180 135 100 78 66 18-3 4-Φ18 100 190 40 200 145 110 85 76 18-3 4-Φ18 110 230 50 220 160 125 100 88 20-3 4-Φ18 120 240 65 250 180 145 120 110 22-3 8-Φ18 150 280 80 280 195 160 135 121 22-3 8-Φ18 170 310 100 320 230 190 160 150 24-3 8-Φ23 190 330 125 360 270 220 188 176 28-3 8-Φ25 220 600 150 400 300 250 218 204 30-3 8-Φ25 250 800 200 550 375 320 282 260 38-3 12-Φ30 390 1200 6.4MPa主要连接尺寸
型号 Type 公称通径 DN(mm) 尺寸(mm) L D D1 D2 D6 b-f z-Φd H W Q41F-64C
Q41F-64P
Q41F-64R
Q41F-64RL
Q341F-64C
Q341F-64P
Q341F-64R
Q341F-64RL15 140 105 75 55 40 18-2 4-Φ14 75 115 20 160 125 90 68 51 20-2 4-Φ18 85 130 25 180 135 100 78 58 22-2 4-Φ18 95 150 32 200 150 110 82 66 24-2 4-Φ23 105 190 40 220 165 125 95 76 24-3 4-Φ23 120 230 50 250 175 135 105 88 26-3 4-Φ23 130 240 65 280 200 160 130 110 28-3 8-Φ23 160 280 80 320 210 170 140 121 30-3 8-Φ23 180 310 100 360 250 200 168 150 32-3 8-Φ25 200 330 125 381 295 240 202 176 36-3 8-Φ30 230 600 150 403 340 280 240 204 38-3 8-Φ34 260 800 200 502 405 345 300 260 44-3 12-Φ34 400 1200 6.4MPa以上请来电咨询我司技术部。

下面将结合本实用新型实施例中的附图,对本实用新型实施例中的技术方案进行清楚、完整地描述;显然,所描述的实施例仅仅是本实用新型一部分实施例,而不是全部的实施例,基于本实用新型中的实施例,本领域普通技术人员在没有做出创造性劳动前提下所获得的所有其他实施例,都属于本实用新型保护的范围。以上所述,仅为本实用新型较佳的具体实施方式;但本实用新型的保护范围并不局限于此。任何熟悉本技术领域的技术人员在本实用新型揭露的技术范围内,根据本实用新型的技术方案及其改进构思加以等同替换或改变,都应涵盖在本实用新型的保护范围内。

安装前的准备:
1、安装前,球阀前后的管线必须已经准备好。前后管道必须同轴。如果是法兰连接,两法兰密封面必须平行。应保证管道应能承受球阀的重量,否则管道上必须配有适当的支撑。
2、必须把球阀前后的管线吹扫干净,清除管道内部的油污、焊渣和一切其它杂物,看清楚在保存时为方便起见取出的石棉填料有没有重新装进去,填紧压实。
3、核对球阀的标志和参数,检查球阀是否完好无损。将球阀全开全闭数次以保证其工作正常。
4、如果是法兰连接的球阀,要拆去球阀两端连接法兰上的保护件。如果是其他的连接方式,也应去除其保护件。
5、检查阀孔清除可能有的污物,然后清洗阀孔。但在安装前要保证水分已被完全干燥,污物全部都被清除。阀座与球之间即使仅有微小颗粒的异物也可能会损伤阀座密封面。

安装时的注意事项
1、把球阀装上管线。双向球阀的任何一端都可装在上游端。用手柄驱动的球阀可安装在管道上的任意位置。但带有齿轮箱或气动驱动器的球阀应直立安装,即安装在水平管道上,且驱动装置处于管道上方。保证驱动装置的正常运行。
2、如果是法兰连接,球阀两端的法兰与管线法兰间必须按照管路设计要求装上密封垫。法兰上的螺栓需对称、逐次、均匀拧紧。但不可过于用力,以防脱丝。
3、如果球阀采用的驱动方式是气动的,要连接气动管线(采用气动驱动器时)。
4、安装后一定要仔细检查气密的严密性。为保证气动装置的严密性,需做到以下两点。
5、操作驱动器启、闭球阀数次,应灵活无滞涩,证明其工作正常。
6、按管路设计要求对管道与球阀间的法兰结合面进行密封性能检查。

球阀使用注意事项:
1、球阀要留有阀柄旋转的位置
2、球阀不能用作节流。
3、球阀带传动机构的球阀应直立安装。
球阀的安装步骤
1、取掉法兰端两边的保护盖,在阀完全打开的状态下进行冲洗清洁。
2、安装前应按规定的信号(电或气)进行整机测试(防止因运输产生振动影响使用性能),合格后方可上线安装(接线按电动执行机构线路图)。
3、准备与管道连接前,须冲洗和清除干净管道中残存的杂质(这些物质可能会损坏阀座和球)。
4、在安装期间,请不要用阀的执行机构部分作为起重的吊装点,以避免损坏执行机构及附件。
5、本类阀应安装在管道的水平方向或垂直方向。
6、安装点附近的管道不可有低垂或者承受外力的现象,可以用管道支架或者支撑物来消除管线的偏离。
7、与管道连接后,请用规定的扭矩交叉锁紧法兰连接螺栓。

球阀的操作和使用
1、操作前须确认管路和阀已被冲洗过。
2、阀的操作按执行机构输入信号大小带动阀杆旋转完成:正向旋转1/4圈(90°)时,阀关断。反向旋转1/4圈(90°)时,阀开启。
3、当执行机构方向指示箭头与管线平行时,阀门为开启状态;指示箭头与管线垂直时,阀门为关闭状态。

订货须知:一、①产品名称与型号②口径③是否带附件以便我们的为您正确选型④的使用压力⑤的使用介质的温度。
二、若已经由设计单位选定公司的型号,请按型号直接向我司销售部订购。
三、当使用的场合非常重要或环境比较复杂时,请您尽量提供设计图纸和详细参数,由我们的阀门公司专家为您审核把关。如有疑问:请:我们一定会尽心尽力为您提供优质的服务。提供全面、阀门系统解决方案",也十分愿意帮助用户解决生产中所遇到的难题。 -
联系方式
- 联系人:申弘阀门
- 电 话:021-59260058
- 手 机:15901754341
- 传 真:86-021-31662735
- 邮 箱:494522509@qq.com
- 邮 编:201718
- 地 址:上海市青浦区金泽工业园区
- 网 址: https://bengye.cn.goepe.com/
http://www.021-fm.com
-
产品搜索






