-
Q347Y固定式硬密封高温球阀申弘
详细信息| 询价留言Q347Y固定式硬密封高温球阀简介
通过采用上述技术方案,金属弹性元件采用特殊的波形弹簧,具有弹性性能好,占用空间小的优点,波形弹簧采用金属环焊接连接,并与阀座、防护环焊接连接,避免波形弹簧在高温、高压情况下因塑性变形造成断裂现象,提高其使用的寿命和可靠性。优选的,所述金属弹性元件为多个锥形弹性金属环端部顺次焊接构成的波形弹簧,所述波形弹簧一端与阀座焊接连接,波形弹簧另一端与防护环焊接连接。

固定式球阀,适用于长输管线和一般工业管线,其强度、安全性、耐恶劣环境性等在设计时进行了特殊考虑,适用于各种腐蚀性和非腐蚀性介质。它与浮动球阀相比,工作时,阀前流体压力在球体上产生的作用力全部传递给轴承,不会使球体向阀座移动,因而阀座不会承受过大的压力,所以固定式球阀的转矩小、阀座变形小,密封、使用寿命长,适用于高压、大口径场合。弹簧预阀座组件,具有自紧特性,实现上游密封。每阀有两个阀座,每个方向都能密封,因而安装没有流向限制,是双向。
硬密封高温耐磨球阀的密封结构是影响其密封性能的重要因素,在温度和压力作用下,阀座和球体之间的相互作用力发生变化时,采用合适的密封结构和结构尺寸补偿所产生的变化,是保障其密封性能的重要的措施之一。硬密封高温球阀适用于非腐蚀型介质、弱腐蚀性介质、硝酸、醋酸、氧化性介质、尿素等多种介质,特别适用于含固体颗粒介质、料浆、煤粉、灰渣等苛刻工况。硬密封高温球阀的驱动方式为手动、蜗轮传动、气动或电动。硬密封高温球阀一般采用法兰连接,也可采用对焊连接。

金属硬密封球阀关闭件球体绕阀体中心线作旋转来达到开启、关闭的一种阀门,密封件嵌于阀座内,金属阀座尾端设有弹簧,当密封面磨损或者烧毁时,在弹簧作用下推动阀座与球体形成金属密封。关于金属硬密封球阀的密封,金属对金属的密封以线密封为佳,从密封原理上及密封比压上较易保证密封,在很小的预紧力情况下就能保证足够的密封比压,使硬密封高温球阀达到密封。但这要根据管道的压力等级和口径大小来定阀座密封面的接触宽度,以防密封面被压溃。
1高温硬密封球阀采用偏心结构,在关闭过程中,阀座与球冷酷间的密封比压能迅速增加,从而确保了密封副的可靠密封。当阀门开启时,阀座与球体能迅速脱离,有效地减小了操作力矩,并使阀座表面与球面之间的控伤可能性降到*小。
2、高温硬密封球阀(浮动式)采用了弹性加载结构,在正常关闭情况下确保了球体密封面与阀座密封之间的接触,在高温工况下,能有效补偿内件受热膨胀,避免因高温而导致的卡阻,适合于中小口径高温使用场合。
3、高温硬密封球阀(固定式)除金属硬密封偏心球阀的偏心特点外,其它优点在此也具务,此外,它可双向使用,且不易在中腔沉积污物,根据用户工况条件,也可在中腔设置排污口。
4、高温硬密封球阀的球体表面采用特殊硬化处理,阀座整体用特种硬质材料或局部堆焊硬质材料,确保密封副之间的有合适的硬度差。
5、由于球体表面采用特殊的表面硬化处理,阀座采用堆焊硬质合金,所以在阀门的启闭过程中能很好经受介质冲刷,特别适合于固体颗粒和磨料介质。
6、除球体表面和阀座表面的特殊表面处理外,在其它密封材料方面采用柔性石墨、金属缠绕式垫片等,故能用于高温、高压工况,并具耐火烧功能。
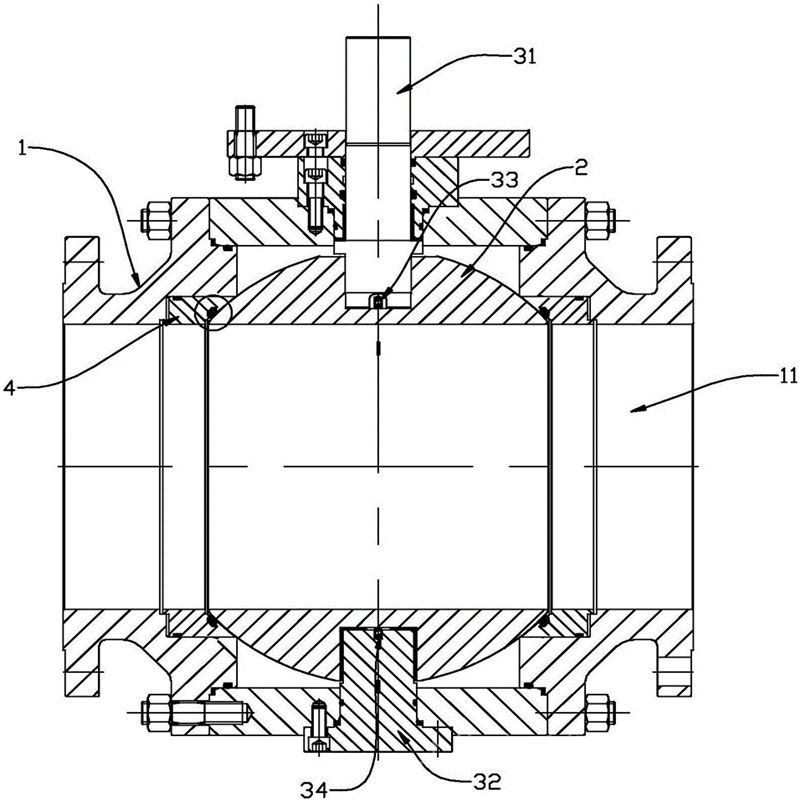
优选的,所述连接体上的插接端头外轮廓呈台阶轴状,插接端头包括位于远离安装法兰的小径段以及与安装法兰连接的大径段,所述中间阀体上设有与插接端头适配的台阶孔,在插接端头的小径段、大径段上均设有密封环,插接端头与中间阀体经密封环密封配合,在插接端头的轴肩位置与中间阀体的台阶孔的轴肩位置轴向间隔形成环形槽。
通过采用上述技术方案,连接体与中间阀体的插接采用台阶状结构进行配合,提高密封性能,形成的环形槽可保证连接体与中间阀体插接装配到位,同时在发生泄露时,环形槽具有一定的缓冲存储能力,从而提高阀体的密封性能。

Q347Y固定式硬密封高温球阀
连接体与中间阀体的插接采用台阶状结构进行配合,提高密封性能,形成的环形槽可保证连接体与中间阀体插接装配到位,同时在发生泄露时,环形槽具有一定的缓冲存储能力,从而提高阀体的密封性能。上述实施例仅用于说明本实用新型之用,并不是对本实用新型保护范围的限制,本领域技术人员在本实用新型实质精神指导下所作出的等同技术方案,均落入本实用新型的保护范畴。
1.一种耐高压硬密封球阀,包括有阀体,阀体内设有阀腔,阀腔内设有阀座以及阀芯,阀芯与阀座对应配合构成阀门的启/闭控制,阀芯与阀座密封配合面为金属硬密封面,所述阀体上设有用于支撑阀芯的下阀杆以及驱动控制阀芯的上阀杆,其特征在于:所述的阀体包括筒状的中间阀体,中间阀体的轴向两端口固定有连接体,连接体沿轴向延伸有插接端头,插接端头后端设有安装法兰,所述连接体的插接端头插装于中间阀体的端口内,中间阀体的轴向端部与安装法兰经螺栓锁固,所述连接体的内端口内设有环形阀座装配槽,环形阀座装配槽内焊接固定有防护环,防护环外径侧设有台阶槽,台阶槽与环形阀座装配槽径向壁之间形成有阀座滑槽,阀座滑动配合于阀座滑槽内,阀座的轴向外端抵接有驱动阀座上金属硬密封面压向阀芯的金属弹性元件,金属弹性元件安装在台阶槽内,所述金属硬密封面为超音速喷涂而形成的高强度硬质金属碳化钨层。
2.根据权利要求1所述耐高压硬密封球阀,其特征在于:所述金属弹性元件为多个锥形弹性金属环端部顺次焊接构成的波形弹簧,所述波形弹簧一端与阀座焊接连接,波形弹簧另一端与防护环焊接连接。
3.根据权利要求1或2所述耐高压硬密封球阀,其特征在于:所述连接体上的插接端头外轮廓呈台阶轴状,插接端头包括位于远离安装法兰的小径段以及与安装法兰连接的大径段,所述中间阀体上设有与插接端头适配的台阶孔,在插接端头的小径段、大径段上均设有密封环,插接端头与中间阀体经密封环密封配合,在插接端头的轴肩位置与中间阀体的台阶孔的轴肩位置轴向间隔形成环形槽。

Q347Y固定式硬密封高温球阀主要零件及材质:序号
NO零件名称
材质
GB
ASTM
1
阀体
WCB
A2116-WCB
2
弹簧
60Si2aMn
AISI 9260
3
密封圈
PTFE
PTFE
4
垫片
PTFE
PTFE
5
排污螺母
25
A105
6
"0" 型密封圈
橡胶
橡胶
7
底盖
25
A105
8
螺钉
35
A193-B7
9
固定轴
1Cr13
A276-410
10
滑动轴承
PTFE&
PTFE&
11
球体
1C18Ni9Ti
SS304
12
阀盖
WCB
A216-WCB
13
阀座
25
A105
14
阀杆
1Cr33
A276-410
15
螺柱
35CrMoA
A193-B7
16
螺母
35
A194-2H
17
压套
25
A105
18
填料
PTFE
PTFE
19
支架
WCB
A216-WCB
20
填料压盖
WCB
A2116-WCB
21
键 Key
45
AISI C 1045
设计依据
系列
美标系列
设计标准
GB/T12237
AP16D
ANSI B16.34
法兰连接结构长度
GB/T12221
AP16D
ANSI B16.10
结构长度(焊接)
GB/T15188.1
AP16D
ANSI B16.10
连接法兰
GB/T9113
JB/T79 Hg20592ANSI B16.5、B16.47
对焊端
GB/T12224
ANSI B16.25
试验和检验
GB/T9092
AP16D
AP1598
试验压力:
压力等级
试验压力(MPa)
公称压力(PN)
磅级(Class)
壳体试验
密封试验
1.0
-
1.5
1.1
1.6
-
2.5
1.76
2.5
-
3.8
2.75
4.0
-
6.0
4.4
6.4
-
9.6
7.04
-
150
3.0
2.2
-
300
7.6
5.6
-
600
15.0
11.0
-
10K
2.4
1.5
-
20K
5.8
4.0
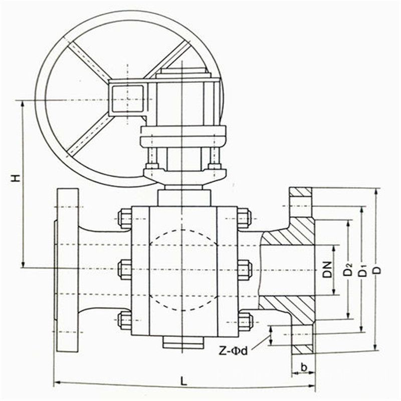
Q347Y固定式硬密封高温球阀外形尺寸

PN1.6MPa主要连接尺寸用重量:公称通径DN
25
32
40
50
65
80
100
125
150
200
250
300
350
400
450
500
600
700
d1
25
32
40
50
65
80
100
125
150
200
250
300
337
387
438
489
591
686
L
165
180
190
216
241
283
305
356
394
457
533
610
686
762
864
914
1067
1245
H
50
55
80
102
114
127
152
184
219
273
360
395
430
470
550
580
700
800
手动
H1
75
85
95
107
125
152
178
300
330
398
495
580
625
670
698
840
1050
1100
E
-
-
-
-
-
-
-
-
-
116
116
171
171
257
257
257
150
83
F
-
-
-
-
-
-
-
-
-
350
350
400
420
400
420
400
410
650
W
160
160
230
230
400
400
650
1050
1050
600
600
800
800
800
800
800
800
800
Wt(Kg)
4.5
5.7
7.0
12
16
22
35
58
74
205
322
460
576
864
1280
1600
1600
4500
电动
H2
-
-
-
-
-
-
-
-
554
600
652
760
770
830
-
940
940
1115
L1
-
-
-
-
-
-
-
-
235
235
235
259
400
400
-
410
410
410
气动
H3
215
240
264
274
379
389
479
552
666
736
926
1059
1127
1393
1468
1538
1538
1450
L2
200
270
270
270
405
405
576
576
776
776
776
1060
1060
1360
1360
1360
1360
2840
PN2.5MPa主要连接尺寸用重量:
公称通径DN
25
32
40
50
65
80
100
125
150
200
250
300
350
400
450
500
600
700
d1
25
32
40
50
65
80
100
125
150
200
250
300
337
387
438
489
591
686
L
165
180
190
216
241
283
305
381
403
502
568
648
762
838
914
991
1143
1346
H
50
55
80
102
114
127
152
184
219
273
360
395
430
470
550
580
700
800
手动
H1
75
85
95
107
125
152
178
300
330
398
495
580
625
670
698
840
1050
1100
E
-
-
-
-
-
-
-
-
-
116
116
171
171
257
257
257
150
83
F
-
-
-
-
-
-
-
-
-
350
350
420
420
400
400
400
410
650
W
160
160
230
230
400
400
650
1050
1050
600
600
800
800
800
800
800
800
800
Wt(Kg)
4.5
5.7
7.0
15
24
30
55
87
118
255
370
533
640
1030
1524
2100
4200
5300
电动
H2
-
-
-
-
-
-
-
-
235
235
400
400
410
410
-
420
690
690
L1
-
-
-
-
-
-
-
-
74
350
350
420
420
400
-
400
410
650
气动
H3
215
240
264
340
379
452
479
646
666
814
1002
1059
1150
1205
1250
1295
1390
1470
L2
200
270
270
405
405
574
574
756
756
1060
1060
1060
1360
1360
2840
2840

高温硬密封耐磨球阀。主要解决了现有的高温硬密封耐磨球阀的散热效果差的问题。阀体内设置有由阀杆驱动旋转的球体,球体两侧设置有与球体密封配合的阀座,阀体上方螺栓连接有支架,支架下方与阀体连接处为台阶设置,支架上方设有连接法兰,连接法兰与支架之间设有斜角过度,支架周侧设有散热片,散热片为条形结构且垂直于支架,阀座与阀体连接处依次设有密封圈、弹性元件及压圈,密封圈及压圈选用柔性石墨夹金属。该高温硬密封耐磨球阀结构设计合理简单,通过设置散热片结构及时散出阀热量,大大增加阀的散热效果,同时密封性能好,稳定性强,延长阀使用寿命。

Q347Y固定式硬密封高温球阀安装和维护步骤:
1.1安装前的准备
(1)球阀前后管线已准备好。前后管道应同轴,两法兰密封面应平行。管道应能承受球阀的重量,否则管道上必须配有适当的支撑。
(2)把阀前后管线吹扫干净,清除掉管道内的油污、焊渣和一切其它杂质。
(3)核对球阀的标志,查明球阀完好无损。将阀全开全闭数次证实其工作正常。
(4)拆去球阀两端连接法兰上的保护件。
(5)检查阀孔清除可能有的污物,然后清洗阀孔。阀座与球之间即使仅有微小颗粒的异物也可能会损伤阀座密封面。
1.2安装
(1)把阀装上管线。阀的任何一端都可装在上游端。用手柄驱动的阀可安装在管道上的任意位置。但带有齿轮箱或气动驱动器的球阀应直立安装,即安装在水平管道上,且驱动装置处于管道上方。
(2)阀法兰与管线法兰间按管路设计要求装上密封垫。
(3)法兰上的螺栓需对称、逐次、均匀拧紧。
(4)连接气动管线(采用气动驱动器时)。
1.3安装后的检查
(1)操作驱动器启、闭球阀数次,应灵活无滞涩,证实其工作正常。
(2)按管路设计要求对管道与球阀间的法兰结合面进行密封性能检查。

2维修
2.1通则
(1)必须先查明球阀上、下游管道确已卸除压力后,才能进行拆卸分解操作。
(2)分解及再装配时必须小心防止损伤零件的密封面,特别是非金属零件,取出O型圈时宜使用专用工具。
(3)装配时法兰上的螺栓必须对称、逐步、均匀地拧紧。
(4)清洗剂应与球阀中的橡胶件、塑料件、金属件及工作介质(例如燃气)等均相容。工作介质为燃气时,可用汽油(GB484-89)清洗金属零件。非金属零件用纯净水或酒精清洗。
(5)分解下来的单个零件可以用浸洗方式清洗。尚留有未分解下来的非金属件的金属件可采用干净的细洁的浸渍有清洗剂的绸布(为避免纤维脱落粘附在零件上)擦洗。清洗时须去除一切粘附在壁面上的油脂、污垢、积胶、灰尘等。
(6)非金属零件清洗后应立即从清洗剂中取出,不得长时间浸泡。
(7)清洗后需待被洗壁面清洗剂挥发后(可用未浸清洗剂的绸布擦)进行装配,但不得长时间搁置,否则会生锈、被灰尘污染。
(8)新零件在装配前也需清洗干净。
(9)使用润滑脂润滑。润滑脂应与球阀金属材料、橡胶件、塑料件及工作介质均相容。工作介质为燃气时,可用例如特221润滑脂。在密封件安装槽的表面上涂一薄层润滑脂,在橡胶密封件上涂一薄层润滑脂,阀杆的密封面及摩擦面上涂一薄层润滑脂。
(10)装配时应不允许有金属碎屑、纤维、油脂(规定使用的除外)灰尘及其它杂质、异物等污染、粘附或停留在零件表面上或进入内腔。
订货须知:一、①产品名称与型号②口径③是否带附件以便我们的为您正确选型④的使用压力⑤的使用介质的温度。
二、若已经由设计单位选定公司的型号,请按型号直接向我司销售部订购。
三、当使用的场合非常重要或环境比较复杂时,请您尽量提供设计图纸和详细参数,由我们的阀门公司专家为您审核把关。如有疑问:请:我们一定会尽心尽力为您提供优质的服务。提供全面、阀门系统解决方案",也十分愿意帮助用户解决生产中所遇到的难题。 -
联系方式
- 联系人:申弘阀门
- 电 话:021-59260058
- 手 机:15901754341
- 传 真:86-021-31662735
- 邮 箱:494522509@qq.com
- 邮 编:201718
- 地 址:上海市青浦区金泽工业园区
- 网 址: https://bengye.cn.goepe.com/
http://www.021-fm.com
-
产品搜索






