-
API美标法兰式球阀申弘
详细信息| 询价留言API美标法兰式球阀简介
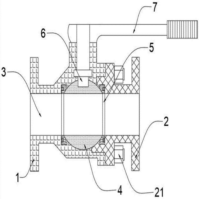
一种法兰球阀,包括球阀,所述球阀的上端固定焊接有阀座,所述阀座的内部通过螺纹连接有阀杆,所述阀杆的外侧固定连接有磁环,所述磁环的外侧通过钐钴磁钢紧固吸附有把手,所述球阀的左侧固定焊接有固定环,所述固定环的左侧紧固粘黏有右密封垫,所述右密封垫的左侧紧贴有左密封垫,所述左密封垫的左侧紧固粘黏有连接环,API美标法兰球阀它的启闭件是个球体,球体绕阀体中心线作旋转90度来达到开启、关闭的一种阀门。球阀在管路中主要用来做切断、调节和改变介质的流动方向。美标球阀不仅结构简单、密封性好,而且在一定的公称尺寸范围内具有体积小、重量轻、材料消耗少、安装尺寸小,并且驱动力矩小、操作简便、易实现快速启闭,是近年来被广泛采用的一种环保经济型阀门。

所述连接环的左侧固定焊接有水管,所述水管的外侧通过通孔滑动套接有螺帽,所述水管的左侧固定焊接有法兰盘,所述固定环和连接环的外侧通过螺纹连接有螺帽,它通过将把手的钐钴磁钢卡接在磁环外侧,使得钐钴磁钢紧固吸附磁环,便于拆装把手,可拆卸式把手的设计可以防止儿童或其他人员转动把手,导致供水缓慢或停止供水;通过顺时针转动扭紧螺帽,带动连接环向右移动,带动左密封垫紧贴右密封垫,便于水管和球阀的快速连接,采用右密封垫和左密封垫双密封垫的设计可以提高水管和球阀连接处的防渗水性能。

API美标法兰式球阀产品特点
1、在各种阀门中,球阀的流动阻力*小,全径球阀打开时,球体通道、阀体通道和连接管径相等并成一直径,介质几乎可以毫无损失的流过。
2、球阀旋转90°即可全关全开,启闭迅速。与相同规格的闸阀、截止阀比较、球阀体积小、重量轻,便于管道安装。
3、浮动球阀主要是球体无支撑轴,球体被两阀座夹持其中呈“浮动”状态,它在管道上主要用于切断、分配和改变介质流动方向。
4、阀座密封设计紧密可靠的,阀杆防飞出设计,防火防静电功能,自动泄压和锁定装置等结构特点。

进一步的,所述磁环和钐钴磁钢为多边形结构,所述把手的左侧内部紧固粘黏有钐钴磁钢,通过将把手的钐钴磁钢卡接在磁环外侧,使得钐钴磁钢紧固吸附磁环,便于拆装把手。
进一步的,所述把手是由不锈钢材料制成,所述把手的右侧外表面使用强力胶紧固粘黏有橡胶套,可拆卸式把手的设计可以防止儿童或其他人员转动把手,导致供水缓慢或停止供水。
进一步的,所述螺帽为六边形结构,所述固定环和连接环的外侧切割有螺纹,通过顺时针转动扭紧螺帽,带动连接环向右移动,带动左密封垫紧贴右密封垫,便于水管和球阀的快速连接。
进一步的,所述右密封垫和左密封垫是由硅胶材料制成,采用右密封垫和左密封垫双密封垫的设计可以提高水管和球阀连接处的防渗水性能。

相比于现有技术,本实用新型的优点在于:
(1)本方案通过将把手的钐钴磁钢卡接在磁环外侧,使得钐钴磁钢紧固吸附磁环,便于拆装把手,可拆卸式把手的设计可以防止儿童或其他人员转动把手,导致供水缓慢或停止供水;通过顺时针转动扭紧螺帽,带动连接环向右移动,带动左密封垫紧贴右密封垫,便于水管和球阀的快速连接,采用右密封垫和左密封垫双密封垫的设计可以提高水管和球阀连接处的防渗水性能。
(2)磁环和钐钴磁钢为多边形结构,把手的左侧内部紧固粘黏有钐钴磁钢,通过将把手的钐钴磁钢卡接在磁环外侧,使得钐钴磁钢紧固吸附磁环,便于拆装把手。
(3)把手是由不锈钢材料制成,把手的右侧外表面使用强力胶紧固粘黏有橡胶套,可拆卸式把手的设计可以防止儿童或其他人员转动把手,导致供水缓慢或停止供水。
(4)螺帽为六边形结构,固定环和连接环的外侧切割有螺纹,通过顺时针转动扭紧螺帽,带动连接环向右移动,带动左密封垫紧贴右密封垫,便于水管和球阀的快速连接。
(5)右密封垫和左密封垫是由硅胶材料制成,采用右密封垫和左密封垫双密封垫的设计可以提高水管和球阀连接处的防渗水性能。

API美标法兰式球阀产品规范 Product Specification
产品规范
Product
Specification
设计规范
Design Spec
结构长度
Face to Face
连接法兰
Flange End
试验与检验
Test & Check
产品标识
Marking
供货规范
Supply
API608
ASME B16.10
ANSI B16.5
API598
MSS SP-25
API608
API6D
API6D
API6D
API6D
API6D
美标法兰球阀技术规范
设计依据
日标系列
美标系列
设计标准
BS5351
AP16D
ANSI B16.34
法兰连接结构长度
JIS B2002
AP16D
ANSI B16.10
结构长度(焊接)
-
AP16D
ANSI B16.10
连接法兰
JIS B2212 B2214
ANSI B16.5、B16.47
对焊端
-
ANSI B16.25
试验和检验
JIS B2003
AP16D
AP1598

API美标法兰式球阀主要零部件材料Main Part Material零件名称
零部件材料 Part Material
Part Name
阀体/阀盖
A216-WCB
A105
A352-LC8
A351-CF8
A351-CF8M
A351-CF3
A351-CF3M
Body/Bonnet
球体
A182-F304
A182-F304
A182-F304
A182-F304
A182-F316
A182-F304L
A182-F316L
Ball
阀杆
A182-F6a
A182-F6a
A182-F6a
A182-F304
A182-F316
A182-F304L
A182-F316L
Stem
阀座
A105
A182-F304
A182-F316
A182-F304L
A182-F316L
Seat Ring
密封圈
PTFE
R.PTFE
seat
填料
聚四氟乙烯/PTFE+FPM
聚四氟乙烯/PTFE+FPM
Packing
垫片
18-8柔性石墨/18-8/Flexible Graphite+聚四氟乙烯/PTFE+FPM
Gasket
螺栓
A193-B8
A193-B8M
Bolt
适用温度
-29~121℃
-40~121℃
-40~121℃
-40~121℃
Suitable
Temp
适用介质
水、油品、蒸汽
Water、Oil、Steam
硝酸类
Nitric Acid
醋酸类
Acetic Acid
Suitable
Medium
API美标法兰式球阀主要外形和连接尺寸
Main External and Connection Dimension 单位 Unit: mm产品型号
NPS
DN
Class 150Lb
WT
Type
in
mm
L
D
D1
D2
b
z-Фd
H
W
(kg)
Q41F-150Lb
1/2"
15
108
89
60.5
35
11.2
4-Ф15.8
55
125
2.3
Q41F-150LbP
3/4"
20
117
98
70
43
12.7
4-Ф15.8
55
125
3
1"
25
127
108
79.5
51
14.3
4-Ф15.8
70
160
4.5
Q341F-150Lb
1¼"
32
140
117
89
64
15.7
4-Ф15.8
75
160
5.5
Q341F-150LbP
1½"
40
165
127
98.5
73
17.5
4-Ф15.8
90
190
7
2"
50
178
152
120.5
92
19.1
4-Ф19
104
350
9.5
Q641F-150Lb
2½"
65
190
178
139.5
105
22.3
4-Ф19
153
400
15
Q641F-150LbP
3"
80
203
190
152.5
127
23.9
4-Ф19
187
489
19
4"
100
229
229
190.5
157
23.9
8-Ф19
206
500
33
Q9B41F-150Lb
5"
125
356
254
216
186
23.9
8-Ф22.2
244
600
58
Q9B41F-150LbP
6"
150
394
279
241.5
216
25.4
8-Ф22.2
252
600
93
8"
200
457
343
298.5
270
28.5
8-Ф22.2
283
735
160
10"
250
533
406
362
324
30.2
12-Ф25.4
345
800
200

以上所述,仅为本实用新型较佳的具体实施方式;但本实用新型的保护范围并不局限于此。任何熟悉本技术领域的技术人员在本实用新型揭露的技术范围内,根据本实用新型的技术方案及其改进构思加以等同替换或改变,都应涵盖在本实用新型的保护范围内。
一、API美标法兰式球阀的安装
安装前的准备
1、球阀前后管线已准备好。前后管道应同轴,两法兰密封面应平行。管道应能承受球阀的重量,否则管道上必须配有适当的支撑
2、把阀前后管线吹扫干净,清除掉管道内的油污、焊渣和一切其它杂质
3、核对球阀的标志,查明球阀完好无损。将阀全开全闭数次证实其工作正常
4、拆去球阀两端连接法兰上的保护件
5、检查阀孔清除可能有的污物,然后清洗阀孔。阀座与球之间即使仅有微小颗粒的异物也可能会损伤阀座密封面
安装
1、把阀装上管线。阀的任何一端都可装在上游端。用手柄驱动的阀可安装在管道上的任意位置。但带有齿轮箱或气动驱动器的球阀应直立安装,即安装在水平管道上,且驱动装置处于管道上方
2、阀法兰与管线法兰间按管路设计要求装上密封垫
3、法兰上的螺栓需对称、逐次、均匀拧紧
4、连接气动管线(采用气动驱动器时)
安装后的检查
1、操作驱动器启、闭球阀数次,应灵活无滞涩,证实其工作正常
2、按管路设计要求对管道与球阀间的法兰结合面进行密封性能检查

球阀安装前准备
1、球阀安装前后管路准备就绪。前后管道应该是同轴的,两个法兰的密封面应该平行。管道应能承受球阀的重量,否则管道必须配有适当的支撑物
2、吹出管道前后的阀门,去除管道中的油污、焊渣和其他杂质
3、检查球阀标志,确保球阀完好无损。开启和关闭阀门几次,以验证其正常工作
4、拆下连接球阀末端的法兰上的保护
5、检查阀门孔是否有污垢,然后清洗阀门孔。即使在阀座和球体之间有小的异物颗粒,也可能损坏阀座密封面

球阀安装
1、把阀门接到管线上。阀门的任何一端都可以安装在上游端。由手柄带动的阀门可以安装在管路上的任何位置。但球阀与齿轮箱或气动执行机构应直立安装,即在水平管道中,传动装置位于管道
2、阀门法兰和管道法兰按管道设计要求安装密封垫片
3、法兰上的螺栓需对称、连续、均匀紧固
4、连接气动管道(使用气动驱动器时)
球阀安装后检查
1、操作传动开启、关闭球阀数次,应灵活无涩,验证其正常工作
2、按管道设计要求和球阀接头表面密封性能检查
二、球阀的维修
◆在拆卸球阀之前,球阀的维护必须首先确定球阀的上下管已经卸下压力
◆拆卸和重装时,必须注意防止损坏零件的密封面,特别是非金属零件,拆卸和重装时,法兰上的螺栓必须对称、逐渐和均匀地拧紧
◆清洗剂应与球阀内的橡胶件、塑料件、金属件和工作介质(如气体)相容。当工作介质为气体时,金属零件可用汽油清洗(gb484-489)。非金属部分用纯净水或酒精清洗,单个部件可以用浸泡清洗方法清洗
◆含有未分解的非金属部件的金属部件可以用浸有清洁剂的干净、精细、干净的丝绸擦拭(以防止纤维掉落和粘附在部件上)
◆非金属零件清洗后应立即从清洗剂中取出,不得长时间浸泡
◆所有附着在墙面上的非金属部件,例如油脂、污垢、胶水和灰尘,在清洗后应立即从清洗剂中清除,清洗后不要长时间浸泡,清洗后应挥发清洗(可不使用丝绸清洗剂)进行组装,但不要长时间使用,否则会生锈并被灰尘污染
◆新零件在装配前应该清洁并用油脂润滑。润滑脂应与球阀金属材料、橡胶部件、塑料部件和工作介质相容
◆在密封的安装槽表面涂上一层薄薄的润滑脂,在橡胶密封圈上涂上一层薄薄的润滑脂,阀杆的密封面和摩擦面上涂上一层薄薄的润滑脂组件
◆不允许有金属碎片、纤维、润滑脂(使用规定除外)灰尘和其他杂质、异物和其他污染物、附着或停留在零件表面或腔体内

订货须知:一、①产品名称与型号②口径③是否带附件以便我们的为您正确选型④的使用压力⑤的使用介质的温度。
二、若已经由设计单位选定公司的型号,请按型号直接向我司销售部订购。
三、当使用的场合非常重要或环境比较复杂时,请您尽量提供设计图纸和详细参数,由我们的阀门公司专家为您审核把关。如有疑问:请:我们一定会尽心尽力为您提供优质的服务。提供全面、阀门系统解决方案",也十分愿意帮助用户解决生产中所遇到的难题。 -
联系方式
- 联系人:申弘阀门
- 电 话:021-59260058
- 手 机:15901754341
- 传 真:86-021-31662735
- 邮 箱:494522509@qq.com
- 邮 编:201718
- 地 址:上海市青浦区金泽工业园区
- 网 址: https://bengye.cn.goepe.com/
http://www.021-fm.com
-
产品搜索






