-
ASME 美标磅级锻钢球阀申弘
详细信息| 询价留言ASME美标磅级锻钢球阀简介
本实用新型涉及一种法兰式手动球阀,具体涉及一种容易辨别方向和清洗的法兰式手动球阀,属于阀门技术领域。采用两片式分体式结构设计,按ASME B16.34设计标准,球阀结构长度:ASME B16.10,法兰标准ASME B16.5。2PC美标法兰球阀具有防火结构,采用ISO5211直接安装执行器的平台设计;球体与球体之间带防静电装置;阀杆防爆出设计;有双层阀杆填料符合阀杆泄露测试要求;双碟形弹片自动压紧填料设计。

背景技术:
手动球阀是本世纪50年代问世的一种阀门,在半个世纪的时间里,球阀已发展成为一种主要的阀类。球阀主要用于截断或接通介质,也可用于流体的调节与控制,V型球阀能够进行比较精确的流量调节与控制,而三通球阀则用于分配介质和改变介质的流向。手动球阀主要是根据球阀的驱动方式是通过手轮或者手柄转动而命名的。
是新一代高性能球阀,适用于长输管线和一般工业管线,其强度、安全性、耐恶劣环境性等在设计时进行了特殊考虑,适用于各种腐蚀性和非腐蚀性介质。它与浮动球阀相比,工作时,阀前流体压力在球体上产生的作用力全部传递给轴承,不会使球体向阀座移动,因而阀座不会承受过大的压力,所以固定式球阀的转矩小、阀座变形小,密封性能稳定、使用寿命长,适用于高压、大口径场合。弹簧预阀座组件,具有自紧特性,实现上游密封。每阀有两个阀座,每个方向都能密封,因而安装没有流向限制,是双向。此阀一般水平安装。

ASME美标磅级锻钢球阀特点:
1、操作省力:球体由上下轴承支撑,减少摩擦,消除了由于进口压力推动球体与密封座形成的巨大密封负荷而造成过大的扭矩。
2、密封性能可靠:PTFE单性材料密封圈嵌于不锈钢阀座内,金属阀座尾端设有弹簧保证密封圈足够的预紧力,阀门在使用过程中密封面磨损时,在弹簧作用下阀门继续保证良好密封性能。
3、防火结构:为防止由于骤热或火灾的出现,使聚四氟乙烯密封圈烧毁,发生较大泄漏,而助长火势,在球体与阀座间设置防火密封环,在密封圈烧毁时,在弹簧力作用下,将阀座密封环迅速推向球体上,形成金属与金属密封,起到一定程度的密封效果。耐火试验符合APl6FA和APl607标准要求。
4、自动泄压功能:当阀门中腔停滞的介质压力异常升高超过弹簧的预紧力时,阀座后退脱离球体,达到自动泄压的效果,卸压后阀座自动复位。
5、排泄管路:阀体上下均设置排泄孑L,可检查阀座是否发生泄漏,在工作中,阀门处于全开或全关时,卸掉中腔压力,可直接更换填料;可以排放中腔滞留物,减少介质对阀门的污染。
手动球阀是一种比较新型的球阀类别,它有着自身结构所独有的一些优越性,如开关无摩擦,密封不易磨损,启闭力矩小。这样可减小所配执行器的规格。配以多回转电动执行机构,可实现对介质的调节和严密切断。广泛适用于石油、化工、城市给排水等要求严格切断的工况。
但手动球阀有难以清洗的缺点,一旦需要对其进行清洗,则需要将整个阀门装置进行拆卸;同时,由于球阀是90度转动,使用者容易对阀门的开闭产生混淆,有时会造成不可弥补的损失。

ASME美标磅级锻钢球阀技术规范
设计依据 美标系列 设计标准 AP16D ANSI B16.34 法兰连接结构长度 AP16D ANSI B16.10 结构长度(焊接) AP16D ANSI B16.10 连接法兰 ANSI B16.5、B16.47 对焊端 ANSI B16.25 试验和检验 AP16D AP1598
试验压力
主要零件材料试验压力(MPa) 磅级(Class) 壳体试验 密封试验 150 3.0 2.2 300 7.6 5.6
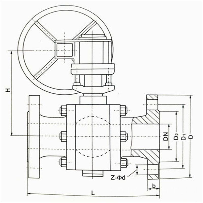
ASME美标磅级锻钢球阀主要外形及连接尺寸表美标球阀名称 WCB类 CF8类 CF3类 CF8M类 CF3M类 阀体左体 A216-WCB A315-CF8 A35-CF3 A351-CF8M A351-CF3M 球体 B2-B8 A105-1025 A182-F304L A182-F304L A132-F316 A182-F316L B8以上 A216-WCB A351-CF8M A351-CF3 A351-CF8M A351-CF3M 阀杆 A182-F6a A182-F304 A182-F304L A182-F336 A182-F316L 阀座 PTFE/增强PTFE/NYLIN PTFE/Reinforced PTFE/Nyion 阀座支承圈 A105-1025 A182-F304 A182-F304L A182-F316 A182-F316L 弹簧 3yc-7/17-49H O形圈 NBR 氟橡胶 螺柱 A193-B7 A193-B8 螺母 A194-2H A194-8 公称
压力公称
通径d L D D1 D2 b f Z-Φd H W Class
1501/2" 13 108 89 60.5 35 11.5 1.6 4-16 79 135 3/4" 19 117 98 70 43 11.5 1.6 4-16 84 135 1" 25 127 108 79.5 51 12 1.6 4-16 95 170 1-1/4" 32 140 117 89 64 13 1.6 4-16 103 170 1-1/2" 38 165 127 98.5 73 15 1.6 4-16 111 200 2" 51 178 152 120.5 92 16 1.6 4-19 120 200 2-1/2" 64 190 178 139.5 105 18 1.6 4-19 153 300 3" 76 203 190 152.5 127 19 1.6 4-19 163 300 4" 102 229 229 190.5 157 24 1.6 8-19 182 400 5" 127 356 254 216 186 24 1.6 8-22 260 500 6" 152 394 279 241.5 216 26 1.6 8-22 280 800 8" 203 457 343 298.5 270 29 1.6 8-22 - 1100 Class
3001/2" 13 140 95 66.5 35 15 1.6 4-16 79 135 3/4" 19 152 117 82.5 43 16 1.6 4-19 84 135 1" 25 165 124 89 51 18 1.6 4-19 95 170 1-1/4" 32 178 133 98.5 64 19 1.6 4-19 103 170 1-1/2" 38 190 156 114.5 73 21 1.6 4-22 111 200 2" 51 216 165 127 92 23 1.6 4-22 120 200 2-1/2" 64 241 190 149 105 26 1.6 8-19 153 300 3" 76 283 210 168.5 127 29 1.6 8-22 163 300 4" 102 305 254 200 157 32 1.6 8-22 182 400 5" 127 381 279 235 186 35 1.6 8-22 260 500 6" 152 403 318 270 216 37 1.6 12-22 280 800 8" 203 502 381 330 270 42 1.6 12-25 - 1100 
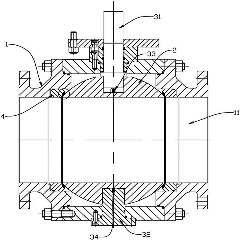
本实用新型的目的在于克服上述不足之处,提供一种容易辨别方向和清洗的法兰式手动球阀。球阀是一种管路中用来做切断、分配改变介质流动方向的装置,在使用中只需要旋转90度的操作和很小的转动力矩就能关闭严密。按照本实用新型提供的技术方案,法兰式手动球阀,包括右阀体、左阀体、密封圈、球体、阀杆、填料、填料压套、填料压板和手柄;所述右阀体内设有球体,球体两侧均通过密封圈卡于右阀体内壁;所述球体上方开有凹槽,凹槽内部设有阀杆,阀杆上自下而上依次设有填料、填料压套和填料压板,填料压板与右阀体通过螺栓固定连接;所述左阀体与右阀体通过螺栓连接,并通过密封圈进行密封;所述阀杆与手柄连接,手柄前端设有一凸起;所述阀杆内部中空。在使用球阀时需要注意什么呢?下面介绍一下球阀的使用注意事项,希望可以帮助到大家。

ASME美标磅级锻钢球阀的使用
1、必须先查明球阀上、下游管道确已卸除压力后,才能进行拆卸分解操作。
2、非金属零件清洗后应立即从清洗剂中取出,不得长时间浸泡。
3、装配时法兰上的螺栓必须对称、逐步、均匀地拧紧。
4、清洗剂应与球阀中的橡胶件、塑料件、金属件及工作介质(例如燃气)等均相容。工作介质为燃气时,可用汽油(GB484-89)清洗金属零件。非金属零件用纯净水或酒精清洗。
5、分解下来的每单个球阀零件可以用浸洗方式清洗。尚留有未分解下来的非金属件的金属件可采用干净的细洁的浸渍有清洗剂的绸布(为避免纤维脱落粘附在零件上)擦洗。清洗时须去除一切粘附在壁面上的油脂、污垢、积胶、灰尘等。
6、球阀分解及再装配时必须小心防止损伤零件的密封面,特别是非金属零件,取出O型圈时宜使用专用工具。
7、清洗后需待被洗壁面清洗剂挥发后(可用未浸清洗剂的绸布擦)进行装配,但不得长时间搁置,否则会生锈、被灰尘污染。
8、新零件在装配前也需清洗干净。
9、使用润滑脂润滑。润滑脂应与球阀金属材料、橡胶件、塑料件及工作介质均相容。工作介质为燃气时,可用例如特221润滑脂。在密封件安装槽的表面上涂一薄层润滑脂,在橡胶密封件上涂一薄层润滑脂,阀杆的密封面及摩擦面上涂一薄层润滑脂。
10、装配时应不允许有金属碎屑、纤维、油脂(规定使用的除外)灰尘及其它杂质、异物等污染、粘附或停留在零件表面上或进入内腔。

订货须知:一、①产品名称与型号②口径③是否带附件以便我们的为您正确选型④的使用压力⑤的使用介质的温度。
二、若已经由设计单位选定公司的型号,请按型号直接向我司销售部订购。
三、当使用的场合非常重要或环境比较复杂时,请您尽量提供设计图纸和详细参数,由我们的阀门公司专家为您审核把关。如有疑问:请:我们一定会尽心尽力为您提供优质的服务。提供全面、阀门系统解决方案",也十分愿意帮助用户解决生产中所遇到的难题。 -
联系方式
- 联系人:申弘阀门
- 电 话:021-59260058
- 手 机:15901754341
- 传 真:86-021-31662735
- 邮 箱:494522509@qq.com
- 邮 编:201718
- 地 址:上海市青浦区金泽工业园区
- 网 址: https://bengye.cn.goepe.com/
http://www.021-fm.com
-
产品搜索






