-
316L不锈钢耐腐蚀球阀申弘
详细信息| 询价留言316L不锈钢耐腐蚀球阀简介
为了更清楚地说明本实用新型实施例技术中的技术方案,下面将对实施例技术描述中所需要使用的附图作简单地介绍,显而易见地,下面描述中的附图仅仅是本实用新型的一些实施例,对于本领域普通技术人员来讲,在不付出创造性劳动的前提下,还可以根据以上所述仅为本实用新型的优选实施例而已,并不用于限制本实用新型,对于本领域的技术人员来说,本发明可以有各种更改和变化。凡在本实用新型的精神和原则之内,所作的任何修改、等同替换、改进等,均应包含在本实用新型的保护范围之内。

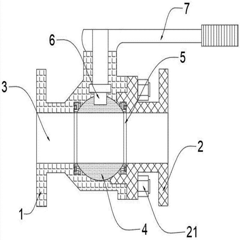
1. 防止误操作手柄:阀门的开、关通常是通过手柄的位置来确认,手柄与管道平行为开阀,垂直为关阀。但是普通球阀手柄与阀杆的连接是扁四方,容易因手柄与阀杆的连接错误而造成阀门的误操作。而图尔阀门的法兰球阀手柄与阀杆的连接是扁平方,不会造成手柄的连接错误及误操作。
2. 锁定机构:法兰球阀在全开、全关位置,可用锁锁定,以防人员扳动手柄造成阀门的误操作;也可防因管线震动或其他因素造成阀的开或关。
3. 不锈钢法兰球阀为防止阀门内压的异常升高而使阀杆飞出的危险,在阀杆的下部设置了凸肩,此外,为防止火灾出现时,使阀杆密封盘根烧损后,出现泄漏,在阀杆下部凸肩与阀体接触处设置了止推轴承,形成倒密封座,防止泄漏,避免事故的扩大。
4. 防静电性能:图尔不锈钢法兰球阀为防止由于球体及阀杆与密封圈的摩擦而产生静电,容易静电打火点燃易燃易爆介质出现工况事故,在阀杆与球体及球体与阀体之间设置了导静电弹簧,使静电通过管路导入地下,保证系统安全。
5. 为防止因火灾或聚热的出现,使阀座烧损时发生较大泄漏,而助长火势,图尔不锈钢法兰球阀在球体和阀座间设置了防火密封环,当阀座烧损后,介质将球体迅速推向下游端的金属密封环上。形成金属对金属接触,起到一定程度的密封,从而保证系统的安全。

密封可靠,结构简单,密封面与球面常在闭合状态,不易被介质冲蚀,易于操作和维护,适用于水、溶剂、油品、气体、酸和天然气等一般工作介质,而且还适用于工作条件恶劣的介质,如氧气、过氧化氢、甲烷和乙烯等,在各行业得到广泛的应用。阀体可以是整体的,也可以是组合式的。

316L不锈钢耐腐蚀球阀与现有技术相比,本实用新型具有以下有益效果:
(I)结构简单紧凑、操作简单、维修方便、密封性能好,使用寿命长;
(2)阀座背面斜度角具有弹性补偿功能,在阀座磨损和低压情况下具有很好的补偿密封功能;
(3)采用填料压盖和压盖螺栓的结构来补偿压缩填料压缩,效果好;
(4)客户可以根据需要自行选择手动、电动、气动以及其他驱动方式,在填料处有泄漏的情况下,可以不用拆卸手柄以及驱动装置就可以通过拧紧螺栓来压紧填料,来保证填料处不泄漏。
(5)阀座为唇式弹性聚四氟乙烯阀座,在高压以及低压有着优良的密封效果,这种阀座具有启闭力矩轻,从而降低驱动装置的规格,进而节约成本,降低客户因阀座频繁更换而带来的损失。

【316L不锈钢耐腐蚀球阀技术规范】:
设计依据
GB
API
设计标准
GB/T12237
API6D
ANSI B16.34
法兰连接结构长度
GB/T12221
API6D
ANSI B16.10
结构长度(焊接)
GB/T15188.1
API6D
ANSI B16.10
连接法兰
GB/T9113
JB/T79
Hg20592ANSI B16.5 B16.47
对焊端
GB/T12224
ANSI B16.25
试验和检验
GB/T9092
API6D
API598
名称
材料
阀体 /阀盖
CF8
CF3
CF8M
CF3M
WCB
LCB
WC6
WC9
C5
球体
CF8
CF3
CF8M
CF3M
WCB HCr
CF8
CF8
CF8
CF8
阀杆
F304
F304L
F316
F316L
2C13
F304
F304
F304
F304
阀座
PTFE/PPL
填料 /垫片
PTFE/PPL
石墨
螺栓
不锈钢
35CrMoA
螺母
不锈钢
45、35CrMoA
手柄
铸钢
压力等级
试验压力(Mpa)
公称压力(PN)
磅级(class)
壳体试验
密封试验
1.0
-
1.5
1.1
1.6
-
2.5
1.76
2.5
-
3.8
2.75
4.0
-
6.0
4.4
6.4
-
9.6
7.04
-
150
3.0
2.2
-
300
7.6
5.6
-
600
15.0
11.0
-
10K
2.4
1.5
-
20K
5.8
4.0
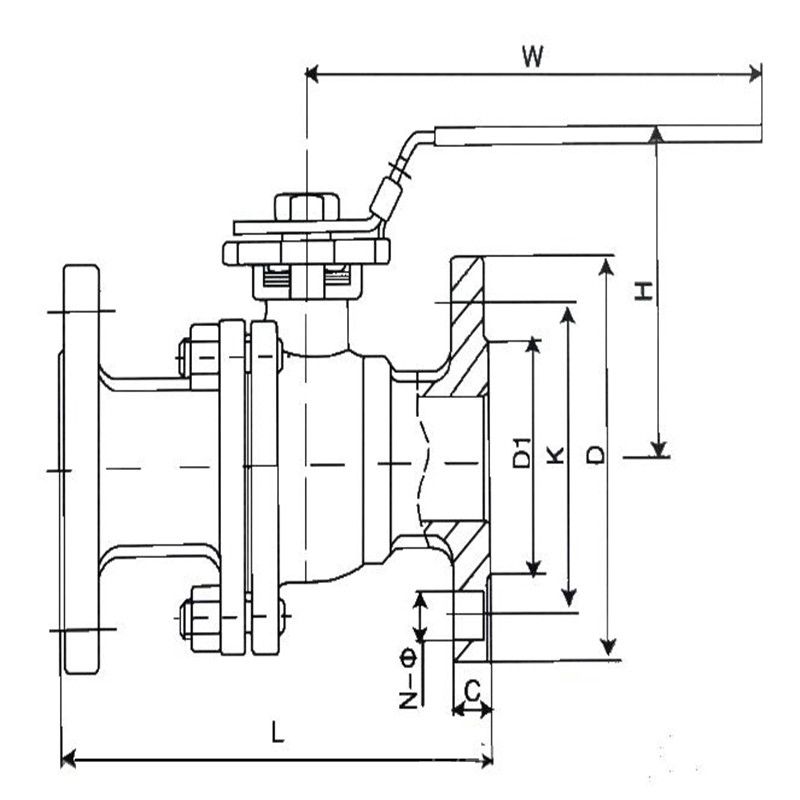
型号 公称通径 DN 尺寸(mm) L D D1 D2 H b-f Z-Φd Do Q41F-16P(R) 15 130 95 65 45 60 14-2 4-14 108 20 140 105 75 55 64 14-2 4-14 120 25 150 115 85 65 90 16-2 4-14 165 32 165 135 100 78 105 16-2 4-18 180 40 180 145 110 85 150 16-3 4-18 240 50 200 160 125 100 190 16-3 4-18 240 65 220 180 145 120 195 18-3 4-18 320 80 250 195 160 135 215 20-3 8-18 350 100 280 215 180 155 250 20-3 8-18 400 125 320 245 210 185 280 22-3 8-18 500 150 360 280 240 210 320 24-3 8-23 600 200 400 335 295 265 370 26-3 12-23 800 Q41F-25P(R) 40 180 145 110 85 160 16-3 4-18 240 50 200 160 125 100 205 20-3 4-18 270 65 220 180 145 120 215 22-3 8-18 350 80 250 195 160 135 230 22-3 8-18 400 100 280 230 190 160 270 24-3 8-23 500 125 320 270 220 188 300 28-3 8-25 600 150 360 300 250 218 340 30-3 8-25 900 200 400 360 310 278 400 34-3 12-25 1100 Q41F-40P(R) 15 130 95 65 45 60 16-2 4-14 40 20 140 105 75 55 65 16-2 4-14 51 25 150 115 85 65 90 18-2 4-14 58 32 180 135 100 78 105 18-3 4-18 66 40 200 145 110 85 170 18-3 4-18 76 50 220 160 125 100 230 20-3 4-18 88 65 250 180 145 120 250 22-3 8-18 110 80 280 195 160 135 250 22-3 8-18 121 100 320 230 190 160 295 24-3 8-23 150 125 400 270 220 188 330 28-3 8-25 176 150 400 300 250 218 375 30-3 8-25 204 200 550 375 320 282 440 38-3 12-30 260

316L不锈钢耐腐蚀球阀安装维护
不锈钢法兰球阀的关闭件是个带孔的球体(或部分球),球体随阀杆转动,实现阀门的开启或关闭。球阀在管路中主要用来做切断、分配和改变介质的流动方向。法兰球阀的球体是浮动的,在介质压力作用下,球体产生一定的位移并紧压在出口端的密封面上,保证出口端密封。在各种阀门中,球阀的流动阻力较小,球阀打开时,球体通道、阀体通道和连接管径相等并成一直径,介质几乎可以毫无损失的流过。阀座密封有软密封和硬密封可选。法兰球阀可做高平台设计,采用阀门驱动装置标准的设计,不需要支架和轴承连接,执行器安装起来简单方便。阀体设计铸造采用的是硅溶胶,铸造起来外表美观。

一、确认在安装前的准备工作
1、保证安装位置管线在同轴位置上,管线上两片法兰应保持平行,确认管线能够承受球阀自身重量,如果发现管线不能承受球阀重量,则在安装前为管线配备相应的支撑。
2、确认管线内是否有杂质、焊渣等,必须要把管线内吹扫干净。
3、核对球阀铭牌,并对球阀进行全开全闭数次操作,确认阀门能够正常工作,再全面检查一次阀门的各个细节,保证完好无损。
4、除去阀门两端的保护盖,检查阀体内是否干净,清洗阀体内腔,由于球阀的密封面是球形状,即使微小的杂物也可能造成密封面的损伤。
二、球阀的安装
1、的任何一段都可安装在上游端,手柄球阀可以安装在管线的任何位置,如果配置执行机构(如齿轮箱、电-气动执行器)的球阀,则必须垂直安装,阀门进出口处在水平位置上。
2、球阀法兰与管线法兰间按管路设计要求装上密封垫。
3、法兰上的螺栓需对称、逐次、均匀拧紧。
4、如果球阀采取气动、电动等执行器时,按说明书完成气源、电源的安装。
三、球阀安装后的检查
1、安装完毕后,启动球开、关数次,应该动作灵活,受力均匀,球阀工作正常。
2、根据管道压力设计要求,通压后检测球阀与管道法兰结合面的密封性能。

四、球阀的维修
1、只有卸除前后的压力,才能对球阀进行拆卸分解操作。
2、在对球阀的分解与再装配过程,需要对有密封性零部件的保护,特别是非金属零部件,像O型圈等部件*好使用专用的工具。
3、球阀阀体重新装配时螺栓必须对称、逐步、均匀地拧紧。
4、清洗剂应与中的橡胶件、塑料件、金属件及工作介质(例如燃气)等均相容。工作介质为燃气时,可用汽油(GB484-89)清洗金属零件。非金属零件用纯净水或酒精清洗。
5、分解下来的单个零件可以用浸洗方式清洗。尚留有未分解下来的非金属件的金属件可采用干净的细洁的浸渍有清洗剂的绸布(为避免纤维脱落粘附在零件上)擦洗。清洗时须去除一切粘附在壁面上的油脂、污垢、积胶、灰尘等。
6、非金属零件清洗后应立即从清洗剂中取出,不得长时间浸泡。
7、清洗后需待被洗壁面清洗剂挥发后(可用未浸清洗剂的绸布擦)进行装配,但不得长时间搁置,否则会生锈、被灰尘污染。
8、新零件在装配前也需清洗干净。
9、使用润滑脂润滑。润滑脂应与球阀金属材料、橡胶件、塑料件及工作介质均相容。工作介质为燃气时,可用例如特221润滑脂。在密封件安装槽的表面上涂一薄层润滑脂,在橡胶密封件上涂一薄层润滑脂,阀杆的密封面及摩擦面上涂一薄层润滑脂。
10、装配时应不允许有金属碎屑、纤维、油脂(规定使用的除外)灰尘及其它杂质、异物等污染、粘附或停留在零件表面上或进入内腔。

订货须知:一、①产品名称与型号②口径③是否带附件以便我们的为您正确选型④的使用压力⑤的使用介质的温度。
二、若已经由设计单位选定公司的型号,请按型号直接向我司销售部订购。
三、当使用的场合非常重要或环境比较复杂时,请您尽量提供设计图纸和详细参数,由我们的阀门公司专家为您审核把关。如有疑问:请:我们一定会尽心尽力为您提供优质的服务。提供全面、阀门系统解决方案",也十分愿意帮助用户解决生产中所遇到的难题。 -
联系方式
- 联系人:申弘阀门
- 电 话:021-59260058
- 手 机:15901754341
- 传 真:86-021-31662735
- 邮 箱:494522509@qq.com
- 邮 编:201718
- 地 址:上海市青浦区金泽工业园区
- 网 址: https://bengye.cn.goepe.com/
http://www.021-fm.com
-
产品搜索







