-
WCB铸钢球阀申弘
详细信息| 询价留言WCB铸钢球阀简介
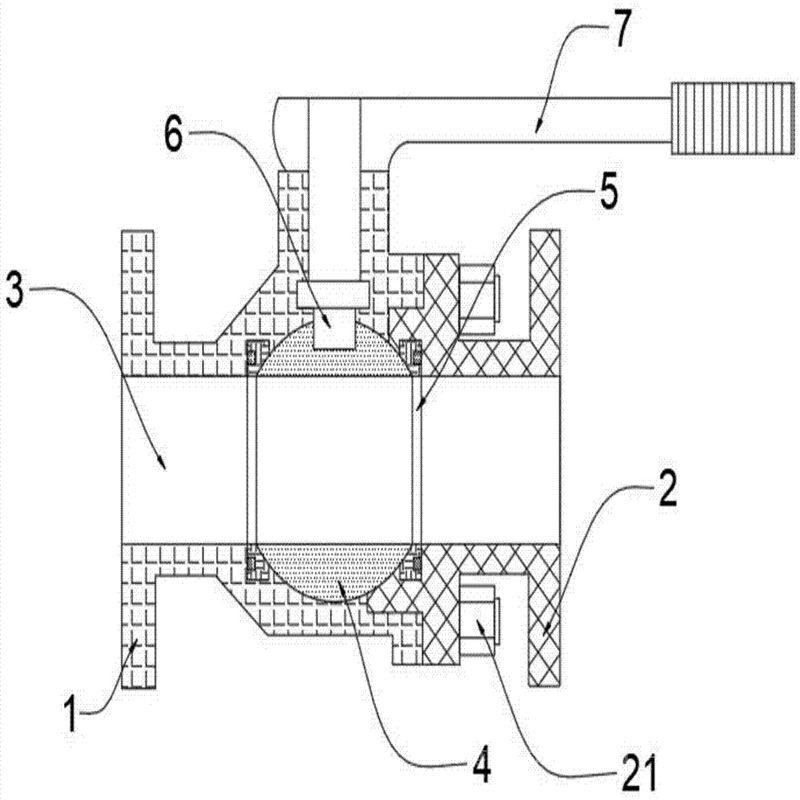
本实用新型属于阀门技术领域,具体涉及一种浮动球阀。浮动球阀是通过阀芯在介质压力的作用下产生一定的位移从而压紧在出口端的密封面上进行密封,由于浮动球阀通常应用的范围多为中低压,阀杆采用的安装方式制约了浮动球阀的使用范围,如果应用于高压介质中,往往会存在阀杆被顶出的技术问题,如何实现浮动球阀在原有的密封性能不变的情况下,能够应用于高压介质的开启和闭合是本申请所要解决的技术问题。

本实用新型的主要目的在于提供一种结构设计合理、密封性能好,能够适用于高压介质的浮动球阀。与其它阀类相比,球阀具优点
1、流体阻力小,球阀是所有阀类中流体阻力*小的一种,即使是缩径球阀,其流体阻力也相当小。
2、开关迅速、方便,只要阀杆转动90°,球阀就完成了全开或全关动作,很容易实现快速启闭。
3、密封性能好。球阀阀座密封圈一般采用聚四氟乙烯等弹性材料制造,易于保证密封,而且球阀的密封力随着介质压力的增加而增大。
4、阀杆密封可靠。球阀启闭时阀杆只作旋转运动,因此阀杆的填料密封不易被破坏,而且阀杆倒密封的密封力随着介质压力的增加而增大。
5、球阀的启闭只做90°转动,故容易实现自动化控制和远距离控制,球阀可配置气动装置、电动装置、液动装置、气液联动装置或电液联动装置。
6、球阀通道平整光滑,不易沉积介质,可以进行管线通球。

为达到以上目的,本实用新型采用的技术方案为:
—种浮动球阀,包括阀体、与阀体匹配密封扣合固定的阀盖、和设置在阀体与阀盖之间的阀芯,所述的阀体上部设置有阀杆安装孔,所述的阀杆安装孔内匹配设置有阀杆,且在阀杆安装孔顶部设置有密封盖,所述的阀杆包括上阀杆和下阀杆,所述的下阀杆上部设有十字连接板,所述的上阀杆底部开设有与十字连接板对应的十字连接孔,所述的下阀杆上设置有环形*限位凸台,所述的环形*限位凸台上表面和下阀杆外壁均与阀杆安装孔内壁贴合;所述的上阀杆上设置有环形第二限位凸台,上阀杆与阀杆安装孔内壁之间设置有密封填料,且所述的密封填料匹配压设在密封盖与第二限位凸台之间。

本实用新型结构设计合理,针对传统的阀杆安装方式和阀杆结构进行改进,通过将阀杆结构设计为拼装式,由下阀杆进行受压,上阀杆完成对阀门的控制,从而大大减小了密封盖所受到的介质压力的影响,大大提高了整个阀门的密封性能,延长了整个阀门的使用寿命,通过对力的分解,提高了浮动球阀的应用领域和性能。
本实用新型通过将阀杆结构设计为拼装式,由下阀杆进行受压,上阀杆完成对阀门的控制,从而大大减小了密封盖所受到的介质压力的影响,大大提高了整个阀门的密封性能,延长了整个阀门的使用寿命,通过对力的分解,提高了浮动球阀的应用领域和性能。
以上显示和描述了本实用新型的基本原理、主要特征和本实用新型的优点。本行业的技术人员应该了解,本实用新型不受上述实施例的限制,上述实施例和说明书中描述的只是本实用新型的原理,在不脱离本实用新型精神和范围的前提下本实用新型还会有各种变化和改进,这些变化和改进都落入要求保护的本实用新型的范围内。本实用新型要求的保护范围由所附的权利要求书及其等同物界定。

用于截断或接通管路中的介质,选用不同的材质,可分别适用于水、蒸汽、油品、液化气、天然气、煤气、硝酸、醋酸、氧化性介质、尿素等多种介质。不仅结构简单、密封性能好,而且在一定的公称通经范围内体积较小、重量轻、材料耗用少、安装尺寸小,并且驱动力矩小,操作简便、易实现快速启闭,球阀是近十几年来发展*快的阀门品种之一。试验项目
壳体试验
密封试验
上密封试验
气密封试验
介质
水
气
单位
MPa
MPa
MPa
MPa
公称压力PN(MPa)
1.6
2.4
1 8
1 8
0.5-0.7
2.5
3.8
2.8
2.8
4.0
6.0
4.4
4.4
6.4
9.6
7.0
7.0
10.0
15.0
11.0
11.0
16.0
24.0
18.0
18.0
WCB铸钢球阀主要零件材料:
名称
材料
阀体 /阀盖
CF8
CF3
CF8M
CF3M
WCB
LCB
WC6
WC9
C5
球体
CF8
CF3
CF8M
CF3M
WCB HCr
CF8
CF8
CF8
CF8
阀杆
F304
F304L
F316
F316L
2C13
F304
F304
F304
F304
阀座
PTFE/PPL
填料 /垫片
PTFE/PPL
石墨
螺栓
不锈钢
35CrMoA
螺母
不锈钢
45、35CrMoA
手柄
铸钢
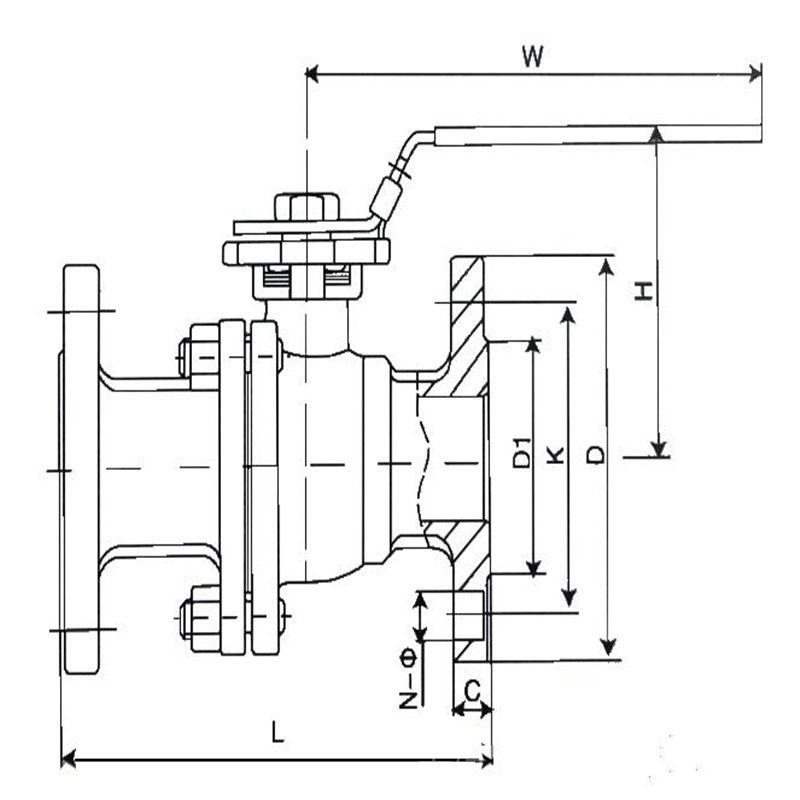
1.6MPa主要连接尺寸:
型号
公称通径 DN(mm)
尺寸(mm)
L
D
D1
D2
b-f
z-Φd
H
W
Q41F-16C
Q341F-16C
Q641F-16C
Q941F-16C15
130
95
65
45
14-2
4-Φ14
65
115
20
140
105
75
55
14-2
4-Φ14
75
130
25
150
115
85
65
14-2
4-Φ14
85
150
32
165
135
100
78
16-2
4-Φ18
95
190
40
180
145
110
85
16-3
4-Φ18
105
230
50
200
160
125
100
16-3
4-Φ18
115
240
65
220
180
145
120
18-3
4-Φ18
145
280
80
250
195
160
135
20-3
8-Φ18
160
310
100
280
215
180
155
20-3
8-Φ18
185
330
125
320
245
210
185
22-3
8-Φ18
215
600
150
360
280
240
210
24-3
8-中23
245
800
200
400
335
295
265
26-3
12-Φ23
300
1000
250
450
405
355
320
30-3
12-Φ25
380
1200
2.5MPa主要连接尺寸:
型号
公称通径 DN(mm)
尺寸(mm)
L
D
D1
D2
b-f
z-Φd
H
W
Q41F-25C
Q341F-25C
Q641F-25C
Q941F-25C15
130
95
65
45
14-2
4-Φ14
65
115
20
140
105
75
55
14-2
4-Φ14
75
130
25
150
115
85
65
14-2
4-Φ14
85
150
32
165
135
100
78
16-2
4-Φ18
95
190
40
180
145
110
85
18-3
4-Φ18
105
230
50
200
160
125
100
20-3
4-Φ18
115
240
65
220
180
145
120
22-3
8-Φ18
145
280
80
250
195
160
135
22-3
8-Φ18
160
310
100
280
230
190
160
24-3
8-Φ23
185
330
125
320
270
220
188
28-3
8-Φ25
215
600
150
360
300
250
218
30-3
8-Φ25
245
800
200
400
360
310
278
34-3
12-Φ25
300
1000
250
450
425
370
332
36-3
12-Φ30
380
1200
4.0MPa主要连接尺寸:
型号
公称通径 DN(mm)
尺寸 (mm)
L
D
D1
D2
D6
b-f
z-Φd
H
W
Q41F-40C
Q341F-40C
Q641F-40C
Q941F-40C15
130
95
65
45
40
16-2
4-Φ14
70
115
20
140
105
75
55
51
16-2
4-Φ14
80
130
25
150
115
85
65
58
16-2
4-Φ14
90
150
32
180
135
100
78
66
18-3
4-Φ18
100
190
40
200
145
110
85
76
18-3
4-Φ18
110
230
50
220
160
125
100
88
20-3
4-Φ18
120
240
65
250
180
145
120
110
22-3
8-Φ18
150
280
80
280
195
160
135
121
22-3
8-Φ18
170
310
100
320
230
190
160
150
24-3
8-Φ23
190
330
125
360
270
220
188
176
28-3
8-Φ25
220
600
150
400
300
250
218
204
30-3
8-Φ25
250
800
200
550
375
320
282
260
38-3
12-Φ30
390
1200
6.4MPa主要连接尺寸:
型号 Type
公称通径 DN(mm)
尺寸(mm)
L
D
D1
D2
D6
b-f
z-Φd
H
W
Q41F-64C
Q341F-64C
Q641F-64C
Q941F-64C15
140
105
75
55
40
18-2
4-Φ14
75
115
20
160
125
90
68
51
20-2
4-Φ18
85
130
25
180
135
100
78
58
22-2
4-Φ18
95
150
32
200
150
110
82
66
24-2
4-Φ23
105
190
40
220
165
125
95
76
24-3
4-Φ23
120
230
50
250
175
135
105
88
26-3
4-Φ23
130
240
65
280
200
160
130
110
28-3
8-Φ23
160
280
80
320
210
170
140
121
30-3
8-Φ23
180
310
100
360
250
200
168
150
32-3
8-Φ25
200
330
125
381
295
240
202
176
36-3
8-Φ30
230
600
150
403
340
280
240
204
38-3
8-Φ34
260
800
200
502
405
345
300
260
44-3
12-Φ34
400
1200

WCB铸钢球阀安装维护
一种浮动球阀,包括阀体、与阀体匹配密封扣合固定的阀盖、和设置在阀体与阀盖之间的阀芯,所述的阀体上部设置有阀杆安装孔,所述的阀杆安装孔内匹配设置有阀杆,且在阀杆安装孔顶部设置有密封盖,其特征在于:所述的阀杆包括上阀杆和下阀杆,所述的下阀杆上部设有十字连接板,所述的上阀杆底部开设有与十字连接板对应的十字连接孔,所述的下阀杆上设置有环形*限位凸台,所述的环形*限位凸台和下阀杆外壁均与阀杆安装孔内壁贴合;所述的上阀杆上设置有环形第二限位凸台,上阀杆与阀杆安装孔内壁之间设置有密封填料,且所述的密封填料匹配压设在密封盖与第二限位凸台之间。

1、在不锈钢自保持球阀完全打开的状态下冲洗干净;
2、自保持球阀与管道连接后,必须用规定的扭矩交叉锁紧法兰连接螺栓;
3、在不锈钢法兰球阀在与管道连接前,必须要清除干净管道中残存的杂质;
4、在安装期间,不可用球阀的执行机构部分作为起重的吊装点,以避免损坏执行机构及附件;
5、铸钢法兰球阀应安装在管道的水平方向或垂直方向;
6、铸钢球阀安装点附近的管道不能用低垂或者承受外力的现象,可以用管道支架或者支撑物来消除管线的偏离;
7、安装球阀前应按规定的信号还应进行整机测试,合格后才可以上线安装。
本实用新型属于阀门技术领域。一种浮动球阀,包括阀体、与阀体匹配密封扣合固定的阀盖、和设置在阀体与阀盖之间的阀芯,所述的阀体上部设置有阀杆安装孔,所述的阀杆安装孔内匹配设置有阀杆,且在阀杆安装孔顶部设置有密封盖,所述的阀杆包括上阀杆和下阀杆,所述的下阀杆上部设有十字连接板,所述的上阀杆底部开设有与十字连接板对应的十字连接孔,所述的下阀杆上设置有环形*限位凸台,所述的上阀杆上设置有环形第二限位凸台,上阀杆与阀杆安装孔内壁之间设置有密封填料。本实用新型大大减小了密封盖所受到的介质压力的影响,大大提高了整个阀门的密封性能,延长了整个阀门的使用寿命,通过对力的分解,提高了浮动球阀的应用领域和性能。

订货须知:一、①产品名称与型号②口径③是否带附件以便我们的为您正确选型④的使用压力⑤的使用介质的温度。
二、若已经由设计单位选定公司的型号,请按型号直接向我司销售部订购。
三、当使用的场合非常重要或环境比较复杂时,请您尽量提供设计图纸和详细参数,由我们的阀门公司专家为您审核把关。如有疑问:请:我们一定会尽心尽力为您提供优质的服务。提供全面、阀门系统解决方案",也十分愿意帮助用户解决生产中所遇到的难题。 -
联系方式
- 联系人:申弘阀门
- 电 话:021-59260058
- 手 机:15901754341
- 传 真:86-021-31662735
- 邮 箱:494522509@qq.com
- 邮 编:201718
- 地 址:上海市青浦区金泽工业园区
- 网 址: https://bengye.cn.goepe.com/
http://www.021-fm.com
-
产品搜索







