-
U641SM气动柱塞阀申弘
详细信息| 询价留言U641SM气动柱塞阀简介
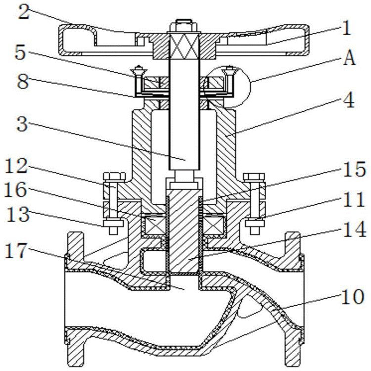
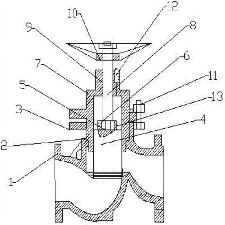
气动柱塞阀,包括阀体,阀体上设有阀门,阀体内设有阀芯,阀芯包括固定阀芯和活动阀芯,固定阀芯设置在阀体的一端,活动阀芯为环形空心结构且与气缸连接,在气缸的作用下活动阀芯可移动使阀门打开或关闭。本实用新型活动阀芯为空心结构,大幅度减轻了阀芯的重量,当阀门关闭时,气缸只需要克服介质施加在活动阀芯环形截面上的阻力,因此气缸的缸径可以大幅度减小,从而使阀门整体体积大为减小,反应时间变短,且结构简单,成本低。

随着工业自动化技术的发展,需要一些设备能适应该发展的要求,流体压力的远距离自动控制,就是需要解决的问题之一。目前,现有的流体压力的远距离自动控制,采用气动控制的较少,同时,现有气动控制阀均存在气缸体积过大,气动控制力不足,阀门通径小,反应时间过长,价格过高等问题,制约着气动控制阀的发展和应用。
U641SM气动柱塞阀产品特点:
1、开关柱塞阀时,柱塞在密封圈中缓慢移动,接触面几乎不磨损。
2、密封环采用弹性强、耐磨性高的无毒新型密封材料,所以密封可靠,经久耐用。
3、在阀门中柱塞与密封环间采用过盈配合,从而保证了阀门的密封性,杜绝了内外泄漏。
4、关闭时,柱塞插入下密封圈,截断流道;开启时,柱塞虽然脱离下密封圈,但仍藏在上密封圈内,保持与外界隔离,不致发生泄漏。

本实用新型的特点还在于:
固定阀芯的两端通过一根阀柱连接,固定阀芯的一端固定在阀体上,另一端套接于活动阀芯内。活动阀芯与气缸通过法兰连接,连接处设有通气孔。固定阀芯与阀体之间设有O型密封圈,固定阀芯与活动阀芯之间设有Yx型密封圈。活动阀芯外部侧壁与阀体内部侧壁之间设有Yx型密封圈,活动阀芯端部与阀体内壁之间设有O型密封圈。
本实用新型具有如下有益效果:
1、本实用新型活动阀芯为空心结构,大幅度减轻了阀芯的重量,当阀门关闭时,气缸只需要克服介质施加在活动阀芯环形截面上的阻力,因此气缸的缸径可以大幅度减小,
2、本实用新型结构简单,成本低。

U641SM气动柱塞阀主要参数
设计与制造 GB/T12235 连接端尺寸 结构长度 GB/T12221 法兰尺寸 JB/T79 检验与试验 JB/T9092 材 料 碳钢 GB/T12229 不锈钢 GB/T12230 合金钢 Q/ZB66 标 志 GB/T12220 供 货 JB/T7928 阀体
阀盖
阀瓣
密封圈
阀杆
填料
适用介质
适用温度
(≤℃)WCB
WCB+D507MO
D577
2Crl3
柔性石墨
水、油品、蒸汽
425
ZGlCrl8Ni9Ti
0Crl8Ni9Ti
Stellite12Stellite6
lCrl8Ni9Ti
PTFE
硝酸类
200
ZGlCrl8Ni2Mo2Ti
CF8M
Stellite12lCrl8Ni2Mo2Ti
lCrl8Ni2Mo2Ti
PTFE
磷酸类、
碱类、混酸200
ZG00Crl7Nil4M02
CF3M
Stellite12Stel1ite6
316L
PTFE
磷酸类、
尿素、甲铵液200
ZGlCr5MO
ZGlCr5MO
Stellite12Stel1ite6
25Cr2Mo1VA
柔性石墨
水、油品、蒸汽
550
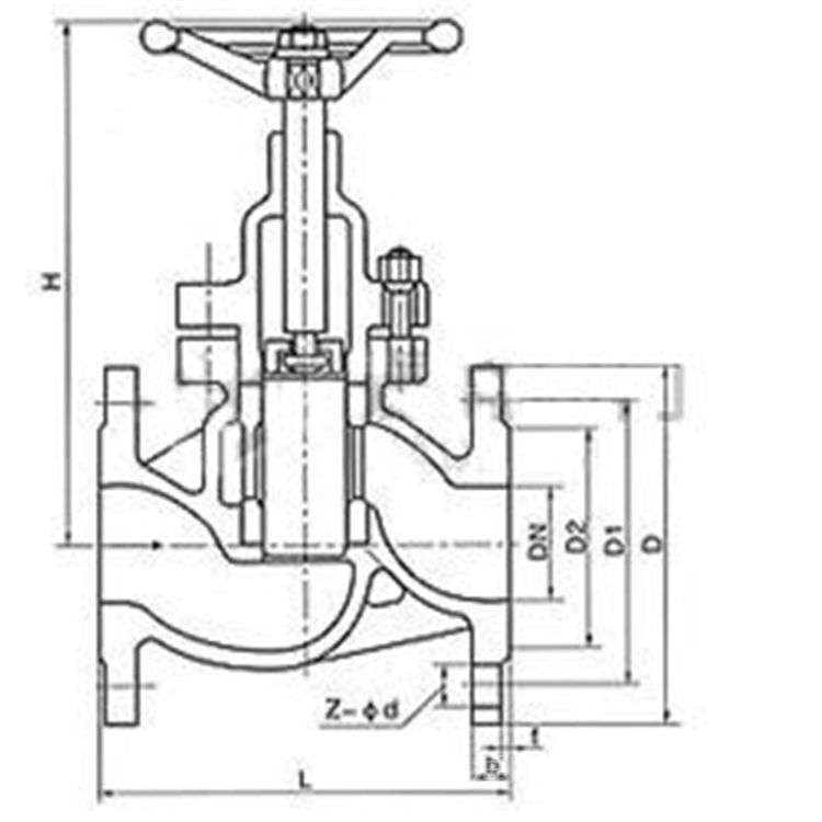
U641SM气动柱塞阀连接尺寸:
1.6MPa U41SM-16Z U41SM-16C U41SM-16P/R
公称通径 DN(mm)
15
20
25
32
40
50
65
80
100
125
150
200
250
300
350
主要外
形尺寸
及连接
尺寸
(mm)L
130
150
160
180
200
230
290
310
350
400
480
600
650
698
787
D
95
105
115
135
145
160
180
195
215
245
280
335
405
460
520
D1
65
75
85
100
110
125
145
160
180
210
240
295
355
410
470
D2
45
55
65
78
85
100
120
135
155
185
210
265
320
375
435
b
14
14
14
16
16
16
18
20
20
22
24
26
30
30
34
Z-φd
4-φ14
4-φ14
4-φ14
4-φ18
4-φ18
4-φ18
8-φ18
8-φ18
8-φ18
8-φ18
8-φ23
12-φ23
12-φ25
12-φ25
16-φ25
H
133
140
165
180
200
226
267
300
340
388
410
498
580
985
110
重量
kg
3.6
4.5
6
8.8
12
16
22
30
42
62
88
155
240
330
540
2.5MPa U41SM-25 U41SM-25P U41SM-25R
公称通径 DN(mm)
l 15
20
25
32
40
50
65
80
100
125
150
200
250
300
350
主要
外形
尺寸
及连
接尺寸
(mm)L
130
150
160
180
200
230
290
310
350
400
480
600
650
698
787
D
95
105
115
135
145
160
180
195
230
270
300
360
425
485
550
D1
65
75
85
100
110
125
145
160
190
220
250
310
370
430
490
D2
45
55
65
78
85
100
120
135
160
188
218
278
332
390
448
b
16
16
16
18
18
20
22
22
24
28
30
34
36
40
44
Z-φd
4-φ14
4-φ14
4-φ14
4-φ18
4-φ18
4-φ18
8-φ18
8-φ18
8-φ23
8-φ25
8-φ25
12-φ25
12-φ30
16-φ30
16-φ34
H
133
140
165
180
200
230
230
300
340
388
410
498
580
1000
1130
重量
kg
3.6
4 5
6
8.8
12
16
22
32
42
70
95
180
260
350
570
4.0MPa U41SM-40 U41SM-40P U41SM-40R
公称通径DN(mm)
15
20
25
32
40
50
65
80
100
125
150
200
250
300
350
主要
形尺
及连接尺寸
(mm)L
130
150
160
180
200
230
290
310
350
400
480
600
650
698
787
D
95
105
115
135
145
160
180
195
230
270
300
375
445
510
570
D1
65
75
85
100
110
125
145
160
190
220
250
320
385
450
515
D2
45
55
65
78
85
100
120
135
160
188
218
282
345
408
465
D6
40
51
58
66
76
88
110
121
150
176
204
260
313
364
422
b
16
16
16
18
18
20
22
22
24
28
30
32
42
46
52
Z-φd
4-φ14
4-φ14
4-φ14
4-φ18
4-φ18
4-φ18
8-φ18
8-φ18
8-φ23
8-φ25
8-φ25
12-φ30
12-φ34
16-φ34
16-φ34
H
133
140
165
180
200
230
267
300
340
388
410
498
580
1000
1130
重量
kg
3.6
4.5
6
8.8
12
16
22
32
42
70
95
180
260
480
690

本实用新型的目的是提供一种气动柱塞阀,解决了现有技术中存在的气缸体积过大,反应时间过长的问题。本实用新型的技术方案是,气动柱塞阀,包括阀体,阀体上设有阀门,阀体内设有阀芯,阀芯包括固定阀芯和活动阀芯,固定阀芯设置在阀体的一端,活动阀芯为环形空心结构且与气缸连接,在气缸的作用下活动阀芯可移动使阀门打开或关闭。当本气动柱塞阀和管道法兰连接后,O型密封圈被压紧,可防止介质泄露。本实用新型的活动阀芯为空心结构,当阀门关闭时,气缸4只需要克服介质施加在活动阀芯环形截面上的阻力,所以气缸的缸径可以大大减小,使阀门整体体积大为减小,重量变得更轻。利用上腔进气或者下腔进气来远距离控制阀门,操作方便、灵活。气缸使用介质:压缩空气,氮气。气动柱塞截止阀结构简单、制造和维护方便;工作行程小,启闭时间短;关闭体(阀瓣)与阀座密封面采用锥面密封,关闭力小,耐冲刷,密封可靠。气动截止阀阀座可为更换式阀座,可任意组合与关闭件密封面材料的配对,以满足工况要求,延长使用寿命。

U641SM气动柱塞阀安装和维修:
1、柱塞阀出厂前均按ZBJ16006进行试验、验收、使用时只需将外表及孔腔清洗干净,不必拆洗和更换。
2、本柱塞阀可在任意位置安装,介质流动方向见阀体一箭头所示。
3、经过一段时间的使用密封环如有磨损及渗漏必须先将阀门关闭后,再将中法兰螺栓均匀地略加旋紧以至不渗漏即可同时更换时应防止柱塞和新装密封环裂痕和碰伤。
4、在短时间内,冷热交替温差较大的管道中,柱塞阀不能使用。

订货须知:一、①产品名称与型号②口径③是否带附件以便我们的为您正确选型④的使用压力⑤的使用介质的温度。
二、若已经由设计单位选定公司的型号,请按型号直接向我司销售部订购。三、当使用的场合非常重要或环境比较复杂时,请您尽量提供设计图纸和详细参数,由我们的阀门公司专家为您审核把关。如有疑问:请:我们一定会尽心尽力为您提供优质的服务。提供全面、“阀门系统解决方案",也十分愿意帮助用户解决生产中所遇到的难题。
-
联系方式
- 联系人:申弘阀门
- 电 话:021-59260058
- 手 机:15901754341
- 传 真:86-021-31662735
- 邮 箱:494522509@qq.com
- 邮 编:201718
- 地 址:上海市青浦区金泽工业园区
- 网 址: https://bengye.cn.goepe.com/
http://www.021-fm.com
-
产品搜索





