-
H44J旋启式衬胶止回阀申弘
详细信息| 询价留言H44J旋启式衬胶止回阀产品说明
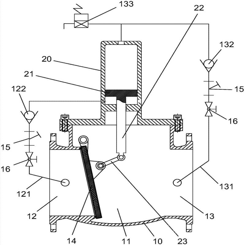
“衬里旋启式止回阀”的 旋启式止回阀的结构。但该结构主要是在阀体内内衬氟塑料,其结构繁琐 制造工艺复杂,和现有所有旋启式止回阀的结构一样,阀瓣运动的铰链机构结构都不合 理、较复杂、易锈死。因此,现有的旋启式止回阀的结构有很多需要改进的地方。另 外现有的阀瓣结构是铁为主体,然后在主体上镶嵌或皮革、或橡胶、或铜圈等合成覆盖 面,制成阀瓣。在阀体密封口一般镶嵌铜质密封口实现密封,这种结构不仅工艺繁琐, 且往往因镶嵌材料易脱落,阀门失效。本实用新型所要解决的技术问题是针对现有技术中存在的问题提供一种制造工 艺简单,动作性能可靠,密封性能良好,使用寿命长的包胶旋启式止回阀。

本实用新型的技术方案是一种包胶旋启式止回阀,包括阀体、阀瓣、铰链系 统、连杆、阀盖、密封圈,其特征在于阀瓣由阀芯包胶形成密封面,紧靠阀体密封 面,阀瓣头部通过螺栓和连杆连接,连杆另一端通过铰链系统组装在阀体上。阀瓣和连 杆固定连接,连杆和铰链系统连接在阀体内。
进一步的技术方案还包括所述铰链系统由轴承、轴、密封螺栓、塑料密封圈、连杆组成,固定在阀体 上,阀体内有两个凸台部分,一个设有通到阀体外面的通孔,另一个设有一盲孔(和阀 体外不通),两孔的轴线在同一条直线上且孔径相同,用于安装轴,所述通孔靠阀体外 侧有一标准螺纹孔用于安装密封螺栓。阀体密封面车加工阀体制成,阀瓣头部通过螺栓 和连杆连接,连杆另一端安装轴承和轴配合组装在阀体上(铰链系统),在阀体上轴的 安装孔的轴线和阀体密封面的平面平行并应尽可能靠近该平面内(不得超过士2mm), 阀体内有足够的空间保证不干涉阀瓣旋转和开启。

所述轴位于通孔的一端部分轴体直径小于孔径大小,并具有一凹槽。轴和上述 阀体上两个小孔配合(间隙配合或过渡配合)使用,轴一端有部分不和孔配合且直径较 小处有一凹槽,可利用该凹槽可将不锈钢轴从盲孔中取出。所述阀芯中心设有一不包胶的螺纹凸台,所述螺纹凸台螺纹处设有一孔,孔内安装开口销。安装的开口销用于防止配合的螺母脱落(起止退作用)。所述阀瓣密封面包胶厚度为5mm,阀瓣其余部分包胶厚度为3mm。
所述轴承材料为工程塑料,所述轴采用不锈钢材料。
并且本实用新型具有以下有益效果
1、阀瓣采用包胶,密封面不易脱落损坏,密封可靠、造价低廉。
2、铰链用不锈钢轴和塑料轴承,铰链不会锈死,阀瓣动作灵活、稳定,性能可罪。
3、该种包胶旋启式止回阀通过阀体内部结构和工艺的改进,不但减少了两个密 封口镶块(一般为铜件),其结构更加简单、可靠、合理,而且在铰链上利用轴上凹槽(加工轴时车出)可将轴从盲孔中取出,取代原先轴头攻丝,利用螺纹将轴取出。简化 了工艺,大大地降低了材料成本和制造成本。

主要性能参数:
遵循规范
STANDARD
设计与制造
GB/T 12235、GB/T12236
结构长度
GB/T 12221、JB/T 96
法兰尺寸
JB/T 78、JB/T 79
压力试验
GB/T 13927
标志
GB/T 12220
供货
GB/T 12252
三、 H44J 旋启式衬胶止回阀主要零部件材料:
名称
材料
上阀体 下阀体
灰铸铁 /硬橡胶
阀瓣
碳钢 /软橡胶
公称通径(DN)
公称压力(MPa)
工作压力(MPa)
L
D
D1
Z-Φ
B
重量(Kg)
25
1.0
1.0
160
115
85
4-14
128
4.5
32
180
135
100
4-18
150
7
40
200
145
110
4-18
160
8
50
230
160
125
4-18
178
10
65
290
180
145
4-18
204
18
80
310
195
160
4-18
230
24
100
350
215
180
8-18
255
30.5
125
400
245
210
8-18
305
47.5
150
480
280
240
8-23
345
63.5
200
0.6
500
335
295
8-23
415
96.5
250
0.4
550
390
350
12-23
495
144
300
698
440
400
12-23
540
224
摘要本实用新型公开了一种包胶旋启式止回阀,包括阀体、阀瓣、铰链系统、连杆、阀盖、密封圈、法兰孔,其特征在于阀瓣由阀芯包胶形成密封面,紧靠阀体密封面,阀瓣头部通过螺栓和连杆连接,连杆另一端通过铰链系统组装在阀体上。与现有技术相比本实用新型改进了铰链系统,并简化了阀门密封口结构,具有密封效果好且结构简单、不易锈死的优点。

本实用新型涉及一种管道介质流动控制阀门机构,尤其是涉及一种只允许介质 向一个方向流动的止回阀。
止回阀又称单向阀或逆止阀,主要用于介质单向流动的管道上,只允许介质向 一个方向流动,而且阻止反方向流动。阀的启闭件靠介质流动和力量自行开启或关闭, 以防止介质倒流的。止回阀属于自动阀类,按结构划分,可分为升降式止回阀、旋启式 止回阀和蝶式止回阀三种。三种止回阀各有优缺点,而旋启式应用较为广泛。但仍存在 不足和缺陷。

订货须知:
一、①产品名称与型号②口径③是否带附件以便我们的为您正确选型④的使用压力⑤的使用介质的温度。
二、若已经由设计单位选定公司的型号,请按型号直接向我司销售部订购。三、当使用的场合非常重要或环境比较复杂时,请您尽量提供设计图纸和详细参数,由我们的阀门公司专家为您审核把关。如有疑问:请:我们一定会尽心尽力为您提供优质的服务。提供全面、*的“阀门系统解决方案",也十分愿意帮助用户解决生产中所遇到的难题。
-
联系方式
- 联系人:申弘阀门
- 电 话:021-59260058
- 手 机:15901754341
- 传 真:86-021-31662735
- 邮 箱:494522509@qq.com
- 邮 编:201718
- 地 址:上海市青浦区金泽工业园区
- 网 址: https://bengye.cn.goepe.com/
http://www.021-fm.com
-
产品搜索






