-
DH44H旋启式低温止回阀申弘
详细信息| 询价留言DH44H旋启式低温止回阀产品说明
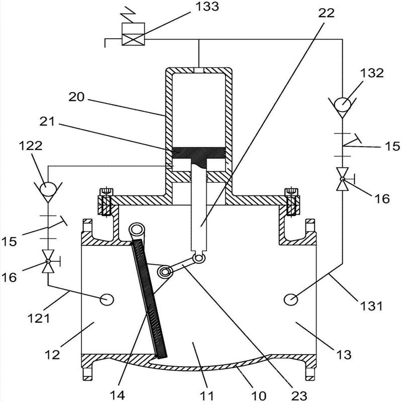
本实用新型属于阀门装置技术领域,具体涉及一种旋启式低温止回阀。本实用新型公开了一种旋启式低温止回阀,包括止回阀本体,防溢胶套和防水胶垫,所述止回阀本体的内部左侧开设有入水口,且止回阀本体的内部右侧开设有止回口,所述止回阀本体的内部中央设置有格挡槽,且格挡槽的上端安置有闭合板,所述闭合板的上端固定有活动杆,且活动杆的上端外部包裹有活动槽,所述防溢胶套嵌套于活动槽的外部,所述止回阀本体的左右两端均固定有法兰板,该旋启式低温止回阀,活动槽和活动杆的外侧与防溢胶套的内侧紧密贴合,活动槽外部包裹的防溢胶套可以很好的保护活动槽的内部不受介质的堵塞,从而使闭合板与格挡槽之间的活动更加通畅,防水胶垫与连接杆之间相互垂直.

结构与特点
1、选材考究,符合国内、外相关标准,材料的全面质量高。
2、密封副配对先进合理,阀瓣、阀座密封面采用铁基合金或司太立(Stellite)钴基硬质合金堆焊面成,耐磨、耐高温、耐腐蚀、抗擦伤性能好,使用寿命长。
3、产品按国家标准GB/T12235设计制造。
4、可采用各种配管法兰标准及法兰密封型式,满足各种工程需要及用户要求。
5、阀体材料品种齐全,垫片可根据实际工况或用户要求合理选配,能适用于各种压力、温度及介质工况。
可按用户要求设计制造不同结构形式和连接形式的止回阀,为各种设备配套使用
DH44H旋启式低温止回阀背景技术:
目前,市场上主流的低温止回阀一种是升降式结构止回阀,升降式止回阀的阀瓣位于阀体上阀座密封面上,此结构阀门除阀瓣可以自由地升降外,其余部分如同截止阀一样,流体压力使阀瓣从阀座密封面上抬出,介质回流导致阀瓣回落到阀座上,并切断流动。该结构低温止回阀在阀瓣上镶嵌橡胶垫或橡胶环的形式,以便适用于低温工况。另一种是旋启式结构止回阀,该结构有一铰链机构,阀瓣自由地靠在倾斜的阀座表面上,启闭件靠介质流动自行开启或关闭,该结构低温止回阀在阀瓣上镶嵌密封圈或O型圈来适用于低温工况。但这两种常用结构的低温止回阀主要有以下几个缺点:
1.流体通过升降式低温止回阀的通道狭窄,因此通过该结构的压力降比旋启式止回阀大;
2.升降式低温止回阀阀瓣沿着阀体垂直中心线滑动,只能安装在水平管道上,而且需要导向引导阀瓣上下滑动,加工精度要求较高;
3.旋启式低温止回阀阀瓣镶嵌O型圈或密封圈,需在阀瓣上加工O型圈槽或密封圈槽,安装O型圈或密封圈采用过盈配合,要求加工精度要求高,而且装配配合困难;阀门使用过程中过盈配合密封圈密封不稳定。

技术实现要素:
针对现有技术所存在的上述不足,本实用新型要解决的技术问题是提供一种新型的旋启式低温止回阀,它能够解决有效地提高了阀门的密封性能及使用稳定性,并且在生产过程中加工简单、装配方便。
为了解决上述技术问题,本实用新型采用如下技术方案:一种旋启式低温止回阀,包括阀体、阀瓣、阀瓣压板、密封圈、阀盖。阀体两端和上部为开口结构,介质从一端流入,另外一端流出,上部开口端口有凹槽,凹槽内安装有垫片用于密封。阀盖为圆盘带有伸出部形状,阀盖经由阀盖螺柱与阀盖螺母安装在阀体上部开口。摇杆通过销轴与阀盖伸出部铰接,摇杆可沿销轴中心在一定角度自由旋转。阀瓣为圆盘两端带有台阶结构,阀瓣直径比阀体上介质入口直径大,阀瓣包括凹止口、凸台、阀瓣凸台,阀瓣两端车加工有压板凸台和阀瓣凸台,压板凸台和阀瓣凸台前部为螺纹结构。阀瓣上车有凹止口,密封圈与阀瓣压板为环形结构,密封圈穿过压板凸台安装在阀瓣的凹止口上,阀瓣压板压在密封圈上,再由压板螺母旋进压板凸台上的螺纹,将阀瓣压板紧紧压在密封圈上使之固定在阀瓣上,阀瓣螺母将阀瓣固定在摇杆上。当介质从阀体入口端流入,在介质压力下,阀瓣旋转开启,介质顺利流出;当介质从出口端回流,在介质压力下,阀瓣旋转关闭,密封圈与阀体接触,介质回流被阻碍。
进一步地,压板螺母装配完成后,将压板螺母端面点焊,防止压板螺母松动。
进一步地,密封圈使用低温材料聚四氟乙稀制成。
进一步地,阀盖螺柱与阀盖螺母有多套,阀盖螺柱与阀盖螺母沿阀盖中心环向均匀布置。
采用上述结构后,阀门各零件结构简单,加工精度要求不高,加工难度降低,而且密封性能稳定,安装方便。
综上所述,本实用新型克服传统低温止回阀通道狭窄、压力降大、安装受限等问题。同时本实用新型加工简单、装配方便、密封性能稳定。

DH44H旋启式低温止回阀执行标准
项目 设计及制造 结构长度 法兰标准 检验和试验 标准 API 600 ANSI B16.10 ANSI B16.5 API 598 主要零件材料
零件名称 阀体、阀盖、
阀瓣、摇杆销轴、螺母 双头螺母 密封面 填料 材料 A352-LCB、A352-LC3、A351-CF8 A182-F304 Cr-Mo钢 钴基合基 聚四氟乙烯 主要性能规范
型号 公称压力PN(Lb) 常温试验压力 低温密封试验压力(MPa) 工作温度及适用介质 壳体 密封 DH44Y-150(Lb) 150 3.0 0.6 0.6 -46℃,氨、液氮、丙烷 -101℃乙烯、二氧化碳 -196℃甲烷、液化天然气 DH44Y-300(Lb) 300 7.5 0.6 0.6 DH44Y-600(Lb) 600 15.0 0.6 0.6 型号 公称压力
PN
(Mpa)公称通径
DN
(mm)尺寸(mm) 重量
(Kg)L D D1 D2 b Z-d D3 H DH44H-16C
DH44W-16P
DH44W-16R1.6 40 200 145 110 88 20 4-18 145 103 15.2 50 230 160 125 102 20 4-18 185 160 21.3 65 290 180 145 122 22 8-18 215 175 28.1 80 310 195 160 133 22 8-18 235 185 37.6 100 350 230 180 158 24 8-23 270 220 56.7 125 400 270 210 184 28 8-25 340 248 91 150 480 300 240 212 30 8-25 375 270 129 200 550 360 295 268 34 12-25 435 350 210 250 650 425 355 320 36 12-30 515 415 290 300 750 485 410 370 40 16-30 320 350 850 550 470 430 44 16-34 420 型号 公称压力
PN
(Mpa)公称通径
DN
(mm)尺寸(mm) 重量
(Kg)L D D1 D2 b Z-d D3 H DH44H-25C
DH44W-25P
DH44W-25R2.5 40 200 145 110 88 20 4-18 145 103 15.2 50 230 160 125 102 20 4-18 185 160 21.3 65 290 180 145 122 22 8-18 215 175 28.1 80 310 195 160 133 22 8-18 235 185 37.6 100 350 230 180 158 24 8-23 270 220 56.7 125 400 270 210 184 28 8-25 340 248 91 150 480 300 240 212 30 8-25 375 270 129 200 550 360 295 268 34 12-25 435 350 210 250 650 425 355 320 36 12-30 515 415 290 300 750 485 410 370 40 16-30 320 350 850 550 470 430 44 16-34 420 
一种旋启式低温止回阀,包括阀体、阀瓣、阀盖、密封圈。阀瓣两端车加工有压板凸台和阀瓣凸台,压板凸台和阀瓣凸台前部为螺纹结构。阀瓣上车有凹止口,密封圈与阀瓣压板为环形结构,密封圈穿过压板凸台与凹止口配合安装在阀瓣上,阀瓣压板穿过压板凸台压在密封圈上,再由压板螺母旋进压板凸台上的螺纹,将阀瓣压板紧紧压在密封圈上使之固定在阀瓣上。密封圈使用低温材料聚四氟乙稀制成。本实用新型效地提高了阀门的密封性能及使用稳定性,并且在生产过程中加工简单、装配方便。

订货须知:
一、①产品名称与型号②口径③是否带附件以便我们的为您正确选型④的使用压力⑤的使用介质的温度。
二、若已经由设计单位选定公司的型号,请按型号直接向我司销售部订购。三、当使用的场合非常重要或环境比较复杂时,请您尽量提供设计图纸和详细参数,由我们的阀门公司专家为您审核把关。如有疑问:请:我们一定会尽心尽力为您提供优质的服务。提供全面、*的“阀门系统解决方案",也十分愿意帮助用户解决生产中所遇到的难题。
-
联系方式
- 联系人:申弘阀门
- 电 话:021-59260058
- 手 机:15901754341
- 传 真:86-021-31662735
- 邮 箱:494522509@qq.com
- 邮 编:201718
- 地 址:上海市青浦区金泽工业园区
- 网 址: https://bengye.cn.goepe.com/
http://www.021-fm.com
-
产品搜索






