-
H44X塑料旋启式止回阀申弘
详细信息| 询价留言H44X塑料旋启式止回阀产品说明
本实用新型涉及止回阀,尤其涉及一种单瓣旋启式止回阀。化学性能优:本产品无毒、无味、耐酸碱、耐腐蚀,使用范围广。PPR主要用于食品、饮料、自来水、纯净水等具有卫生要求的液体管道及设备,也可用于腐蚀性小的液体管道及设备;PP、GFRPP主要用于腐蚀性较大的强酸、强碱及混合酸的液(气)体流通。

一、H44X塑料旋启式止回阀产品特点:
(1)工作压力高:各种材质在常温下工作压力分别可达1.0Mpa.
(2)使用温度广:PPR的使用温度为-20℃~+70℃;PP的使用温度为-20℃~+95℃;GFRPP的使用温度-20℃~+120℃。
(3)抗冲性能好:PPR、GFRPP具有较高的机械强度和耐冲击性。
(4)液体流动阻力小:产品内壁光滑,摩擦系数小,输送效率高。
(5)化学性能优:本产品无毒、无味、耐酸碱、耐腐蚀,使用范围广。PPR主要用于食品、饮料、自来水、纯净水等具有卫生要求的液体管道及设备,也可用于腐蚀性小的液体管道及设备;PP、GFRPP主要用于腐蚀性较大的强酸、强碱及混合酸的液(气)体流通。
(6)安装方便、密封性好:本产品质轻,采用粘接或焊接,管件齐全,施工简便,密封性好,劳动强度小

背景技术:
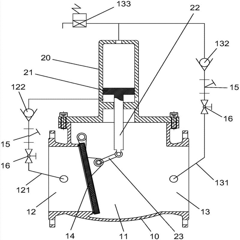
止回阀又称单向阀或逆止阀,其作用是防止管路中的介质倒流。水泵吸水管的底阀也属于止回阀类。止回阀按结构划分,可分为升降式止回阀、旋启式止回阀和蝶式止回阀三种。旋启式止回阀分为单瓣式、双瓣式和多瓣式三种。对于频繁启停以及停泵时管路有较高的回流冲击压力的渣浆泵系统来说,不仅对机械密封有破坏性的冲击力,而且很可能因转子倒转将叶轮卸下来造成事故。针对上面的问题,一些企业在管路系统中加上止回阀, 这样在停泵时,管路的回流冲击压力就不会对叶轮及机械密封造成危害。由于在管路系统中添加的止回阀为普通的止回阀,回流冲击压力仍会给管路带来危害。

H44X塑料旋启式止回阀零件材质表
NO 名称 材质 1 阀体 FRPP、PVDF 2 阀盖 FRPP、PVDF 3 活板 FRPP、PVDF 4 密封板托盘 FRPP、PVDF 5 阀杆 FRPP、PVDF 6 密封压紧 PTFE、EPDM 7 上盖密封 EPDM、FPM 8 轴心 FRPP、PVDF 9 螺帽 FRPP、PVDF 10 垫片 FRPP、PVDF 11 螺帽 不锈钢、钢 12 垫片 不锈钢、钢 13 垫片 PTFE(PVDF、FRPP) 14 螺帽 FRPP、PVDF 15 国定螺丝 FRPP、PVDF 16 固定销 FRPP、PVDF H44X塑料旋启式止回阀规格尺寸表
DN D1 D2 n-¢ L T 工作压力(Mpa) JIS DIN ANSI JIS DIN ANSI PVDF CPVC FRPP 25 90 85 80 125 4-19 4-14 4-16 160 16 0.7 0.7 0.6 40 105 110 99 140 4-19 4-18 4-16 180 18 0.7 0.7 0.6 50 120 125 120 155 4-19 4-18 4-19 200 21 0.7 0.7 0.6 65 140 145 140 175 4-19 4-18 4-19 240 23 0.7 0.7 0.6 80 150 160 152 185 8-19 8-18 4-19 260 25 0.7 0.7 0.6 100 175 180 190 210 8-19 8-18 8-19 300 26 0.5 0.5 0.5 125 210 210 216 25 8-23 8-18 8-22 350 27 0.5 0.5 0.5 150 240 240 240 280 8-23 8-23 8-22 400 27 0.5 0.5 0.4 200 290 295 298 330 12-23 8-23 8-22 500 34 0.5 0.5 0.4 注:DN32可用DN40进行改制,本厂生产的为JIS.如用其它标志,请在订货时告知。

实用新型内容本实用新型要解决的技术问题是现有的止回阀不能有效的对管路进行泄压,且阀芯容易磨损,为此提供一种能够对管路进行泄压且阀芯不易磨损的单瓣旋启式止回阀。本实用新型的技术方案是一种用于渣浆泵系统的单瓣旋启式止回阀,它包括阀板和阀芯,所述阀板上设有个通孔。上述方案中阀板上的通孔优选为4个。上述方案中所述阀芯外包围有橡胶外壳。本实用新型的有益效果是通过在阀板上设置有用于泄压的通孔来减轻管路压力,且阀芯外包围有橡胶外壳,提高了使用寿命。
H44X塑料旋启式止回阀维护、保养与安装、使用
(一)维护与保养
1该阀门应存放在干燥通风的室内,做到防潮、防雨、防锈。
2 存放月运输时启闭件应处于关闭装置,同时应做好以下工作:
a 阀瓣应固定于开启位置
b 通径两端内口用泡沫板堵塞,端口须用闷盖塞紧,予以防尘、防锈,保持通道清洁和端面的平整;
c 汽缸部位进行适当的包装防护、防震和防碰;
d 阀门放置时应平稳,气动驱动装置朝上,不得相互受挤。
3 长久放置时应定期检查。每三个月对两通道、密封面上的污垢和锈迹,焊接口的防护状况进行检查,擦拭污垢和锈迹后,重新涂刷防锈油予以防护。

订货须知:
一、①产品名称与型号②口径③是否带附件以便我们的为您正确选型④的使用压力⑤的使用介质的温度。
二、若已经由设计单位选定公司的型号,请按型号直接向我司销售部订购。三、当使用的场合非常重要或环境比较复杂时,请您尽量提供设计图纸和详细参数,由我们的阀门公司专家为您审核把关。如有疑问:请:我们一定会尽心尽力为您提供优质的服务。提供全面、*的“阀门系统解决方案",也十分愿意帮助用户解决生产中所遇到的难题。
-
联系方式
- 联系人:申弘阀门
- 电 话:021-59260058
- 手 机:15901754341
- 传 真:86-021-31662735
- 邮 箱:494522509@qq.com
- 邮 编:201718
- 地 址:上海市青浦区金泽工业园区
- 网 址: https://bengye.cn.goepe.com/
http://www.021-fm.com
-
产品搜索




