-
Z45X暗杆软密封闸阀申弘
详细信息| 询价留言Z45X暗杆软密封闸阀 产品说明
本发明涉及一种阀门,具体说是一种软密封闸阀。弹性软密封闸阀利用弹性闸板的运动方向与流体方向相垂直,所以软密封闸板只能做全开和全关,不能作为调节和节流。软密封闸阀利用闸板整体包胶产生变形补偿作用达到良好的密封效果,克服了一般闸板密封不良、漏水和生锈的现象。该闸阀具有安装迅速,维护方便,使用寿命长,不易产生水锤等特点。弹性软密封闸阀底部采用与水管相同的平底设计,不易造成杂物淤积,使流体畅通无阻。

背景技术:
软密封闸阀是二十世纪九十年代诞生的新兴阀门之一,它一面世就以卓越的使用效果,备受人们的欢迎,但是老式软密封存在以下弊端:一是结构设计不合理,用传统的方式固定阀杆需要缠绕石棉填料密封,这样既增加成本,又加大了摩擦力矩,启闭扭力也随之增大,而且组装困难,工艺繁琐;二是阀杆螺母与阀板组合包覆橡胶,增加了硫化的难度,且加工时难于控制同心度;三是更换填料频繁,增加修理费用;四是关闭扭力过大易使橡胶闸板挤压变形,为确保阀门有效密封,在关闭阀门时,操作人员往往施加较大的扭矩到手轮或以电动、气动、液动等执行机构关闭阀门时,其扭矩值的可控性受到人为因素、执行机构灵敏度精度及相关动力源的影响,致使扭矩值大小不定,也就使橡胶闸板的挤压变形难以控制,从而降低橡胶闸板的使用寿命,严重时会使橡胶闸板破裂、阀门损坏。

Z45X暗杆软密封闸阀技术实现要素:
为解决上述问题,本发明的目的是提供一种软密封闸阀。 暗杆软密封弹性闸阀适用于液体和气体介质管路和设备,作为截断和调节介质的作用。手轮顺时针为关,逆时针为开,不允许借助任何杠杆。
性能特点
1、不易碎裂,以往传统铸铁软密封闸阀常原因外物击中,碰撞或重叠而造成断裂等现象。由于软密封闸阀改用球墨铸铁,此种情形已可大幅度减少。
2、耐腐蚀,软密封闸阀阀体采用粉沫环氧树脂涂装,可防止阀体的腐蚀与生锈,并可用于污水系统。
3、整体包胶,软密封闸阀阀板采用高品质的橡胶进行整体内,外包胶,国内一流的橡胶硫化技术使得硫化后的阀板能够保证精确的几何尺寸,且橡胶与球墨铸铁闸板连接牢靠,不易脱落及弹性记忆佳。
4、平底式阀座,传统的闸阀往往在通水洗管后即因外物诸如石头,木块,水泥,纸屑,杂物等淤积于阀底凹槽内。容易造成无法关闭紧密而形成漏水现象,软密封闸阀低部采用与水管相同的平底设计,不易造成杂物淤积,使流体通畅无阻。
5、三“O”型密封圈,由于阀杆采用三“O”型环密封圈设计。可减少开关时的摩擦阻力,大幅减少漏水现象及可以不停水施工更换密封圈。
6、有助生饮,由于阀体内部以无毒性环氧树脂涂装,闸阀的内外表面均以橡胶完全包覆而不至于出现锈水或腐蚀现象,可供生饮。
7、精铸阀体,阀体采用精密铸造,精确的几何尺寸使得阀体内部无需任何精加工即可保证阀门的密封性。
8、重量轻,本体采用球墨铸造制成,重量较传统闸阀重量减轻约百分之二十到百分之三十,方便维修方便。

Z45X暗杆软密封闸阀使用特点
1、流动阻力小。阀体内部介质通道是直通的,介质成直线流动,流动阻力小。
2、启闭时较省力。是与截止阀相比而言,因为无论是开或闭,闸板运动方向均与介质流动方 向相垂直。
3、高度大,启闭时间长。闸板的启闭行程较大,降是通过螺杆进行的。
4、水锤现象不易产生。原因是关闭时间长。
5、介质可向两侧任意方向流动,易于安装。闸阀通道两侧是对称的。
6、结构长度(系壳体两连接端面之间的距离)较小。
7、形体简单 , 结构长度短,制造工艺性好,适用范围广。
本发明为实现上述目的,软密封闸阀,包括盆体和接水盒,在所述盆体的底部铺设一层过滤网,所述过滤网下方设置接水盒,所述接水盒通过盆体底部的渗水孔与盆体相通,在所述接水盒的一侧安装抽水机,另一侧设置注水管,所述抽水机通过导管与盆体上方边缘的空心环形管连通,所述空心环形管的内侧面底部设置有漏水孔,在盆体的一侧设置导管支架,所述抽水机上通过导线连接有插头,所述导管支架外侧设置有控制开关。

Z45X暗杆软密封闸阀零件材料
零件名称
材料
阀盖
球墨铸铁+黄铜
阀体
球墨铸铁
闸板
球墨铸铁+EPDM
阀杆
不锈钢
阀杆螺母
黄铜
填料
EPDM
内六角螺母
碳钢
垫片
EPDM
五 Z45X暗杆软密封闸阀主要技术参数
◆公称压力:1.0-1.6MPa
◆公称通经:40-400mm
◆工作温度:0~80℃
◆法兰标准:EN1092-2 PN10/PN16
◆试验标准:EN1074-1 and 2 /EN12266
◆适用介质:清水、或物化性质类似于水的介质
◆驱动方式:手动
◆符合标准:BS5163
公称尺寸
DN40~DN400
适用介质
清水、或物化性质类似于水的介质
(污水、原水、热水、油类介质请注明)
工作温度℃
0-70(标准配置)0-100(热水配置)
公称压力
PN10
PN16
工作压力(MPa)
≤1.00
≤1.60
强度试验(MPa)
1.50
2.40
密封试验(MPa)
1.10
1.76
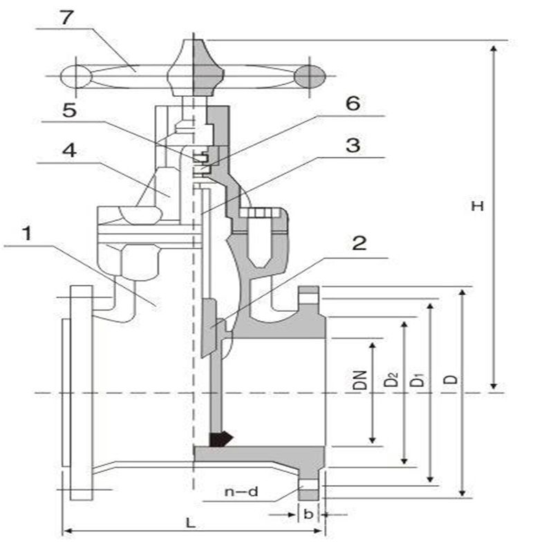
六 Z45X暗杆软密封闸阀结构图:
Size
L
D
C
B
n-d
b
f
H
DN50
178
165
125
99
4-19
19
3
280
DN65
190
185
145
119
4-19
19
3
305
DN80
203
200
160
133
4-19
8-19
19
3
350
DN100
229
220
180
154
8-19
19
3
390
DN125
254
250
210
184
8-19
19
3
470
DN150
267
285
240
210
8-23
19
3
525
DN200
292
340
295
265
8-23
12-23
20
3
630
DN250
330
405
350
355
319
12-23
12-28
22
3
780
DN300
356
460
400
410
370
12-23
12-28
24.5
4
870
DN400
406
580
515
525
480
16-28
16-32
28
4
1200

由于采用以上技术方案,本发明在阀杆方头上安装了一扭力限制器,扭力限制器当超载或机械故障而导致所需扭矩超过设定值时,它以打滑的形式限制传动系统所传动的扭矩,当过载情形消失后自行恢复连接,这样在手轮(电动、气动、液动、执行器或其他可控机构)与阀杆之间安装一扭力限制器,扭矩可通过扭力限制器传递到阀杆,扭力限制器可设定一合适且恒定的扭矩值,这样经过扭力限制器传递到阀杆转化到橡胶闸板的推力便可恒定,橡胶闸板的变形就可合理控制,不仅有效保证了阀门的密封,而且延长了使用寿命;阀瓣上的橡胶密封件为一层包裹在阀瓣边缘的橡胶套圈,阀瓣在加工时直接将橡胶套圈套上即可,这样降低了阀瓣的加工成本,而且方便更换时取下橡胶套圈。

Z45X暗杆软密封闸阀安装与维护
1、 安装:
(1) 安装前须检查产品型号、位号及规格是否吻合,检查整机零件是否缺损与松动。
(2) 在安装前,对管道应进行清洗,阀门入口处要有足够的直管段,并配有过滤器。阀体与管道的法兰连接,要注意同轴度。
(3) 切断阀安装前,应先彻底清洗管道。
(4) 安装场地应考虑到人员设备的安全,既便于操作,又有利于拆装与维护。
(5) 阀门应正立垂直安装在水平管道上,不得已时可倾斜安装,尽量避免水平安装,阀自重量较大或有振动的场合,要用支撑架。
(6) 介质流动方向应与阀体上的箭头指向一致。气源应干燥、无油。阀门应在环境温度-20~55℃场所使用。

2、 维护:
(1) 清洗阀门:对清洗一般介质,只要用水洗净就可以。但对清洗有害健康的介质,首先要了解其性质,再选用相应的清洗办法。
(2) 阀门的拆卸:将外露表面生锈的零件先除锈,但在除锈前,要保护好阀座、阀芯、阀杆与推杆等精密零件的加工表面。拆装阀座时应使用专用工具。
(3) 阀座:密封面有较小的锈斑与磨损,可用机械加工的方法进行,如损坏严重必须换新。但不管修理或更换后的硬密封面,都必须进行研磨。
(4) 阀杆:表面损坏,只能换新。
(5) 推杆、导向与密封表面的损坏:对反作用执行机构必须换新,而对正作用执行机构,可用适当的修理后使用。
(6) 压缩弹簧:如有裂纹等影响强度的缺陷,必须换新。
(7) 易损零件:填料、密封垫片与O型圈,每次检修时,全部换新。阀芯、膜片必须检查是否有预示将来可能发生的裂纹、老化与腐蚀痕迹,根据检查结果,决定是否更换,但膜片使用期一般多2-3年。
(8) 阀门组装要注意对中,螺栓要在对角线上拧紧,滑动部分要加润滑油。组装后应按产品出厂测试项目与方法调试,并在这期间,可准确地调整填料压紧力、阀芯关闭位置。

以上所述仅为本发明示意性的具体实施方式,并非用以限定本发明的范围。任何本领域的技术人员,在不脱离本发明的构思和原则的前提下所作出的等同变化与修改,均应属于本发明保护的范围。
软密封闸阀,其特征在于:包括阀体和设置在阀体导槽内的阀瓣,阀瓣的边缘套有一圈橡胶套圈,阀杆的下端贯穿橡胶套圈并与阀瓣转动连接,阀体上覆盖有阀盖,阀杆上端设置有螺纹,且贯穿阀盖上的尼龙套,阀杆顶端位于尼龙套外侧,且插在扭力限制器内圈中,并与扭力限制器内圈固定连接,扭力限制器的外圈设置有与其固定连接的手轮。

订货须知:
一、①产品名称与型号②口径③是否带附件以便我们的为您正确选型④的使用压力⑤的使用介质的温度。
二、若已经由设计单位选定公司的型号,请按型号直接向我司销售部订购。三、当使用的场合非常重要或环境比较复杂时,请您尽量提供设计图纸和详细参数,由我们的阀门公司专家为您审核把关。如有疑问:请:我们一定会尽心尽力为您提供优质的服务。提供全面、*的“阀门系统解决方案",也十分愿意帮助用户解决生产中所遇到的难题。
-
联系方式
- 联系人:申弘阀门
- 电 话:021-59260058
- 手 机:15901754341
- 传 真:86-021-31662735
- 邮 箱:494522509@qq.com
- 邮 编:201718
- 地 址:上海市青浦区金泽工业园区
- 网 址: https://bengye.cn.goepe.com/
http://www.021-fm.com
-
产品搜索





