-
Z45X国标软密封闸阀申弘
详细信息| 询价留言Z45X国标软密封闸阀产品说明
本实用新型涉及一种软密封闸阀,属于阀门技术领域。本发明公开了一种软密封闸阀,包括阀体和设置在阀体导槽内的阀瓣,阀瓣的边缘套有一圈橡胶套圈,阀杆的下端贯穿橡胶套圈并与阀瓣转动连接,阀体上覆盖有阀盖,阀杆上端设置有螺纹,且贯穿阀盖上的尼龙套,阀杆顶端位于尼龙套外侧,且插在扭力限制器内圈中,并与扭力限制器内圈固定连接,扭力限制器的外圈设置有与其固定连接的手轮。本发明经过扭力限制器传递到阀杆转化到橡胶闸板的推力便可恒定,橡胶闸板的变形就可合理控制,不仅有效保证了阀门的密封,而且延长了使用寿命;阀瓣上的橡胶密封件为一层包裹在阀瓣边缘的橡胶套圈,阀瓣在加工时直接将橡胶套圈套上即可,这样降低了阀瓣的加工成本,而且方便更换时取下橡胶套圈。

背景技术:
软密封闸阀,是一种工业用阀,软密封闸阀的启闭件是闸板,闸板的运动方向与流体方向相垂直,闸阀只能作全开和全关 , 不能作调节和节流。闸板有两个密封面 , *常用的模式闸板阀的两个密封面形成楔形、楔形角随阀门参数而异 , 通常为 50。现有的软密封闸阀中,手轮与阀杆配合连接,结合恶劣的工作环境,其结合处往往会出现腐蚀而导致无法转动,经常需要更换阀杆,浪费时间和成本。
Z45X国标软密封闸阀结构特点:
一、平底式阀座:
传统的不锈钢闸阀往往在通水洗管后即因外物诸如石头、木块、水泥、纸屑、杂物等淤泥积于阀底凹槽内,容易造成无法关闭紧密而形成漏水现象,软密封闸阀底部采用与水管相同的平底设计,不易造成杂物淤积,使流体通畅无阻。
二、整体包胶:
阀门采用高品质的橡胶进行整体内,外包胶,国内一流的橡胶硫化技术使得硫化后的阀门能够保证精确的几何尺寸,且橡胶与球墨铸铁阀门接着牢靠,不易脱落及弹性记忆佳。
三、耐腐蚀:
阀体采用粉体环氧树脂涂装,可防止阀体的腐蚀及生锈。并可用于污水系统。不易碎裂以往传统铸铁闸阀常因外物击中、碰撞或重叠而造成断裂等现象。由于本体改用球墨铸铁,此种情形已可大幅度减少。
四、三“O”型:
由于阀杆采用三“O”型环密封圈设计。可减少开关时的摩擦阻力,大幅减少漏水现象及可以不停水施工更换密封圈。
五、有助生饮:
由于阀体内部以无毒性环氧树脂涂装,闸阀的内外表面均以橡胶完全包覆而不至于出现锈水或腐蚀现象,可供生饮。
六、精铸阀体:
阀体采用精密铸造,精确的几何尺寸使得阀体北部无需任何精加工即可保证阀门的密封性。
七、重量轻:
本体采用球墨铸造制成,重量较传统闸阀重量减轻约百分之二十到百分之三十,方便维修方便。
Z45X国标软密封闸阀技术实现要素:
针对上述现有技术存在的问题,本实用新型提供一种软密封闸阀,结构简单,确保密封性,节约维修时间,降低成本。为了实现上述目的,本实用新型包括手轮、阀杆、阀体和安装在阀体两侧的对接法兰;手轮下端焊接有对接杆,对接杆的下端与与阀杆上端铰接,并通过紧固件固定。
进一步,对接杆的下端与阀杆上端的外表面涂有一层防腐蚀漆。
进一步,紧固件使用六角螺栓。
进一步,紧固件使用销轴。
进一步,手轮的结构为一体成型。
对比现有技术,本实用新型的手轮为一体成型,通过下方焊接的对接杆与阀杆铰接,在因腐蚀等情况需要维修更换时,无需更换阀杆,从而节约了维修时间,降低了成本。

Z45X国标软密封闸阀主要性能规范参数
参数 类型 公称通径 (mm) 40~350(1-1/2″~ 14″) 公称压力 (MPa) 1.0~1.6 壳体试验压力 (MPa) 公称压力 x1.5 密封试验压力 (MPa) 公称压力 x1.1 外表喷涂 环氧聚酯涂料、尼龙 11 驱动形式 手轮、电动 工作温度 -10℃~120℃ 适用介质 水、海水、污水、油品、纸浆等 Z45X国标软密封闸阀采标目录
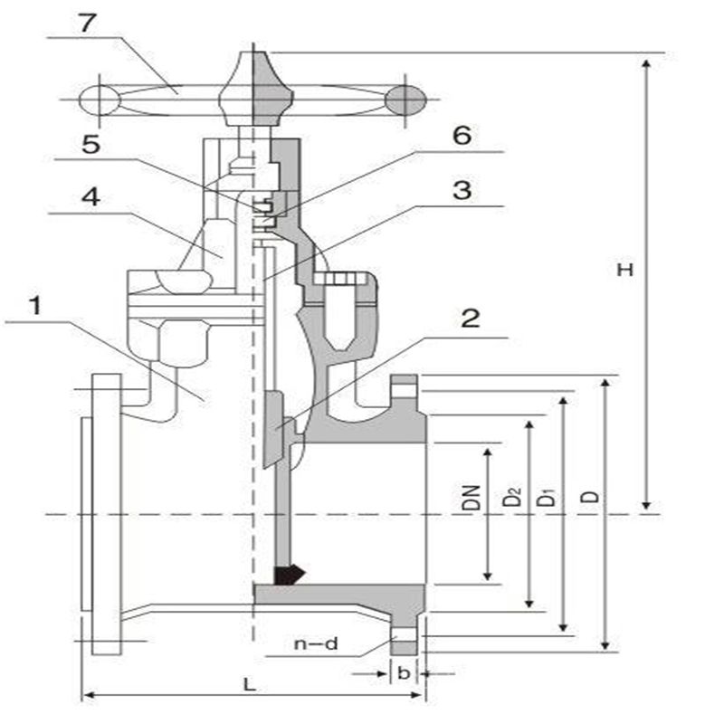
项目名称 采用标准 可选标准 设计制造验收 DIN 3352 —— 阀门结构长度 GB/T 12221-1989 ISO 5752:88 阀门法兰连接 GB/T 9113.3-1988 ISO 57005.2 阀门检验和试验 GB/T JB/T9092-1999 阀门供货要求 GB/T 12252 —— 阀门标志 GB/T 12220-1989 IS0 5209:87 序号 零 件 名 称 材 料 1 阀体 球墨铸铁 /灰铸铁 2 包橡胶闸板 EPDM/NBR;球铁芯 3 阀杆螺母 铝青铜合金 4 阀杆 不锈钢
5 阀盖垫圈 EPDM/NBR 6 内六角螺栓 碳素钢 7 阀盖 球墨铸铁 /灰铸铁 8 O型密封圈 EPDM/NBR 9 压盖螺栓 不锈钢 10 卡块 铝青铜合金 11 压盖垫圈 EPDM/NBR 12 压盖 球墨铸铁 /灰铸铁 13 橡胶封帽 EPDM/NBR 14 垫片 不锈钢 15 六角螺母 不锈钢 16 手轮 碳素钢 /球墨铸铁 Z45X国标软密封闸阀主要外形尺寸
公称通径
外形尺寸和连接尺寸
L
D
D1
D2
b-f
Z-d
地下闸阀A
地下闸阀A
H
D0
Z45X/RVCX-10 SZ45X/RVHX-10
40
165
145
110
85
18-3
4-18
65
32
300
180
50
180
160
125
100
20-3
4-18
65
32
345
180
65
195
180
145
120
20-3
4-18
65
32
376
180
80
210
196
160
135
22-3
4-18
65
32
417
200
100
230
215
180
155
22-3
8-18
65
32
460
200
125
255
245
210
185
24-3
8-18
65
32
525
240
150
280
280
240
210
24-3
8-23
65
32
567
240
200
330
335
295
265
26-3
8-23
65
32
705
320
250
380
390
350
320
28-3
12-23
65
32
800
320
300
420
440
400
368
28-4
12-23
65
32
886
400
350
450
500
460
428
30-4
16-23
70
48
968
400
400
480
565
515
482
32-4
16-25
70
48
1090
500
450
510
615
565
532
32-4
20-25
70
48
1175
500
500
540
670
620
585
34-4
20-25
70
48
1414
720
600
600
780
725
685
36-5
20-30
70
48
1593
720
对比现有技术,本实用新型的手轮为一体成型,通过下方焊接的对接杆与阀杆铰接,在因腐蚀等情况需要维修更换时,无需更换阀杆,从而节约了维修时间,降低了成本。本实用新型公开一种软密封闸阀,包括手轮、阀杆、阀体和安装在阀体两侧的对接法兰;手轮下端焊接有对接杆,对接杆的下端与阀杆上端铰接,并通过紧固件固定。对比现有技术,本实用新型的手轮为一体成型,通过下方焊接的对接杆与阀杆铰接,在因腐蚀等情况需要维修更换时,无需更换阀杆,从而节约了维修时间,降低了成本。

排除方法:
1软密封闸阀填料处渗漏
(1)填料压盖太松,可均匀地将压紧填料压盖用的螺母旋紧。
(2)填料圈数不够,应增加填料。
(3)填料由于使用过久或保存不当失效,应更换新填料,更换时须注意各圈间的接头应交叉错开1200。

2软密封闸阀闸板和阀座密封面间
(1)密封面间夹有污物,可冲洗消除之。
(2)密封面如有损伤,应重新研磨,必要时可重新堆焊及加工,研磨的密封面必须平整,其粗糙度不得低于0.4。
3软密封闸阀阀体和阀盖连接处渗漏螺母拧得不紧或松紧不均匀,可重新调整之。
(1)法兰密封面上有损伤(直的沟纹或槽痕等)应进行修正。
(2)垫片损坏,应更换新垫片。
4软密封闸阀阀杆传动不灵活
(1)填料压得过紧,应适当拧松填料压盖上的螺母。
(2)填料压盖位置不正,使阀杆卡住,应均匀地拧动填料压盖上的螺母,使压盖恢复正常位置。
订货须知:
一、①产品名称与型号②口径③是否带附件以便我们的为您正确选型④的使用压力⑤的使用介质的温度。
二、若已经由设计单位选定公司的型号,请按型号直接向我司销售部订购。三、当使用的场合非常重要或环境比较复杂时,请您尽量提供设计图纸和详细参数,由我们的阀门公司专家为您审核把关。如有疑问:请:我们一定会尽心尽力为您提供优质的服务。提供全面、*的“阀门系统解决方案",也十分愿意帮助用户解决生产中所遇到的难题。
-
联系方式
- 联系人:申弘阀门
- 电 话:021-59260058
- 手 机:15901754341
- 传 真:86-021-31662735
- 邮 箱:494522509@qq.com
- 邮 编:201718
- 地 址:上海市青浦区金泽工业园区
- 网 址: https://bengye.cn.goepe.com/
http://www.021-fm.com
-
产品搜索









