-
Z85X沟槽式暗杆软密封闸阀申弘
详细信息| 询价留言Z85X沟槽式暗杆软密封闸阀产品说明
本实用新型涉及阀门技术领域,特别是涉及一种软密封闸阀。暗杆沟槽闸阀是引进欧洲橡胶及阀门制造技术生产的,克服了橡胶老化及生锈等缺陷。该阀利用弹性闸板产生微量弹性变形的补偿作用达到的密封效果,该阀具有开关轻巧、密封、弹性记忆佳及使用寿命长等显着优点。

暗杆沟槽闸阀的特点:
平底式阀座:一般闸阀往往在通水冲洗管过后即因外物诸如水泥块、铁屑等杂物淤积于阀门底凹槽内,容易造成无法关闭紧密而形成漏水现象,弹性座封闸阀底部采用与管道相同的平底设计,不易造成杂物淤积,使流体无阻。
精铸阀体:阀体采用铸造,的几何尺寸使得阀体内部无需任何时候加工即可阀门的密封性。
阀板包胶:阀板采用的橡胶进行了整体内外包胶,欧洲的橡胶硫化技术使得硫化后的阀板能够的几何尺寸,且橡胶与球墨铸铁阀板接着牢靠,不易脱落及弹性记忆佳。
“O”型环密封圈:由于阀杆与阀盖采用三道“O”型环密封圈密封设计,可减少开关时的摩擦阻力,大幅度减少漏水现象及可以不停管路内介质流动进行了换密封圈。
有助生饮:由于阀体内部以性环氧树脂涂装,阀板的内外表面均以橡胶披覆而不至于出现铁水或腐蚀现象,可供生饮。
省力装置:DN450-600mm,可另行加装省力装置,所需扭力约为正常的1/2,仅需一只小手轮,在有压力情况下,即可操作全开或全关,该省力装置于每动作一次,需先将阀门全开后恢复省力功能。
将闸板挂胶的弹性座密封闸阀的出现克服了一般闸阀密封不良,生锈等缺陷,弹性座密封闸阀利用弹性闸板产生微量弹性变形的补偿作用可实现良好的密封效果,并具有开关轻巧、密封可靠、弹性记忆佳及使用寿命长等显著优点。可作为截流装置广泛用于自来水、污水、建筑、石油、化工、食品、医药、轻纺、电力、船舶、冶金、能源系统等管路上。
但是,现在市场上大部分弹性座密封(软密封)闸阀大部分都存在闸板关闭时密封面与阀体通径边缘相重合的情况,在管道上压后,阀门处于常闭的情况下,由于经常受到介质的压力,压力推动着闸板向前,但阀体又阻碍闸板向前推动,阀体通径边缘与管道压力就形成了一把剪刀,在剪切力作用下就会导致闸板密封面断裂,进而导致二次污染或阀门渗漏。
Z85X沟槽式暗杆软密封闸阀发明内容
本实用新型的目的是针对现有技术中存在的技术缺陷,而提供一种可有效防止闸阀闸板密封面损伤的闸阀。为实现本实用新型的目的所采用的技术方案是沟槽暗杆软密封闸阀克服了一般闸阀密封性差,弹性疲乏,易生锈等缺陷。是传统闸阀的换代产品,利用弹性闸板产生微量变形的补偿作用,达到良好的密封效果,该阀具有开关轻巧,密封,弹性记忆佳及使用寿命长等显著优点,
一种软密封闸阀,包括阀体和挂胶楔形闸板,其特征在于,阀体通径两侧形成有V 形闸板滑槽,设置在V形闸板滑槽内可引导所述的挂胶楔形闸板上下移动的导向筋;所述的挂胶楔形闸板包括板体,形成在板体两侧并与所述的导向筋对应的槽口以及形成在板体表面上的楔形密封,所述的楔形密封在闸阀闭合时全部位于闸板滑槽内侧。与现有技术相比,本实用新型的有益效果是
本实用新型的闸板在密封时,闸板的密封面与阀体的通径有一定的距离,所有楔形密封面都已经将阀体的闸板滑槽内,所以在管道中闸板的受力情况是这样的,管道压力挤压着闸板,闸板密封面又对阀体楔面密封面相加压,闸板整个密封面都与闸板滑槽的侧壁接触,没有菱角也不会出现剪刀情况,从而保护了闸板的楔形密封面。
近年来,随着人民生活水平的逐渐提高,国内相关规范对管道管材的质量要求越来越严,有关部门对软密封闸阀管道管材技术的发展非常重视,并投入大量的资金进行开发和研究。规范指出:软密封闸阀给水系统所采用的管材,应符合现行产品标准的要求。正确选择管道管材对于系统的正常运行及水质的达标有深远的意义。例如,水中碳酸作用所引起的结垢,过氧化理论下形成的铁锈对管道的腐蚀,还有生物性堵塞等情况,都是选择管道管材的重要影响因素。

目前软密封闸阀给水管网中所用的管道材料种类较多,但是在一定的应用环境与条件下有其*佳选择,如果选择得当,将会带来好的技术经济效果,工程技术人员对此应该引起足够的重视和注意。
筛选给水管道管材的条件:
具备一定的抗外载荷能力;能承受所需内压;长期输水后,内壁仍然光滑,能继续保持很好的输水能力;与水接触后不会发生反应并产生有毒有害物质;耐腐蚀,使用寿命长;可就地取材,造价低;安装方便,维修简单。
但由于多方面的原因,在实际工程中,给水管材一直难以完全达到上述要求。给水管道基本上以选用金属材料管道为主。因此,常有管道腐蚀结垢、堵塞的现象,管内的水质卫生状况也缺乏有效的监督保障。

Z85X沟槽式暗杆软密封闸阀主要技术参数
公称压力:1.0~2.5Mpa
工作温度:0~80℃
法兰标准:GB/T 17241.6 GB9113
公称通经:50~1200mm
适用介质:水、油、气等
试验标准:GB13927 AP1598
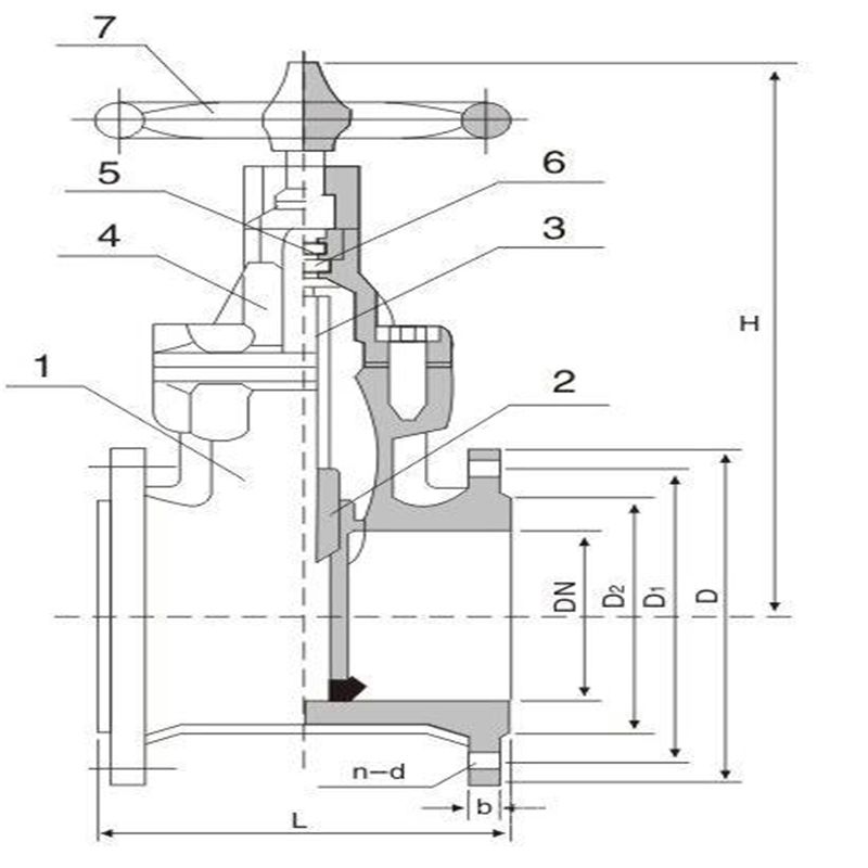
Z85X沟槽式暗杆软密封闸阀主要零部件材料
名称
材料
阀体
灰铸铁、球墨铸铁、铸钢
闸板
球墨铸铁外覆三元乙丙或丁腈橡胶
内六角螺栓
碳化处理
密封圈
丁腈橡胶
阀盖
灰铸铁、球墨铸铁、铸钢
阀杆
不锈钢
“O” 形密封圈
丁腈橡胶
止推轴承
锡青铜
螺栓
不锈钢
压盖
球墨铸铁、铸钢
防尘罩
丁腈橡胶
手轮(传动帽)
可锻铸铁
Z85X沟槽式暗杆软密封闸阀主要外形连接尺寸
DN 50 65 80 100 125 150 200 250 300 350 400 450 500 600 L 178 190 203 229 254 267 292 330 356 381 406 432 457 508 HA 313 332 372 424 497 562 680 837 948 1010 1220 1280 1480 1665 HC 355 375 415 476 540 600 720 875 990 1050 1245 1310 1560 175 软密封闸阀给水管道中腐蚀程度地加深,必将导致供水水质受到污染。因此,目前迫切需要用新的管材(涂层)去装备新铺管线以及更新已有管线。现广泛使用的管材中,金属管材环氧树脂涂衬球墨铸铁管和塑料管PE管是表现比较良好的,另外,不锈钢管是值得大力推广的。加强对给水管道的管理,及时解决管内腐蚀问题,才可以有效改善供水水质并延长管道的使用寿命。

1、给水设备管理
沟槽闸阀给水设备的质量对于给水管道后期的使用水平和年限具有非常大的影响,管材本身存在缺陷,如裂缝或者是蜂窝麻面等问题的管材更容易受到破坏,包括在施工过程中及后期的使用过程中,因此在初期的材料的选择上需要严格加强对产品质量的检验,所采取的管材必须具备符合标准的产品检验合格证以及相关的承重承压标准的认定书,并且在运输过程中需要将管材给予充分的保护,包括底部的垫护以及为了避免碰撞而进行的固定,在施工之前对所需的材料进行检测,防止在运输过程中被损坏的管材接入系统中。
施工时,对接入水管的承接口进行处理,接口处存在的污物或者铸瘤痕迹会导致管道接合不严,在水管安装之前需要对其进行处理以保持接口部位的平整。完成部分水管的安装进行压力测试时需要将所有的敞口进行封闭,逐个进行检查以保证管道的密封性,在升压过程中分级升压检查给水管道的各个部分,确保每一部分管道的试压无异常现象发生。

2、给水设备安装流程控制
沟槽闸阀给水设备安装的重点在于管道的安装,通过了对施工现场所采用的材料质量的检测之后,进行管道的铺设:进行施工工具的准备,施工工具包括各种类型的需要接入的管道,密封材料,吊运工具设备以及润滑剂等,通过提前对各类设备进行控制能够有效控制施工时间,这样可以减少施工过程中对管道的二次破坏。
施工材料准备完成之后,对挖掘好的槽沟进行测量和承受的地基的水平,以保证水管在放入之后保证水平稳定。对水管接口处进行处理,清除污物之后进行润滑处理保证接入过程中能够减少阻力防止管道发生破裂。
完成准备工作之后将符合标准的橡胶圈套入,严格按照从下到上的顺序进行安装,插口向下游用力,承口向上用力的原则。
交叉施工过程中可能存在部分管道未能够及时清理的状况,在每次施工之前和结束之后需要对管道进行排查,清理管道中的杂物保证管道的疏通,这不仅能减少施工后期的难题而且可以有效避免管道内的杂物对管道内壁造成摩擦损伤。
沟槽闸阀管道安装完成后及试压检测完成之后,需要对施工的路段进行回填。回填过程中利用双填法进行填埋可以有效减少井室周围经常发生的沉陷问题。施工完成后对井室周围的填充材料加入9%的灰土进行回填,利用人工进行底部的夯实和推土机进行顶部的夯实。
安装完成后进行验收的管理是对整个施工结果的评估和分析,目前的市政给水管广泛存在着管道老化锈蚀、水管的直径过小以及水压不足等问题,在进行旧管道拆除和新的输水管的建设过程中需要考虑到整个给水系统的压力平衡和水量等问题,通过协调各个方面保证市政给水管道的稳定。施工完成后,对于施工现场存在的剩余的材料进行回收管理,保证施工处的地面的恢复,对于清除出来的石块等杂物交由市政道路等部门进行合理的处理,清理好施工现场。

订货须知:
一、①产品名称与型号②口径③是否带附件以便我们的为您正确选型④的使用压力⑤的使用介质的温度。
二、若已经由设计单位选定公司的型号,请按型号直接向我司销售部订购。三、当使用的场合非常重要或环境比较复杂时,请您尽量提供设计图纸和详细参数,由我们的阀门公司专家为您审核把关。如有疑问:请:我们一定会尽心尽力为您提供优质的服务。提供全面、*的“阀门系统解决方案",也十分愿意帮助用户解决生产中所遇到的难题。
-
联系方式
- 联系人:申弘阀门
- 电 话:021-59260058
- 手 机:15901754341
- 传 真:86-021-31662735
- 邮 箱:494522509@qq.com
- 邮 编:201718
- 地 址:上海市青浦区金泽工业园区
- 网 址: https://bengye.cn.goepe.com/
http://www.021-fm.com
-
产品搜索






