-
SZ45X信号软密封闸阀申弘
详细信息| 询价留言SZ45X信号软密封闸阀 产品说明
信号软密封闸阀的闸板随阀杆一起作直线运动的,叫升降杆闸阀 ( 亦叫明杆闸阀)。通常在升降杆上 有梯形螺纹,通过阀门顶端的螺母以及阀体上的导槽,将旋转运动变为直线运动 , 也就是将操作转矩变为操作推力。信号闸阀是在普通供水闸阀上加装信号装置,主要应用于消防管路系统,能够监控供水管路,信号闸阀就是有信号输出至消防控制室,以便显示阀门的状态,其目的是为了防止因误操作而造成配水管道断水的故障。信号闸阀适用温度≤80℃,
信号软密封闸阀具有安装、简易、重量轻、操作灵活、维修方便等到优点。良好密封性,又具备与管件连接所希求的性。沟槽式软密封闸阀可广泛应用于给排水、消防、石油、化工、医药、钢铁等管路上作为截断或调节之用。
SZ45X信号软密封闸阀产品特点:
1、信号软密封闸阀设计新颖、合理、结构,重量轻,启闭。
2、其操力矩小,操作方便,省力灵巧。
3、可以任何位置安装,维修方便。
4、密封件可以换,密封性能达到双向密封零泄漏。
5、信号软密封闸阀的密封材料、耐弱腐蚀,使用寿命长
本发明为克服上述现有技术所述的至少一种缺陷(不足),提供一种消防信号弹性座封闸阀。为解决上述技术问题,本实用新型提出了一种明杆闸阀阀杆O型圈密封结构,包括阀体、阀盖、阀杆,所述阀盖位于所述阀体上,所述阀杆从所述阀盖伸向所述阀体内,所述阀体与所述阀杆之间设有隔环,所述隔环两端分别填充有石墨填料,所述隔环两端设有填料垫环;所述隔环内侧和外侧分别设有若干内陷位,所述内陷位内设有O形圈。
优选的,所述阀体侧边设有注塑阀,所述注塑阀指向所述隔环,并压于所述隔环上。
本实用新型提出的明杆闸阀阀杆O型圈密封结构有以下有益效果:O形圈密封结构比唇形填料具有更好的密封效果,保证石墨仅有少许的压缩,和隔环,O型圈一起起到导向阀杆的作用;而因为此处的石墨不是为了完全密封,所有压缩量较小,减小了阀门的扭矩,新型O形圈填料密封结构有更好的密封可靠性,同时扭矩也大大降低。

对实施例的多种修改对本领域的*技术人员来说将是显而易见的,本文中所定义的一般原理可以在不脱离本实用新型的精神或范围的情况下,在其它实施例中实现。因此,本实用新型将不会被限制于本文所示的这些实施例,而是要符合与本文所公开的原理和新颖特点相一致的*宽的范围。
为解决上述技术问题,本发明的技术方案如下:
一种消防信号弹性座封闸阀,包括阀体,在阀体上阀盖,还包括:远程控制装置、传动装置、密封装置与报警装置,所述远程控制装置一端与报警装置连接,另一端与传动装置连接,所述密封装置固定在传动装置上,并与阀盖接触连接,该装置计新颖,能解决弹性座封闸阀间压力自动平衡的问题,也解决软密封材料受磨擦而损坏密封面的问题,由于该闸阀的密封装置可换,大大的增长阀门的使用时间。

进一步的,所述密封装置包括环形密封圈、防尘密封圈与闸板密封圈,所述环形密封圈一端与防尘密封圈连接,另一端与闸板密封圈连接,采用三道o型环密封,大大减少了开关时的磨擦阻力,开关轻巧不漏水。
更进一步的,所述远程控制装置包括监控开关、电机转轴与齿轮组件,所述电机转轴一端与监控开关连接,另一端与齿轮组件连接,监控开关能根据当前通过的流量,向电机发出指令,控制阀门的开启大小,实现智能控制的目的。
进一步的,所述监控开关上还设有信号指示灯,当流量过大时,指示灯会亮起,提醒使用者注意险情。
更进一步的,所述传动装置包括压盖、蝴蝶板机构与阀杆,所述阀杆一端与压盖连接,另一端与蝴蝶板连接。传动装置上还设有开向、关向两个微动开关,分别在阀门全开和关闭时动作,接通控制室“阀开”“阀关”指示灯源,使之准确显示阀门开关状态。
更进一步的,所述阀盖上还设有旋转装置。
进一步的,所述旋转装置和包括转动手轮和移动电机,所述移动电机安装在转动手轮下方,既可实现人工紧急操作,也能实现远程自动化控制,提高装置适用性,转动手轮材质为不锈钢,即使长时间使用并与水接触也能避免遭受腐蚀,大大提高耐用度。
更进一步的,所述阀体上还设有压力显示表,方便操作者实时监察装置的压力值。
更进一步的,所述阀体下方还设有排污口,方便装置排出污染物。
进一步的,所述报警装置包括扬声器与压力传感机构,所述压力传感机构与扬声器电连接。带有报警装置,能*时间提醒使用者注意突发状况的发生。
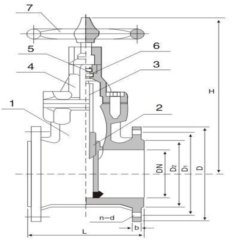
SZ45X信号软密封闸阀主要零部件材料
零件名称 材质
传动帽
球墨铸铁、铸钢
手轮
可锻铸铁
防尘罩
塑料
密封圈
丁腈橡胶、三元乙丙
止推轴承
锡青铜
阀盖
灰铸铁、球墨铸铁、铸钢
螺栓
碳钢、不锈钢
阀体
灰铸铁、球墨铸铁、铸钢
铜螺母
锡青铜
阀杆
不锈钢
阀瓣
球墨铸铁+三元乙丙或丁腈橡胶
三、主要技术参数
公称压力:1.0~2.5MPa
公称通经:50~400mm
工作温度:0~80℃
适用介质:水、油、汽等
法兰标准:GB/T 17241.6 GB9113
试验标准:GB13927 AP1598
四、SZ45X信号软密封闸阀主要连接外型尺寸 单位:mm
DN50
65
80
100
125
150
200
250
300
350
400
L
181
191
205
234
255
265
295
335
365
381
406
H
370
408
452
510
566
630
765
927
1048
1110
1320

信号软密封闸阀的启闭件是闸板,闸板的运动方向与流体方向相垂直,闸阀只能作全开和全关 , 不能作调节和节流。可用于控制空气、水、蒸汽、各种腐蚀性介质、泥浆、油品、液态金属和放射性介质等各种类型流体的流动。闸板有两个密封面 , *常用的模式闸板阀的两个密封面形成楔形、楔形角随阀门参数而异 , 通常为 50, 介质温度不高时为 2°52' 。楔式闸阀的闸板可以做成一个整体,叫做刚性闸板;也可以做成能产生微量变形的闸板 , 以改善其工艺性 , 弥补密封面角度在加工过程中产生的偏差 , 这种闸板叫做弹性闸板。信号软密封闸阀一般是水平安装。

闸阀作为一种控制管路通断的阀门,因为流阻小,密封性能好等优点,广泛的应用于各个领域。但现在市场上使用*多的明杆闸阀常用的密封方式为石墨填料密封和唇形密封填料,石墨结构要达到密封对于填料本身压缩量和紧固螺栓扭矩的要求较高,并且采用此种阀杆密封结构的阀门扭矩较大,而唇形密封填料则在使用过程中容易发生阀杆偏移和泄露等情况,影响阀门的使用寿命和密封可靠性。

SZ45X信号软密封闸阀安装与维护
1、手轮、手柄及传动机构均不允许作起吊用,并严禁碰撞。
2、双闸板闸阀应垂直安装(即阀杆处于垂直位置 , 手轮在顶部 )。
3、带有旁通阀的闸阀在开启前应先打开旁通阀(以平衡进出口的压差及减小开启力 )4、带传动机构的闸阀,按产品使用说明书的规定安装。
5、如果阀门经常开关使用 , 每月至少润滑一次。
普通供水闸阀阀体上加设电信号装置,电信号装置为全封闭精密机电盒式结构,盒内采用不锈机件及进口电气元件,装置设于操作手轮下方不易被碰撞的阀体压盖上。内设微动开关及其推动机构,以齿轮与固定在阀杆上的齿轮啮合传动,当转动手轮启闭闸阀的同时,信号装置便输出对应闸阀启闭位置的“通”、“断”电信号。

订货须知:
一、①产品名称与型号②口径③是否带附件以便我们的为您正确选型④的使用压力⑤的使用介质的温度。
二、若已经由设计单位选定公司的型号,请按型号直接向我司销售部订购。三、当使用的场合非常重要或环境比较复杂时,请您尽量提供设计图纸和详细参数,由我们的阀门公司专家为您审核把关。如有疑问:请:我们一定会尽心尽力为您提供优质的服务。提供全面、*的“阀门系统解决方案",也十分愿意帮助用户解决生产中所遇到的难题。
-
联系方式
- 联系人:申弘阀门
- 电 话:021-59260058
- 手 机:15901754341
- 传 真:86-021-31662735
- 邮 箱:494522509@qq.com
- 邮 编:201718
- 地 址:上海市青浦区金泽工业园区
- 网 址: https://bengye.cn.goepe.com/
http://www.021-fm.com
-
产品搜索







