-
Z45F46暗杆全衬四氟闸阀申弘
详细信息| 询价留言Z45F46暗杆全衬四氟闸阀产品说明
本实用新型的目的是为了解决现有技术中结构较为复杂,在使用的过程中容易出现卡死的情况,闸板不耐腐蚀,使用寿命较短,在使用时会影响介质的流动的问题,而提出的衬氟暗杆闸阀。为了实现上述目的,本实用新型采用了如下技术方案: 闸阀是一种*带见的启闭阀门,利用两侧面密封呈楔状的闸板来接通或截断管路中介质,楔式闸阀不允许微量开启在管路中作节流装置用,以免因高速流动的介质冲蚀而加快密封面的损坏。FEP(F46)、PCTFE(F3)衬氟闸阀适用在-50℃~150℃的各种浓度的王水、硫酸、盐酸、氢氟酸和各种有机酸、强酸、强氧化剂,FEP还适用于各种浓度的强碱有机溶剂以及其它腐蚀性气体、液体介质的管路上使用。

一、Z45F46暗杆全衬四氟闸阀的特点
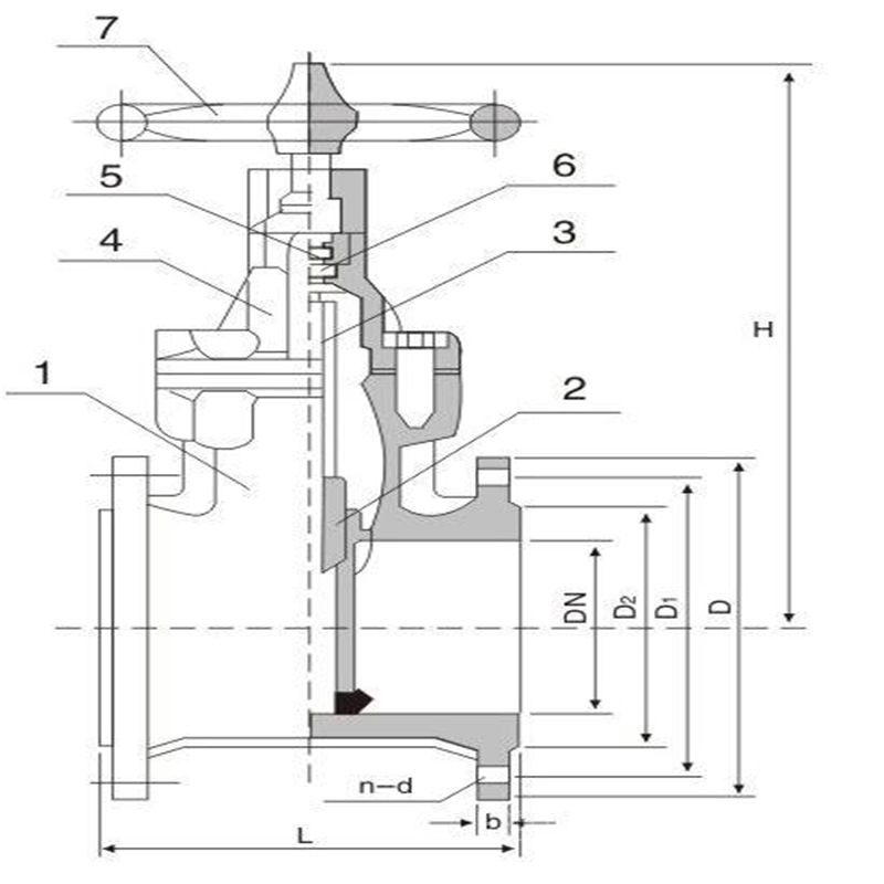
1.阀体有扁体和圆体两种形状:GB阀门采用圆体,ANSI磅级阀门DN≤300Lb采用扁体,DN≥400Lb采用圆体,阀体、阀盖的内腔和闸板、阀杆外表面等直接与介质接触的部件,全部名衬FEP(F46)等氟塑料;
2.密封副为FPF(F46)/ FEP(F46)或其它材料组合,摩擦系数小,启闭力矩低;
3.填料采用PTFE(F4)标准填料,密封性能好,维修更换方便;
4.带有弹性的闸板,可补偿闸板密封面与阀座密封面之间楔角偏差,吻合度好,密封效果理想;
5.介质可从两侧任意方向通过闸阀,适用于介质方向可能改变的管路上作用启闭装置。
衬氟暗杆闸阀,包括阀体,所述阀体的上端通过螺栓固定连接有阀盖,所述阀体内竖直滑动连接有闸板,所述阀盖的上方设有手轮,所述手轮的下方固定连接有阀杆,所述阀杆的下端固定连接有阀杆螺母,且阀杆螺母转动连接在阀盖上,所述闸板与阀杆螺母连接,所述阀盖内设有填料,且填料设置在阀杆螺母的下端。
优选地,所述闸板的上端固定连接有螺杆,且螺杆远离闸板的一端延伸至阀盖内,所述螺杆的上端与阀杆螺母螺纹连接。
优选地,所述阀杆上套设有并紧螺母,且并紧螺母设置在阀盖的上端,所述并紧螺母的下端设有对开圆环,且对开圆环套设在阀杆上。
优选地,所述阀盖设有填料压盖,且填料压盖设置在阀杆螺母的下端并套设在阀杆上,所述填料压盖的下端贴合在填料的上端。
优选地,所述闸板楔形设置。
优选地,所述手轮上套设有防滑橡胶套。
本实用新型具备以下优点:
1、通过设置闸板为楔形,流体阻力小,密封面受介质的冲刷和侵蚀小,保证了密封的可靠性和可调节性。
2、通过设置闸板为整体衬里,螺杆设在闸板内部,杜绝了因颗粒、纤维状介质沉积在螺杆槽内而引起的操作不便或卡死现象。
序号 零件名称 灰铸铁 铸钢 不锈耐酸铸钢 超低碳不锈耐酸铸阀 Z C P R PL RL 1 阀体/端盖/闸板 HT250 WCB CF8 CF8M CF3 CF3M 2 阀杆 1Cr13 2Cr13 1Cr18Ni9 1Cr18Ni12Mo2Ti 00Cr18Ni10 00Cr17Ni14Mo2 3 衬里/阀座 PTFE(F4)、PCTFE(F3)、FEP(F46)、PFA(可溶性4) 4 填料/压盖 WCB CF8 CF8M CF3 CF3M 5 填料 PTFE(F4) PTFE(F4) PTFE(F4) 6 活节螺栓 35 1Cr17Ni2 1Cr17Ni2 7 阀杆螺母 ZCuAI10Fe3 ZCuAI10Fe3 ZCuAI10Fe3 8 紧固螺母 45 1Cr17Ni2 1Cr18Ni9Ti 9 螺母 0Cr18Ni9 0Cr18Ni9 10 手轮 WCB WCB WCB Z45F46暗杆全衬四氟闸阀主要外型和连接尺寸
公称通径 标准值 参考值 DN(mm) NPS(inch) L D D1 D2 f b Z-Фd W D0 H WT(Kg) PN0.6MPa 15 1/2 130 80 55 40 2 12 4-Ф12 100 100 120 5 20 3/4 150 90 65 50 2 14 4-Ф12 100 120 140 6 25 1 160 100 75 60 2 14 4-Ф12 120 130 150 7 32 11/4 180 120 90 70 2 16 4-Ф14 120 156 185 10 40 11/2 240 130 100 80 3 16 4-Ф14 160 165 205 18 50 2 250 140 110 90 3 16 4-Ф14 160 350 400 25 65 21/2 270 160 130 110 3 16 4-Ф14 180 370 435 30 80 3 280 185 150 125 3 18 4-Ф18 180 430 510 43 100 4 300 205 170 145 3 18 4-Ф18 220 495 595 58 125 5 325 235 200 175 3 20 8-Ф18 220 610 735 100 150 6 350 260 225 200 3 20 8-Ф18 240 670 820 115 200 8 400 315 280 255 3 22 8-Ф18 240 815 1015 145 250 10 450 370 335 310 3 24 12-Ф18 240 965 1215 230 300 12 500 435 395 362 4 24 12-Ф23 280 1140 1440 335 350 14 550 485 445 412 4 26 12-Ф23 280 1275 1625 540 400 16 600 535 495 462 4 28 16-Ф23 320 1445 1845 670 450 18 650 590 550 518 4 28 16-Ф23 320 1530 1980 780 500 20 700 640 600 568 4 30 16-Ф23 360 1725 2225 850 综上所述,本实用新型结构稳定,设计科学合理,生产周期短,形体简单,结构长度短,阀杆为暗杆,开关时阀杆高度不变,节省安装空间;介质流向不受限制,不扰流、不降低压力,阀前阀后压差不变。

订货须知:
一、①产品名称与型号②口径③是否带附件以便我们的为您正确选型④的使用压力⑤的使用介质的温度。
二、若已经由设计单位选定公司的型号,请按型号直接向我司销售部订购。三、当使用的场合非常重要或环境比较复杂时,请您尽量提供设计图纸和详细参数,由我们的阀门公司专家为您审核把关。如有疑问:请:我们一定会尽心尽力为您提供优质的服务。提供全面、*的“阀门系统解决方案",也十分愿意帮助用户解决生产中所遇到的难题。
-
联系方式
- 联系人:申弘阀门
- 电 话:021-59260058
- 手 机:15901754341
- 传 真:86-021-31662735
- 邮 箱:494522509@qq.com
- 邮 编:201718
- 地 址:上海市青浦区金泽工业园区
- 网 址: https://bengye.cn.goepe.com/
http://www.021-fm.com
-
产品搜索








