-     
KZ944WF电动撑开式平板闸阀申弘
详细信息| 询价留言KZ944WF电动撑开式平板闸阀 产品说明
本实用新型的目的在于,提供一种密封补偿、使用寿命长的膨胀式双闸板平板闸阀。上述结构利用*闸板和第二闸板的曲面或斜面的拼接,并通过闸板锁臂进行活动连接,那么当*闸板下压的时候,利用曲面或斜面就能挤压第二闸板,使闸板挤压两侧的密封材料,即使密封材料有磨损,由于两闸板之间的作用,就能实现密封力的补偿,可以使闸板保持长时间的稳定密封,从使闸阀的使用寿命延长。本实用新型属于阀门领域,特别涉及一种闸阀。适用于天然气开采和净化的长输管线。

KZ944WF电动撑开式平板闸阀的特点:
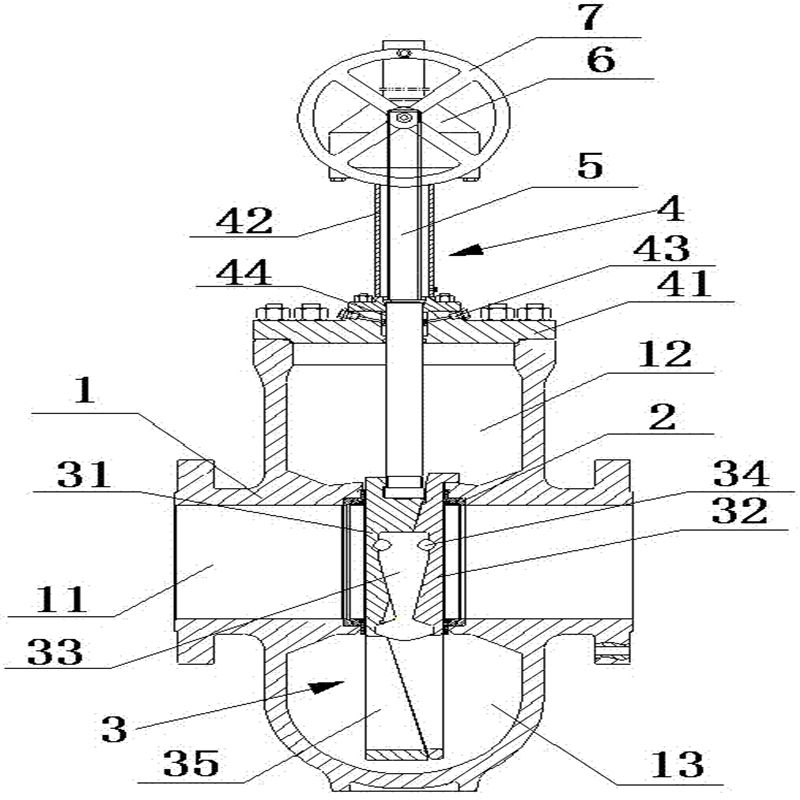
1.阀座的密封结构应为弹性有预紧力,上、下游密封座同时密封的结构。阀座与密封物间始终为面对面密封。
2.阀座有自清洗功能,并且在阀门开启或关闭过程中不受气流的直接冲刷。阀座应由有润滑、不磨损材料制成。
3.阀门执行机构的故障不会影响到阀门的其它部分,维修和更换工作能够在不拆下阀门的情况下进行。
(1) 轭架套管–铝青铜轭架套管配置针形止推轴承,*大程度减少操作扭矩。
(2) 阀杆–螺纹长度直到托架;销钉和点焊;具有稳定性。
(3) 压力密封–结构简单,配置分段扣环和镀银低碳钢垫圈,有助于拆卸和实现*好的阀帽密封。
(4) 阀座环–焊接阀座环垂直于流动通道,易于维护。
(5) 执行机构–这些阀门可以配置电动、液动或气动执行机构。DN300以下配置标准手动手轮,DN350以上配置斜齿轮操作机构。
(6) 轭架–完全装配式轭架通过抗震测试,易于维护和安装执行机构。
(7) 压盖–两件式,自调节压盖,避免被弹出。
(8) 整体后座–硬面,使用寿命*长。
(9) 阀瓣–弹簧负载阀瓣能够自行调节,减少执行机构的扭矩需求。
(10) 整体止动–整体铸造托架止动装置,定位组装的托架阀瓣,使得阀座更加稳定可靠。

本实用新型公开了一种撑开式电动楔式闸阀,包括楔式闸阀主体,控制盒内的一侧设有控制电箱,控制电箱内设有电源模块,控制主板以及无线模块,电源模块与控制主板电连接,控制主板与无线模块电连接,无线模块无线连接有总控制中心,控制盒的另一侧设有伸缩杆固定盒,伸缩杆固定盒内设有伸缩杆控制器,以及倒扣的电动伸缩杆,控制盒的底部设有*固定座,电动伸缩杆的底部设有连接块,连接块的底部设有密封板,密封板的外圆周设有密封垫,通水管道位于密封板处外圆周设有密封槽,阀门关闭时密封板插接在密封槽内且与密封槽紧密贴合,通水管道位于*固定座以下圆周上设有第二固定座,结构简单,操作方便,值得推广使用.
现有的双闸板闸阀一般采用上下两个挡板,对闸板进行上下限位,两个闸板安装在十字型的闸板架上,阀杆和闸板架采用螺纹连接,由阀杆带动闸板架使闸板启闭动作。其主要缺点是闸板安装零件多,结构复杂,装配麻烦,体积大,需要阀体具有较大的中腔直径较,在使用过程中易造成闸板脱落,工作稳定性差。
本实用新型的目的是针对现有技术存在的缺点,提供一种体积小、闸板工作稳定性好的新型双闸板闸阀。

KZ944WF电动撑开式平板闸阀执行标准
设计规范 结构长度 连接法兰 试验与检验 压力-温度 产品标识 JB/T5298 JB/T5298 JB/79 JB/T5298 GB9131 GB/T12220 API6D API6D ANSI-16.5 API6D ANSI B16.34 MSS SP-25 KZ944WF电动撑开式平板闸阀性能规范
等级 常温下试验压力(MPa) 适用温度℃ 适用介质 壳体 左密封 左密封 低压密封 “G”型 “D”型 普通型 “抗硫”型 “基本”型 公称压力PN(MPa) 1.6 2.4 1.76 1.76 0.6 -29~50 -45~21 -2~121 H2S和CO2总含量大于500mg/m2的介质 石油天然气、水等 2.5 3.75 2.75 2.75 0.6 4 6 4.4 4.4 0.6 6.4 9.6 7.04 7.04 0.6 磅级Lb 150 3 2.2 2.2 0.6 300 7.7 5.6 5.6 0.6 KZ944WF电动撑开式平板闸阀主要材质零件
序号No. 零件名称 材料Material Accessory name 普通型Ordinary type 抗硫型Antisulphur type GB ASTM GB ASTM 1 排污堵头Blowdown stops 25+Zn A105+Zn 1Crl8Ni9 A276-304 2 阀体Body WCB A216-WCB WCB A216-WCB 3 副闸板Disc 16Mn+STL-6 A105+STL-6 1Crl8N19+STL-6 A276-304+STL-6 4 主闸板Disc 16Mn+STL-6 A105+STL-6 1Crl8N19+STL-6 A276-304+STL-6 5 阀座Seat 16Mn+STL-6 A105+STL-6 1Crl8N19+STL-6 A276-304+STL-6 6 弹簧Spring 65Mn InconelX-750 1Crl8Ni9 A276-304 7 阀杆Stem 2Cr13 A276-420 1Crl8Ni9 A276-304 8 填料座Packing seat 2Cr13 A276-420 2Cr13 A276-420 9 填料Packing 柔性石墨Graphite 柔性石墨Graphite 柔性石墨Graphite 柔性石墨Graphite 10 上填料Up Packing 2Cr13 A276-420 2Cr13 A276-420 11 指示杆Indicating stem 1Crl8Ni9 A276-304 1Crl8Ni9 A276-304 12 垫片Gasket 柔性石墨+1Crl8Ni9 柔性石墨+304 柔性石墨+1Crl8Ni9 柔性石墨+304 Graphite+1Crl8Ni9 Graphite+304 Graphlte+1Crl8Ni9 Graphite+304 13 阀盖Bonnet WCB A216-WCB WCB A216-WCB 14 螺柱Stud 35CrMoA A193-B7 35CrMoA A193-B7 15 螺母Nut 45 A194-2H 45 A194-2H 16 泄压阀Relief valve 45 A105 45 1045 A105 17 支架Yoke WCB A216-WCB WCB A216-WCB 18 阀杆螺母Stem nut ZQAl9-4 C95500 ZQAl9-4 C95500 19 压盖Gland 25 A105 25 A105 20 手轮Hand wheel 25 A536-60-40-18 25 A536-60-40-18 21 指示罩Indicating cover 1Crl8Ni9 A276-304 1Crl8Ni9 
KZ944WF电动撑开式平板闸阀主要外形及连接尺寸1.6MPa DN L D D1 D2 Do f b H n-Φd 凸面法兰 
RF
Z44WF-16C
Z544WF-16C
Z644WF-16C
Z944WF-16C50 178 160 125 100 250 3 16 584 4-Φ18 65 190 180 145 120 250 3 18 634 4-Φ18 80 203 195 160 135 250 3 20 688 8-Φ18 100 229 215 181 155 300 3 20 863 8-Φ18 125 254 245 210 185 350 3 22 940 8-Φ18 150 267 280 240 210 350 3 24 1030 8-Φ23 200 292 335 295 265 350 3 26 1277 12-Φ23 250 330 405 355 320 400 3 30 1491 12-Φ25 300 356 460 410 375 450 4 30 1701 12-Φ25 350 381 520 470 435 500 4 34 1875 16-Φ30 400 406 580 525 485 305 4 36 2180 16-Φ30 450 432 640 585 545 305 4 40 2440 20-Φ34 500 457 705 650 608 305 4 44 2860 20-Φ41 600 508 840 770 718 305 5 48 3450 20-Φ41 700 610 910 840 788 305 5 50 3960 24-Φ41 800 660 1020 950 898 305 5 52 4550 24-Φ41 900 711 1120 1050 998 250 5 54 5250 28-Φ48 1000 811 1250 1170 1110 250 5 56 5870 28-Φ18 2.5MPa 50 178 160 125 100 250 3 20 584 4-Φ18 凸面法法 
RF
(K)Z44WF-25
(K)Z544WF-25
(K)Z644WF-25
(K)Z944WF-2565 190 180 145 120 300 3 22 634 8-Φ18 80 203 195 160 135 350 3 22, 388 8-Φ18 100 229 230 190 160 350 3 24 863 8-Φ23 125 254 270 220 188, 350 3 28 940 8-Φ25 150 267 300 250 218 400 3 30 1030 8-Φ25 200 292 360 310 278 450 3 34 1277 12-Φ25 250 330 425 370 332 500 3 36 1491 12-Φ30 300 356 485 430 390 305 4 40 1701 16-Φ30 350 381 550 490 448 305 4 44 1875 16-Φ34 400 406 610 550 505 305 4 48 2180 16-Φ34 450 432 660 600 555 305 4 50 2440 20-Φ34 500 457 730 660 610 305 4 52 2860 20-Φ41 600 508 840 770 718 305 5 56 3450 20-Φ41 700 610 955 875 815 305 5 60 3960 24-Φ48 800 660 1070 990 930 305 5 64 4550 24-Φ48 900 711 1180 1090 1025 - 5 66 5250 28-Φ54 1000 811 1305 1210 1140 - 5 68 5870 28-Φ48 本实用新型的技术方案包括阀体、阀盖、闸板、阀杆,阀体内腔制有与闸板相互配合的密封面,闸板由左闸板和右闸板组成;主要是左闸板和右闸板采用两个半环相扣连接在一起,左闸板和右闸板的两个半环之间制有缺口,该缺口位于阀杆中心线垂直方向,其中一侧闸板上的缺口弧度大于另一侧闸板上的半环弧度;在左闸板和右闸板的上端面沿两闸板结合面方向安装定位块,该定位块由阀杆压装在左闸板和右闸板的上端面。
*好是,在左闸板和右闸板中心设置顶心装置,该顶心装置采用左闸板中心的凹球面与右闸板中心的凸球面顶心相互配合组成。实用新型的优点是左闸板和右闸板采用两个半环相扣连接在一起,连接结构简单,体积小,闸板连接可靠,工作稳定性好。

订货须知:
一、①产品名称与型号②口径③是否带附件以便我们的为您正确选型④的使用压力⑤的使用介质的温度。
二、若已经由设计单位选定公司的型号,请按型号直接向我司销售部订购。三、当使用的场合非常重要或环境比较复杂时,请您尽量提供设计图纸和详细参数,由我们的阀门公司专家为您审核把关。如有疑问:请:我们一定会尽心尽力为您提供优质的服务。提供全面、*的“阀门系统解决方案",也十分愿意帮助用户解决生产中所遇到的难题。
 - 
 
留 言
- 联系人:申弘阀门
 - 电 话:021-59260058
 - 手 机:15901754341
 - 传 真:86-021-31662735
 - 邮 箱:494522509@qq.com
 - 邮 编:201718
 - 地 址:上海市青浦区金泽工业园区
 - 网 址:	      https://bengye.cn.goepe.com/	      	        
http://www.021-fm.com 
- 
产品搜索
 





