-
BZ61H保温焊接式闸阀申弘
详细信息| 询价留言BZ61H保温焊接式闸阀 产品说明
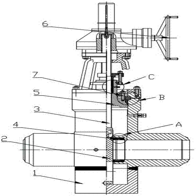
本实用新型公开了一种夹套式保温闸阀,包括阀套和闸阀,所述阀套的内部开设有内腔,且阀套的下方安装有闸阀,所述闸阀与阀套交接处的外表壁焊接有对称分布的两个耳柱,且两个耳柱之间通过螺栓螺纹固定连接,所述闸阀的一侧开设有出水口,且闸阀的另一侧开设有进水口,所述进水口和出水口的中间隔有阀芯,所述阀芯的上端与止水板密封接触,且阀芯的中心处嵌有轴承,所述轴承的中心处活动套有阀杆,所述阀杆与阀芯交接处的外表壁固定有一圈紧固套,且阀杆的穿过阀套和螺套并延伸至螺套外侧;

本实用新型的保温闸阀的外表壁通过螺栓螺纹固定有分体式的夹套,便于组装拆卸,且能有效防止内部流体温度散失,起到有效的保温作用,提高流体的流动速度.种是螺栓型阀盖,通过凹凸面连接,采用不锈钢带与柔性石墨缠绕垫片,按需求也可采用环连接,第二种是焊接型阀盖,通过螺纹密封后焊接,按需求也可直接采用刚性焊接,第三种是自密封阀盖,通过螺纹与自密封阀盖连接。BZ61H保温焊接式闸阀产品特点
1、结构紧凑、设计合理、阀门刚性好、通道流畅,流量系数小
2、密封面采用不锈钢和硬质合金,使用寿命长
3、采用柔性石墨填料、密封可靠,操作轻便灵活
4、驱动方式为手动、气动、电动、齿轮传动
本发明涉及的是一种夹套式保温闸阀,包括阀体和设置在阀体上的阀座,所述阀体管路方向的两端分别设有进,出口,与管道连接,其特征在于,在阀体内有楔形弹性闸板,该阀体与楔形弹性闸板之间设有密封副,在阀体两端的内裆部分,阀体外壁处有阀体夹套,在所述阀体夹套底部和前部分别设有排污口和排放口.本发明在正常的系统工作时,闸板打开,系统中的介质从进口流到出口,但是当较长时间后再重新启动工作时,粘性的介质会阻碍阀门的开关作用,此时将通入蒸汽等热源介质通过阀体与阀体夹套形成的腔体时,在工艺系统中起到加热和保温的作用,避免了介质冷却结晶堵塞阀口以及粘性的介质会阻碍阀门的开关作用,确保了系统的正常运行.

BZ61H保温焊接式闸阀主要性能规范:
压力 /MPa
试验压力 /MPa
代号
壳体材料
强度
密封
C
P
R
V(I)
1.6
2.4
1.76
材料
25或WCB
CF8
304CF3
304LCF8M
316CF3M 316L
WC6
WC9
2.5
3.8
2.75
工作温度
425℃
200℃
200℃
552℃
593℃
4.O
6.
4.4
6.4
9.6
7.4
适用介质
水、汽、
油品等硝酸等腐蚀性介质
强氧化性介质
醋酸等
尿素等
水汽、油品等
10
15
11
BZ61H保温焊接式闸阀主要尺寸:
公称通径 DN(mm)
PN16,25
PN40
PN64,100
D
L
H
Do
D
L
H
Do
D
L
H
Do
50
76
250
355
240
79
250
370
280
79
250
371
280
65
89
265
378
240
90
280
398
280
90
280
293
280
80
110
280
430
280
110
310
456
320
110
310
456
320
100
129
300
500
320
135
350
552
360
138
350
552
360
125
153
325
580
360
164
400
628
400
168
400
628
400
150
189
350
650
360
190
450
709
400
195
450
709
400
200
245
400
736
400
248
550
838
400
260
550
858
450
250
285
450
818
400
290
650
957
450
313
650
1015
560
300
350
500
1080
450
350
750
1118
500
364
750
1330
600
350
410
550
1197
500
410
850
1567
500
422
850
1589
600
400
460
600
1332
600
460
950
1778
500
474
950
1778
600
500
570
700
1500
570
1150
2050
500
576
1150
2050
600

摘要一种防结晶闸阀,包括阀体,所述阀体内设置有内腔通道,并于所述阀体上分别形成有一介质入口端与一介质出口端,于所述内腔通道中设置有闸板;所述阀体的外部包覆有一层保温夹套,于所述保温夹套上设置有一保温接口,在所述保温接口上设有止回阀,且在所述阀体位于介质入口端处开设有复数个小孔。保温气体自保温接口处输入保温夹套内,再经由介质入口端的小孔进入闸阀内腔,当闸阀闭合时在闸阀与输入介质之间形成了一层屏障,避免闸阀与输入介质的接触,从而防止了结晶的产生。

BZ61H保温焊接式闸阀安装维护(1)承插焊的承插口和对焊的坡口加工要正确,应符合有关标准规定。
(2)焊接时要防止铁屑、焊豆侵入配管内,应采用钨极隋性气体保护焊。
(3)焊接时,阀门应处于稍微开启的状态下进行。
(4)应根据阀门及配管材料正确选用焊接材料。使用包剂电焊条时,要检查焊条保管情况,并确认是否采取了适合包剂电焊条品种的干燥处理。
(5)从事电焊操作的人员应符合电焊技工条件。
(6)焊接后要求热处理场合,要检查热处理的时间温度曲线记录。
(7)焊接部位要进行目视检查或非破坏检查,以确认无裂纹、焊瘤、咬边等有害缺陷。

保温闸阀是主要用于石油、化工、冶金、制药等各类系统中,以输送常温下会凝固的高粘度介质。保温闸阀的法兰较普通闸阀的法兰要大一到两个规格,保温夹套焊装于普通闸阀的两法兰之间,阀门的侧面、底部设置有保温夹套的两个连接口,夹套中可自由地流过蒸汽或其它热的保温介质,确保粘稠介质可顺畅地流过阀门。

订货须知:
一、①产品名称与型号②口径③是否带附件以便我们的为您正确选型④的使用压力⑤的使用介质的温度。
二、若已经由设计单位选定公司的型号,请按型号直接向我司销售部订购。三、当使用的场合非常重要或环境比较复杂时,请您尽量提供设计图纸和详细参数,由我们的阀门公司专家为您审核把关。如有疑问:请:我们一定会尽心尽力为您提供优质的服务。提供全面、*的“阀门系统解决方案",也十分愿意帮助用户解决生产中所遇到的难题。
-
联系方式
- 联系人:申弘阀门
- 电 话:021-59260058
- 手 机:15901754341
- 传 真:86-021-31662735
- 邮 箱:494522509@qq.com
- 邮 编:201718
- 地 址:上海市青浦区金泽工业园区
- 网 址: https://bengye.cn.goepe.com/
http://www.021-fm.com
-
产品搜索






